lemon-mirror:
Home >> Mazda >> 2013 >> 5 Touring >> Repair and Diagnosis >> Brakes >> Traction Control >> Abs/Dynamic Stability Control System >> Rear Abs Wheel-Speed Sensor Inspection >> Clearance Inspection

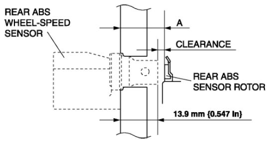
Clearance Inspection

  1. Remove the rear ABS wheel-speed sensor.
  2. Measure the distance between the rear ABS wheel-speed sensor installation surface and the ABS sensor rotor. This is dimension A.
    Fig 1: Measuring Distance Between Rear ABS Wheel-Speed Sensor Installation Surface And ABS Sensor Rotor
    G08150696
  3. Calculate the clearance between the rear ABS wheel-speed sensor and the ABS sensor rotor using the following formula:
    • Clearance (mm {in}) = A -13.9 {0.547}
  4. Verify that the clearance between the ABS sensor rotor and the rear ABS wheel-speed sensor is as indicated below.
    • If there is any malfunction, replace it.

      Clearance 

    • 1.46 mm {0.0575 in} or less