lemon-mirror:
Home >> Mazda >> 2015 >> 3 SV, Automatic Trans >> Repair and Diagnosis >> Maintenance >> Procedures >> General Information >> Repair-Use Connector Replacement Procedure >> Taping Work

Taping Work

  1. Tape the surface of the heat shrinkable tubing.
    CAUTION:
    • Remove moisture, oil, and dust from the area to be taped before doing the taping.
    • Firmly tape the ends so that they do not peel off.
    • Always superimpose the tape while wrapping.
    • Wrap the tape approx. 20 - 30 mm {0.79 - 1.2 in} beyond both ends of the heat shrinkable tubing.
    Fig 1: Identifying Heat Shrinkable Tube Dimension
    G09770875Courtesy of MAZDA MOTORS CORP.
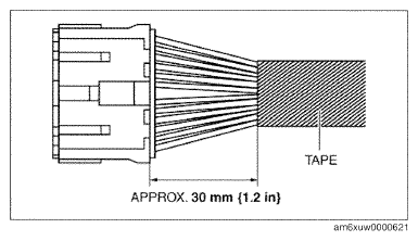
    NOTE:
    • If the wiring harness is bundled and taped, bind it approx. 30 mm {1.2 in}  away from the connector.
    Fig 2: Identifying Connector Wiring Harness Tape Applying Dimension
    G09770876Courtesy of MAZDA MOTORS CORP.