lemon-mirror:
Home >> Mazda >> 2016 >> 6 Touring, Automatic Trans >> Repair and Diagnosis >> Electrical >> Body Electrical >> Power Systems >> Push Button Start Removal/Installation

Push Button Start Removal/Installation

  1. Disconnect the negative battery cable. (See NEGATIVE BATTERY CABLE DISCONNECTION/CONNECTION [SKYACTIV-G 2.5] .)
  2. Remove the following parts:
    1. Upper column cover (See COLUMN COVER REMOVAL/INSTALLATION .)
    2. Meter hood (See METER HOOD REMOVAL/INSTALLATION .)
    3. Passenger-side decoration panel (See DECORATION PANEL REMOVAL/INSTALLATION .)
    4. Audio panel (See AUDIO PANEL REMOVAL/INSTALLATION .)
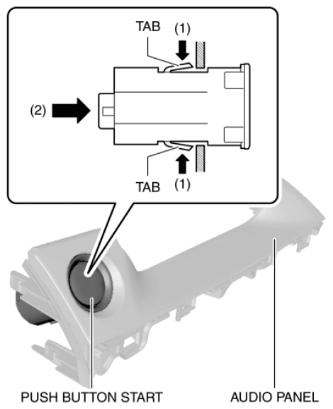
  3. While pressing the push button start tabs in the direction of the arrows (1) shown in the figure, and push out the push button start in the direction of the arrow (2) shown in the figure to detach the push button start tabs from the audio panel.
    Fig 1: Pressing Push Button Start Tabs
    G10988342Courtesy of MAZDA MOTORS CORP.
  4. Remove the push button start.
    Fig 2: Identifying Push Button Start
    G10988343Courtesy of MAZDA MOTORS CORP.
  5. Install in the reverse order of removal.