lemon-mirror:
Home >> Mazda >> 2016 >> 6 Touring, Automatic Trans >> Repair and Diagnosis >> Electrical >> Body Electrical >> Power Systems >> Relay And Fuse Block Middle Cover Disassembly/Assembly

Relay And Fuse Block Middle Cover Disassembly/Assembly

  1. Insert a tape-wrapped flathead screwdriver into the service hole in the position shown in the figure.
    Fig 1: Identifying Relay And Fuse Block Middle Cover, Bracket No. 1 And Service Holes
    G10988315Courtesy of MAZDA MOTORS CORP.
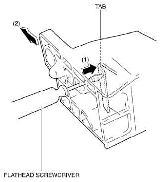
  2. Move the flathead screwdriver in the direction of arrow (1) shown in the figure, and pull out the relay and fuse block bracket No. 1 in the direction of arrow (2) shown in the figure to detach the relay and fuse block middle cover tab from the relay and fuse block bracket No. 1.
    Fig 2: Pulling Out Relay And Fuse Block Bracket No. 1 Using Flathead Screwdriver
    G10988316Courtesy of MAZDA MOTORS CORP.
  3. Detach all the relay and fuse block middle cover tabs from the relay and fuse block bracket No. 1 and remove the relay and fuse block bracket No. 1 from the relay and fuse block middle cover.
  4. Insert a flathead screwdriver into the service hole in the position shown in the figure.
    Fig 3: Identifying Relay And Fuse Block Bracket No. 2, Middle Cover And Service Holes
    G10988317Courtesy of MAZDA MOTORS CORP.
  5. Move the flathead screwdriver in the direction of arrow (1) shown in the figure, and pull out the relay and fuse block bracket No. 2 in the direction of arrow (2) shown in the figure to detach the relay and fuse block middle cover tab from the relay and fuse block bracket No. 2.
    Fig 4: Pulling Out Relay And Fuse Block Bracket No. 2 Using Flathead Screwdriver
    G10988318Courtesy of MAZDA MOTORS CORP.
  6. Remove the relay and fuse block bracket No. 2.
  7. Assemble in the reverse order of disassembly.