lemon-mirror:
Home >> Mazda >> 2016 >> CX-5 Touring, FWD >> Repair and Diagnosis >> Body & Frame >> Windows >> Glass/Windows/Mirrors >> Windshield Installation

Windshield Installation

WARNING:
  • Using a utility knife with bare hands can cause injury. Always wear gloves when using a utility knife.
CAUTION:
  • If a door is opened or closed when all the window glass is closed, the resulting change in air pressure could cause the sealant to crack preventing the proper installation of the windshield. Keep the door glass opened until the windshield installation is completed.
  1. Remove the sealant along the perimeter of the glass using a utility knife. (When reusing the glass)
  2. Clean and degrease an approx. 50 mm {2.0 in}  wide strip along the perimeter of the windshield.
  3. Inspect the glass for cracks. If it is cracked, chamfer it using sandpaper.
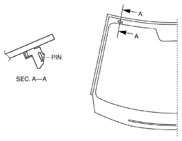
  4. Align the alignment marks made before removal and install the pin to the windshield referring to the figure. (Reusing glass, pin removed)
    Fig 1: Identifying Windshield Pin Section
    G10938405Courtesy of MAZDA MOTORS CORP.
  5. Install the windshield molding.
    Fig 2: Identifying Windshield Molding Section
    G10938406Courtesy of MAZDA MOTORS CORP.
  6. Apply primer to the area of the glass shown in the figure.
    • Follow the primer product instructions for the drying time.
    CAUTION:
    • To prevent weakening of the primer adhesion, keep the bonding surface free of dirt, moisture, and grease. Do not touch the surface with your hand.
    NOTE:
    • Apply primer to the hollowed marks in the ceramic coating.
    Fig 3: Identifying Windshield Molding Primer Applying Area
    G10938407Courtesy of MAZDA MOTORS CORP.
  7. Cut away the old sealant using a utility knife so that 1-2 mm {0.04-0.07 in}  thickness of sealant remains along the perimeter of the frame.
    Fig 4: Cutting Away Sealant Using Utility Knife
    G10938408Courtesy of MAZDA MOTORS CORP.
  8. Clean and degrease along the perimeter of the bonding area on the body.
  9. Apply primer to the area of the body shown in the figure.
    • Follow the primer product instructions for the drying time.
    CAUTION:
    • Using the dowel for applying primer, apply primer to the area shown in the figure.
    Fig 5: Identifying Windshield Molding Primer Applying Area
    G10938409Courtesy of MAZDA MOTORS CORP.
  10. Apply sealant to the area of the glass surface as shown in the figure.
    Fig 6: Identifying Glass Surface Sealant Applying Area
    G10938410Courtesy of MAZDA MOTORS CORP.
  11. Insert the positioning pins to the body and install the windshield.
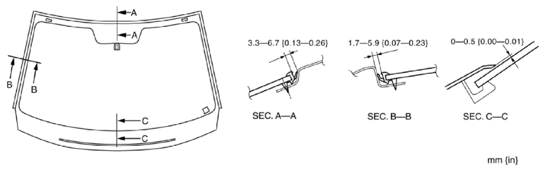
  12. Verify that the clearance between the A-pillar and the roof is within the range shown in the figure, and press along the perimeter of the glass.
    Fig 7: Identifying Clearance Between A-Pillar And Roof
    G10938411Courtesy of MAZDA MOTORS CORP.
  13. Install the headliner.
  14. Install the following parts:
    1. Assist handle (See ASSIST HANDLE REMOVAL/INSTALLATION .)
    2. Front map light (See MAP LIGHT REMOVAL/INSTALLATION .)
    3. Sunvisor (See SUNVISOR REMOVAL/INSTALLATION .)
    4. A-pillar trim (See A-PILLAR TRIM REMOVAL/INSTALLATION .)
    5. Rearview mirror (without auto-dimming mirror) (See REARVIEW MIRROR REMOVAL/INSTALLATION .)
    6. Auto-dimming mirror (with auto-dimming mirror) (See AUTO-DIMMING MIRROR REMOVAL/INSTALLATION .)
    7. Laser sensor (with smart city brake support (SCBS)) (See LASER SENSOR REMOVAL/INSTALLATION .)
    8. Rain sensor (with auto light/wiper system) (See RAIN SENSOR REMOVAL/INSTALLATION .)
    9. Cover (with smart city brake support (SCBS)) (See RAIN SENSOR REMOVAL/INSTALLATION .)
    10. Cowl grille (See COWL GRILLE REMOVAL/INSTALLATION .)
    11. Windshield wiper arm and blade (See WINDSHIELD WIPER ARM AND BLADE REMOVAL/INSTALLATION .)
  15. Connect the negative battery cable. (See NEGATIVE BATTERY CABLE DISCONNECTION/CONNECTION .)
  16. Allow the sealant to harden completely. Reference for sealant hardening time: 24 h
    NOTE:
    • Follow the product instructions for the sealant hardening time.
  17. If the rain sensor is replaced, perform the sensitivity setting procedure for the auto lights. (See RAIN SENSOR REMOVAL/INSTALLATION .)
  18. Perform the forward sensing camera (FSC) aiming in the following cases.(see FORWARD SENSING CAMERA (FSC) AIMING .)
    • Windshield is replaced
    • Windshield is reused and forward sensing camera (FSC) or forward sensing camera (FSC) clips are replaced