lemon-mirror:
Home >> Mazda >> 2016 >> CX-5 Touring, FWD >> Repair and Diagnosis >> Electrical >> Body Electrical >> Power Systems >> Push Button Start Removal/Installation

Push Button Start Removal/Installation

  1. Disconnect the negative battery cable. (See NEGATIVE BATTERY CABLE DISCONNECTION/CONNECTION [SKYACTIV-G 2.0, SKYACTIV-G 2.5] .)
  2. Remove the upper column cover. (See COLUMN COVER REMOVAL/INSTALLATION .)
  3. Remove the switch panel. (See SWITCH PANEL REMOVAL/INSTALLATION .)
  4. Remove the meter hood. (See METER HOOD REMOVAL/INSTALLATION .)
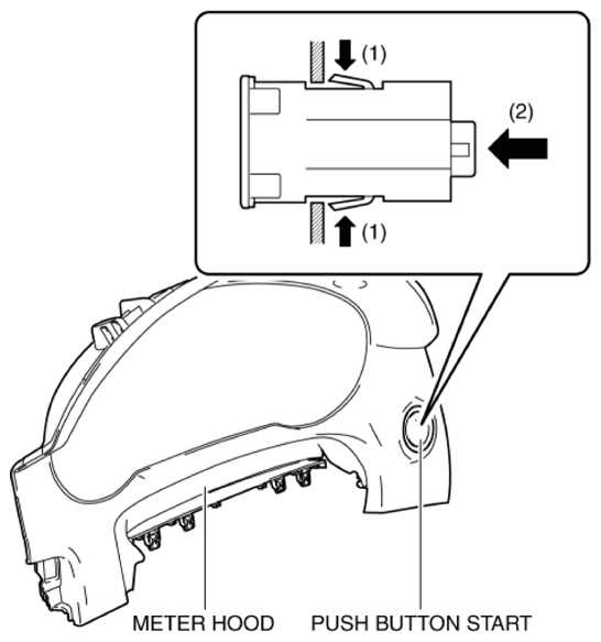
  5. While pressing the push button start tab in the direction of the arrow (1) shown in the figure, push out the push button start in the direction of the arrow (2) shown in the figure to detach the push button start tab from the meter hood.
    Fig 1: Pressing Push Button Start Tabs
    G10939664Courtesy of MAZDA MOTORS CORP.
  6. Remove the push button start.
    Fig 2: Removing Push Button Start
    G10939665Courtesy of MAZDA MOTORS CORP.
  7. Install in the reverse order of removal.

2016 - CX-5 - Body and Accessories