lemon-mirror:
Home >> Mazda >> 2016 >> CX-9 Signature >> Repair and Diagnosis >> Electrical >> Body Electrical >> Power Systems >> USB Power Outlet Removal/Installation

USB Power Outlet Removal/Installation

  1. Disconnect the negative battery terminal. (Refer to NEGATIVE BATTERY TERMINAL DISCONNECTION/CONNECTION .)
  2. Remove the cup holder.
    Fig 1: Identifying Cup Holder And USB Power Outlet
    G10950806Courtesy of MAZDA MOTORS CORP.
  3. Lift up the tray in the direction of the arrow shown in the figure.
    Fig 2: Lifting Up Tray
    G10950807Courtesy of MAZDA MOTORS CORP.
  4. Disconnect the connector.
    Fig 3: Identifying USB Power Outlet And Connector
    G10950808Courtesy of MAZDA MOTORS CORP.
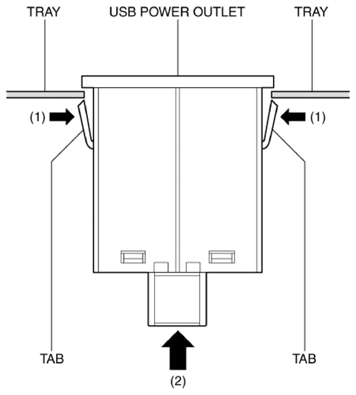
  5. While pressing the tabs of the USB power outlet in the direction of the arrows (1) shown in the figure, press the USB power outlet in the direction of the arrow (2) to detach the tabs of the USB power outlet from the tray.
    Fig 4: Pressing Tabs Of Usb Power Outlet
    G10950809Courtesy of MAZDA MOTORS CORP.
  6. Remove the USB power outlet.
  7. Install in the reverse order of removal.