lemon-mirror:
Home >> Mazda >> 2016 >> CX-9 Signature >> Repair and Diagnosis >> Engine Mechanical >> Mechanical >> Engine Mechanical System >> Engine Disassembly/Assembly >> Notes

Engine Disassembly/Assembly: Notes

Special Service Tool (SST) 

  1. Mazda SST number
  2. Global SST number
  1. 49 UN30 3050
  2. 303-050

Engine lifting bracket
G10946672Courtesy of MAZDA MOTORS CORP.
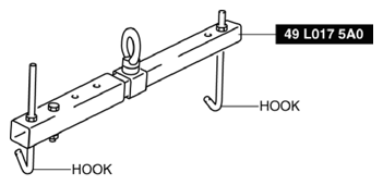
  1. 49 L017 5A0
  2. -

Support hanger
G10946673Courtesy of MAZDA MOTORS CORP.
CAUTION:
  • When the transaxle is installed, do not suspend the engine. Otherwise, the SST installation area of the cylinder head may be damaged due to excess weight. Only suspend the engine after separating the engine and transaxle.
  • Applying excessive force (force of 100 N {10.2 kgf, 22.5 lbf} or more) to the electric variable valve timing motor/driver may cause a malfunction. When servicing, be careful not to apply excessive force to the electric variable valve timing motor/driver using other parts or tools.
  1. To enable to install the SST  , remove the bolts and clip shown in the figure and set the wiring harness bracket aside.
    Fig 1: Identifying Wiring Harness Bracket Bolt With Torque Specifications
    G10946674Courtesy of MAZDA MOTORS CORP.
  2. Install the SST  using part number 99794 1025  or an M10 x 1.25,  length 25 mm {0.98 in}  bolt as shown in the figure.

    Engine front side

    Fig 2: Identifying SST Installation Hole
    G10946675Courtesy of MAZDA MOTORS CORP.
    Fig 3: Identifying Vacuum Pump Bolt
    G10946676Courtesy of MAZDA MOTORS CORP.

    Tightening torque 

    • 38-51 N.m {3.9-5.2 kgf.m, 29-37 ft.lbf}
  3. Engage the hooks of the SST (49 L017 5A0)  to the SST (49 UN30 3050)  .
    Fig 4: Installing SST (49 L017 5A0) To SST (49 UN30 3050) Hooks
    G10946677Courtesy of MAZDA MOTORS CORP.
  4. To ensure the safety of the work (control engine and transaxle sway), set a hoist as shown in the figure.
    Fig 5: Setting Hoist
    G10946678Courtesy of MAZDA MOTORS CORP.
    CAUTION:
    • Do not lift up the engine.
  5. Remove the WU-TWC. (Refer to EXHAUST SYSTEM REMOVAL/INSTALLATION .)
  6. Remove the dynamic pressure turbo. (Refer to DYNAMIC PRESSURE TURBO REMOVAL/INSTALLATION .)
  7. Remove the oil cooler. (Refer to OIL COOLER REMOVAL/INSTALLATION .)
  8. Remove the exhaust manifold. (Refer to EXHAUST SYSTEM REMOVAL/INSTALLATION .)
  9. Remove the starter. (Refer to STARTER REMOVAL/INSTALLATION .)
  10. Fix the drive plate using the crankshaft pulley lock bolt.
  11. Remove the torque converter installation nut from the starter installation hole. (Refer to AUTOMATIC TRANSAXLE REMOVAL/INSTALLATION [GW6A-EL] (2WD).) (Refer to AUTOMATIC TRANSAXLE REMOVAL/INSTALLATION [GW6AX-EL] (AWD).)
  12. Disconnect the engine and transaxle, and lower only the engine from the engine lifter. (Refer to AUTOMATIC TRANSAXLE REMOVAL/INSTALLATION [GW6A-EL] (2WD).) (Refer to AUTOMATIC TRANSAXLE REMOVAL/INSTALLATION [GW6AX-EL] (AWD).)
  13. Remove the generator. (Refer to GENERATOR REMOVAL/INSTALLATION .)
  14. Remove the EGR cooler and EGR valve component. (Refer to EGR COOLER REMOVAL/INSTALLATION .) (Refer to EGR VALVE REMOVAL/INSTALLATION .)
  15. Remove the thermostat. (Refer to THERMOSTAT REMOVAL/INSTALLATION .)
  16. Remove the water pipe component and oil cooler pipe component. (Refer to CYLINDER HEAD GASKET REPLACEMENT .)
  17. Remove the flange and water inlet pipe. (Refer to CYLINDER HEAD GASKET REPLACEMENT .)
  18. Remove the intake-air system. (Refer to INTAKE-AIR SYSTEM REMOVAL/INSTALLATION .)
  19. Remove the oil separator. (Refer to POSITIVE CRANKCASE VENTILATION (PCV) VALVE REMOVAL/INSTALLATION .)
  20. Remove the knock sensor (KS). (Refer to KNOCK SENSOR (KS) REMOVAL/INSTALLATION .)
  21. Remove the fuel injectors. (Refer to FUEL INJECTOR REMOVAL/INSTALLATION .)
  22. Remove the camshaft position (CMP) sensor. (Refer to CAMSHAFT POSITION (CMP) SENSOR REMOVAL/INSTALLATION .)
  23. Remove the vacuum pump. (Refer to VACUUM PUMP REMOVAL/INSTALLATION .)
  24. Remove the high pressure fuel pump and rear housing. (Refer to HIGH PRESSURE FUEL PUMP REMOVAL/INSTALLATION .)
  25. Remove the electric variable valve timing motor/driver. (Refer to ELECTRIC VARIABLE VALVE TIMING MOTOR/DRIVER REMOVAL/INSTALLATION .)
  26. Remove the drive belt auto tensioner. (Refer to DRIVE BELT AUTO TENSIONER REMOVAL/INSTALLATION .)
  27. Remove the oil filter. (Refer to OIL FILTER REPLACEMENT .)
  28. Remove the engine oil solenoid valve. (Refer to ENGINE OIL SOLENOID VALVE REMOVAL/INSTALLATION .)
  29. Remove the crankshaft position (CKP) sensor. (Refer to CRANKSHAFT POSITION (CKP) SENSOR REMOVAL/INSTALLATION .)
  30. Remove the dipstick.
  31. Remove the ignition coil/ion sensors. (Refer to IGNITION COIL/ION SENSOR REMOVAL/INSTALLATION .)
  32. Remove the purge bracket component, vacuum pipe component and air pipe component. (Refer to TIMING CHAIN REMOVAL/INSTALLATION .)
  33. Remove the wiring harness bracket shown in the figure.
    Fig 6: Identifying Wiring Harness Bracket Bolts With Torque Specifications
    G10946679Courtesy of MAZDA MOTORS CORP.
  34. Remove the emission harness.
  35. Remove the water pump drive belt. (Refer to DRIVE BELT REMOVAL/INSTALLATION .)
  36. Remove the water pump component. (Refer to WATER PUMP REMOVAL/INSTALLATION .)
  37. Remove in the order indicated in the table.
  38. Assemble in the reverse order of disassembly.
    Fig 7: Oil Filter Body Components With Torque Specifications
    G10946680Courtesy of MAZDA MOTORS CORP.
    COMPONENT DESCRIPTION

    1 Water outlet component
    2 Insulator
    3 Oil filter body
    (See Oil filter body Installation Note .)