lemon-mirror:
Home >> Mazda >> 2016 >> CX-9 Signature >> Repair and Diagnosis >> Suspension >> Front Suspension System >> Front Stabilizer Installation >> Notes

Front Stabilizer Installation: Notes

CAUTION:
  • Secure the steering wheel using tape or a cable to prevent the steering shaft from rotating after disconnecting the steering shaft. If the steering wheel rotates after the steering shaft and the steering gear and linkage are disconnected, the internal parts of the clock spring could be damaged.
  • Install the front stabilizer being careful for the following so as not to decrease the functionality of the front stabilizer.
    • Do not apply grease to the front stabilizer bushing and front stabilizer contact area.
    • Verify that there is no dirt or oil on the front stabilizer bushing and the front stabilizer.
      • Wipe off any dirt or oil using a clean rag.
  • Do not allow the dust boot of the front stabilizer control link to touch the body, the front shock absorber and coil spring, and the hand tool. Otherwise, the dust boot of the front stabilizer control link could be damaged.
  1. Install the front stabilizer bushing to the front stabilizer with the front stabilizer bushing slit part facing the vehicle rear.
    Fig 1: Identifying Front Stabilizer Bushing Slit
    G10947239Courtesy of MAZDA
  2. While maintaining the deviation in the positions of the front stabilizer bracket and the front stabilizer bushing within the range shown in the figure, install the front stabilizer bracket to the front stabilizer bushing. (Refer to FRONT STABILIZER BRACKET INSTALLATION NOTE .)
    Fig 2: Identifying Front Stabilizer Bushing Angle
    G10947240Courtesy of MAZDA
    • W1 : 0.5 mm {0.02 in} max.
    • W2 : 2 mm {0.08 in} max.
  3. After installing the front stabilizer bracket, verify that the positions of the front stabilizer bracket and the front stabilizer bushing are within the range shown in the figure.
    Fig 3: Identifying Front Stabilizer Bracket Positions
    G10947241Courtesy of MAZDA
    • H1 : 13 mm {0.51 in} max.
    • H2 : 13 mm {0.51 in} max.
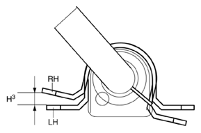
  4. After installing the front stabilizer bracket, verify that the right and left-side positions of the front stabilizer bracket are within the range shown in the figure.
    Fig 4: Identifying Front Stabilizer Bracket Right And Left-Side Positions
    G10947242Courtesy of MAZDA
    • H3 : 6 mm {0.2 in} max.
  5. Place the front stabilizer component on a flat workbench, verify that the position of the front stabilizer end is within the range shown in the figure.
    Fig 5: Placing Front Stabilizer Component On Flat Workbench
    G10947243Courtesy of MAZDA
    • H4 : 13.5-43.5 mm {0.54-1.71 in}
  6. Assemble the front stabilizer component so that the identification mark is on the right side of the vehicle.
    Fig 6: Identifying Front Stabilizer Component Identification Mark
    G10947244Courtesy of MAZDA
  7. Temporarily tighten bolts A and B shown in the figure.
    Fig 7: Identifying Bolts
    G10947245Courtesy of MAZDA
  8. Tighten bolt B.

    Tightening torque 

    • 25-29 N.m {2.6-2.9 kgf.m, 19-21 ft.lbf}
  9. Tighten bolt A.

    Tightening torque 

    • 25-29 N.m {2.6-2.9 kgf.m, 19-21 ft.lbf}
  10. Tighten bolt B.

    Tightening torque 

    • 25-29 N.m {2.6-2.9 kgf.m, 19-21 ft.lbf}
  11. Install the front stabilizer insulator.
    Fig 8: Identifying Front Stabilizer Insulator
    G10947246Courtesy of MAZDA
  12. Install the front crossmember component. (Refer to FRONT CROSSMEMBER REMOVAL/INSTALLATION .)
  13. Install the splash shield. (Refer to FRONT SPLASH SHIELD REMOVAL/INSTALLATION .)
  14. Install the front under cover No. 1. (Refer to FRONT UNDER COVER No. 1 REMOVAL/INSTALLATION .)
  15. Install the front under cover No. 2. (Refer to FRONT UNDER COVER No. 2 REMOVAL/INSTALLATION .)
  16. Install the front stabilizer control link.
    Fig 9: Installing Front Stabilizer Control Link
    G10947247Courtesy of MAZDA
  17. Assemble the front ABS wheel-speed sensor and the wiring harness clip as shown in the figure.
    Fig 10: Assembling Front ABS Wheel-Speed Sensor And Wiring Harness Clip
    G10947248Courtesy of MAZDA
  18. Connect the intermediate shaft to the steering gear and linkage. (Refer to STEERING WHEEL AND COLUMN REMOVAL/INSTALLATION .)
  19. Install the joint cover. (Refer to STEERING WHEEL AND COLUMN REMOVAL/INSTALLATION .)
  20. Install the wheels and tires. (Refer to WHEEL AND TIRE REMOVAL/INSTALLATION .)