lemon-mirror:
Home >> Mazda >> 2017 >> 5 GS, Automatic Trans >> Repair and Diagnosis >> Electrical >> Horns >> Instrumentation/Driver Info >> Instrument Cluster Disassembly/Assembly

Instrument Cluster Disassembly/Assembly

CAUTION:
  • Do not drop the instrument cluster or damage the printed board. Doing so could cause a system malfunction.
  1. When replacing the instrument cluster, always perform the configuration procedure. (See INSTRUMENT CLUSTER CONFIGURATION .)
  2. Disconnect the negative battery cable.
  3. Remove the upper column cover. (See COLUMN COVER REMOVAL/INSTALLATION .)
  4. Remove the instrument cluster. (See INSTRUMENT CLUSTER REMOVAL/INSTALLATION .)
  5. Remove the screws.
    G13728755Courtesy of MAZDA MOTORS CORP.
  6. Remove the screws.
    G13728756Courtesy of MAZDA MOTORS CORP.
  7. Remove the cover.
    G13728757Courtesy of MAZDA MOTORS CORP.
  8. Remove the instrument cluster rubber.
  9. Remove the screws, then remove the clips.
    G13728758Courtesy of MAZDA MOTORS CORP.
  10. Remove the screws, then remove the instrument cluster cover hood.
    G13728759Courtesy of MAZDA MOTORS CORP.
  11. Release the tabs and remove the instrument cluster panel.
    G13728760Courtesy of MAZDA MOTORS CORP.
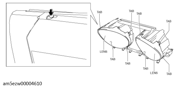
  12. Release the tabs and remove the lenses.
    G13728761Courtesy of MAZDA MOTORS CORP.
  13. Assemble in the reverse order of disassembly.