lemon-mirror:
Home >> Mazda >> 2017 >> CX-9 Signature >> Repair and Diagnosis >> Electrical >> Body Electrical >> Power Systems >> USB Power Outlet Removal/Installation

USB Power Outlet Removal/Installation

  1. Disconnect the negative battery terminal. (See NEGATIVE BATTERY TERMINAL DISCONNECTION/CONNECTION .)
  2. Remove the cup holder.
    Fig 1: Center Armrest, Cup Holder And USB Power Outlet
    G11432450Courtesy of MAZDA MOTORS CORP.
  3. Lift up the tray in the direction of the arrow shown in the figure.
    Fig 2: Lifting Up Tray
    G11432451Courtesy of MAZDA MOTORS CORP.
  4. Disconnect the connector.
    Fig 3: USB Power Outlet And Connector
    G11432452Courtesy of MAZDA MOTORS CORP.
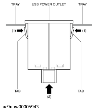
  5. While pressing the tabs of the USB power outlet in the direction of the arrows (1) shown in the figure, press the USB power outlet in the direction of the arrow (2) to detach the tabs of the USB power outlet from the tray.
    Fig 4: Detaching Tabs Of USB Power Outlet From Tray
    G11432453Courtesy of MAZDA MOTORS CORP.
  6. Remove the USB power outlet.
  7. Install in the reverse order of removal.