lemon-mirror:
Home >> Mazda >> 2021 >> CX-3 FWD >> Repair and Diagnosis >> Electrical >> Horns >> Instrumentation/Driver Info >> Instrument Cluster Data Reset Procedure

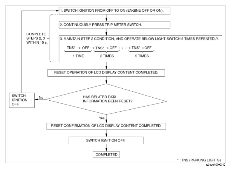
Instrument Cluster Data Reset Procedure

CAUTION:
  • Explain the reset items to the customer for their understanding, and then perform the data reset.

Trip computer-related information 

G13153471Courtesy of MAZDA MOTORS CORP.