lemon-mirror:
Home >> Mazda >> 2023 >> 3 Turbo >> Repair and Diagnosis >> Engine Performance >> Engine Control Systems >> Symptom Troubleshooting - I-Stop >> I-Stop Function Operates Under No Engine-Stop Conditions >> Notes

I-Stop Function Operates Under No Engine-Stop Conditions: Notes

I-STOP FUNCTION OPERATES UNDER NO ENGINE-STOP CONDITIONS (SKYACTIV-G) TROUBLESHOOTING REFERENCE

Troubleshooting item i-stop function operates under no engine-stop conditions
Description
  • i-stop function operates even though system is turned off by pressing i-stop OFF switch.
  • i-stop function operates even though vehicle conditions are for non-operation.
  • i-stop function operates frequently while parking vehicle.
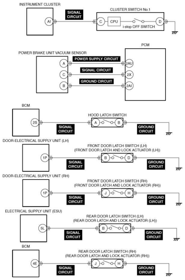
Possible cause i-stop warning light (amber) false illumination 
  • i-stop warning light (amber) illumination circuit malfunction in instrument cluster
  • CAN communication line malfunction between instrument cluster and PCM

False detection of i-stop function operation conditions 
  • Falsely detects that i-stop OFF switch is switched off
    • i-stop OFF switch malfunction
    • Short or open circuit in i-stop OFF switch signal circuit
  • False detection of vehicle not being parked
    • False detection of steering wheel rotation speed
      • Steering angle sensor initialization malfunction
      • EPS control module malfunction
  • False detection of external vehicle temperature within operable range (-10 to 50°C {14 to 122°F})
    • Ambient temperature sensor malfunction (sensor specific malfunction)
    • Short or open circuit in ambient temperature sensor signal circuit
    • Open circuit in ambient temperature sensor ground circuit
  • Falsely detects that vehicle is under safety condition
    • False detection of low power brake unit load (without Mazda M Hybrid)
      • Power brake unit vacuum sensor malfunction
      • Short or open circuit in power brake unit vacuum sensor power supply circuit, signal circuit, or ground circuit
    • False detection of closed hood
      • Hood latch switch malfunction (stuck closed)
      • Short to ground in hood latch switch signal circuit
    • False detection of closed door, trunk lid (4SD)/liftgate (5HB)
      • Door latch switch malfunction
      • Trunk lid latch switch (4SD)/liftgate latch switch (5HB) malfunction
      • Short to ground in door latch switch signal circuit
      • Open circuit in trunk lid latch switch (4SD)/liftgate latch switch (5HB) signal circuit
    • False detection of fastened driver seat belt
      • Driver-side buckle switch malfunction
      • Open circuit in driver-side buckle switch signal circuit
    • False detection of inclination angle (false detection of 7% or less (while vehicle is stopped)/1.1% or less (while driving))
      • Low-G sensor (built-into SAS control module) malfunction (In this case, the SAS control module records DTCs C0061:29 and C0062:29.)
      • Low-G sensor (built-into SAS control module) initialization malfunction (In this case, the SAS control module records DTC U2100:00.)
  • Climate control unit falsely detects that internal vehicle temperature is within operation range.
    • Passenger compartment temperature sensor malfunction (sensor specific or motor malfunction)
    • Short or open circuit in passenger compartment temperature sensor signal circuit
    • Open circuit in passenger compartment temperature sensor ground circuit
  • Falsely detects that climate control unit detects that driver-side air mix door is not in MAX COLD position even though driver-side air mix door is in MAX COLD position.
    • Driver-side air mix actuator malfunction
    • Driver-side air mix actuator position sensor malfunction
    • Driver-side air mix door or linkage stuck
G15735801Courtesy of MAZDA MOTORS CORP.
G15735802Courtesy of MAZDA MOTORS CORP.
G15735803Courtesy of MAZDA MOTORS CORP.
G15735804Courtesy of MAZDA MOTORS CORP.


I-STOP FUNCTION OPERATES UNDER NO ENGINE-STOP CONDITIONS - SKYACTIV-G (US) TROUBLESHOOTING REFERENCE

Troubleshooting item i-stop function operates under no engine-stop conditions
Description
  • i-stop function operates even though system is turned off by pressing i-stop OFF switch.
  • i-stop function operates even though vehicle conditions are for non-operation.
  • i-stop function operates frequently while parking vehicle.
Possible cause i-stop warning light (amber) false illumination 
  • i-stop warning light (amber) illumination circuit malfunction in instrument cluster
  • CAN communication line malfunction between instrument cluster and PCM

False detection of i-stop function operation conditions 
  • Falsely detects that i-stop OFF switch is switched off
    • i-stop OFF switch malfunction
    • Short or open circuit in i-stop OFF switch signal circuit
  • False detection of vehicle not being parked
    • False detection of steering wheel rotation speed
      • Steering angle sensor initialization malfunction
      • EPS control module malfunction
  • False detection of external vehicle temperature within operable range (-10 to 50°C {14 to 122°F})
    • Ambient temperature sensor malfunction (sensor specific malfunction)
    • Short or open circuit in ambient temperature sensor signal circuit
    • Open circuit in ambient temperature sensor ground circuit
  • Falsely detects that vehicle is under safety condition
    • False detection of closed hood
      • Hood latch switch malfunction (stuck closed)
      • Short to ground in hood latch switch signal circuit
    • False detection of closed door, trunk lid
      • Door latch switch malfunction
      • Trunk lid latch switch malfunction
      • Short to ground in door latch switch signal circuit
      • Open circuit in trunk lid latch switch signal circuit
    • False detection of fastened driver seat belt
      • Driver-side buckle switch malfunction
      • Open circuit in driver-side buckle switch signal circuit
    • False detection of inclination angle (false detection of 7% or less (while vehicle is stopped)/1.1% or less (while driving))
      • Low-G sensor (built-into SAS control module) malfunction (In this case, the SAS control module records DTCs C0061:29 and C0062:29.)
      • Low-G sensor (built-into SAS control module) initialization malfunction (In this case, the SAS control module records DTC U2100:00.)
  • Climate control unit falsely detects that internal vehicle temperature is within operation range.
    • Passenger compartment temperature sensor malfunction (sensor specific or motor malfunction)
    • Short or open circuit in passenger compartment temperature sensor signal circuit
    • Open circuit in passenger compartment temperature sensor ground circuit
  • Falsely detects that climate control unit detects that driver-side air mix door is not in MAX COLD position even though driver-side air mix door is in MAX COLD position.
    • Driver-side air mix actuator malfunction
    • Driver-side air mix actuator position sensor malfunction
    • Driver-side air mix door or linkage stuck
G15735815Courtesy of MAZDA MOTORS CORP.
G15735816Courtesy of MAZDA MOTORS CORP.
G15735817Courtesy of MAZDA MOTORS CORP.