lemon-mirror:
Home >> Mercedes Benz >> 1988 >> 190D >> Repair and Diagnosis >> Engine Performance >> System >> Fuel Injection System - Diesel >> Testing >> Airflow Sensor

Airflow Sensor

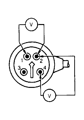
  1. With engine off, disconnect airflow sensor connector. Airflow sensor is located on right front wheelhousing between air cleaner and turbocharger. Connect multimeter and set to ohm scale. Probe and check resistance between terminals No. 2 and 3 of airflow sensor.
  2. Resistance should be 50-200 ohms in idle and 560-1100 ohms at fully open position. If resistance is okay, go to next step. If resistance is not to specification, check airflow sensor plate for dirt and binding. If necessary, replace airflow sensor.
  3. With engine off and ignition on, set multimeter to volts scale. Check voltage at terminals No. 1 and 2 as well as terminals No. 2 and 4 on airflow sensor connector. Voltage reading should be 5 volts. If voltage reading is 5 volts, testing is complete. If voltage reading is not 5 volts, repair open circuit. If no open circuit is found, replace EDS control unit. See Fig 1 .
Fig 1: Airflow Sensor
G62426Courtesy of MERCEDES-BENZ OF NORTH AMERICA.