lemon-mirror:
Home >> Mercedes Benz >> 1998 >> E430 >> Repair and Diagnosis >> Engine Performance >> Ignition System >> Mixture Formation - Basic Knowledge - 210 Chassis (Part 1) >> Basic Knowledge >> Pressure sensor, location/task/design/function - GF07.04-P-5014F

Pressure sensor, location/task/design/function - GF07.04-P-5014F

ENGINE 104.941 /943 /944 /991 /994 as of 1.8.96, 

104.995 with CODE (494a) USA version 

ENGINE 111.944/975 as of 1.8.96, 

111.943 /973 /974 with CODE (494a) USA version 

ENGINE 111.951 /952 /955 /956 /957 /958 /982 /983 

ENGINE 137 

ENGINE 119.980 /981 /982 /985 

with CODE (494a) USA version 

with CODE (923a) low emission D3 

TIWAN ONLYKOREA ONLYas of 12/96 

ENGINE 112 (except 112.96) 

with CODE (494a) USA version 

with CODE (925) low emission EURO3 

with CODE (926) low emission EURO4 

ENGINE 113 (except 113.99) 

with CODE (494a) USA version 

with CODE (925) low emission EURO3 

with CODE (926) low emission EURO4 

with CODE (479) Cylinder shutoff 

ENGINE 112 (except 112.96) as of 1.6.00 

ENGINE 113 (except 113.99) as of 1.6.00 

ENGINE 120.98 with CODE (494a) USA version 

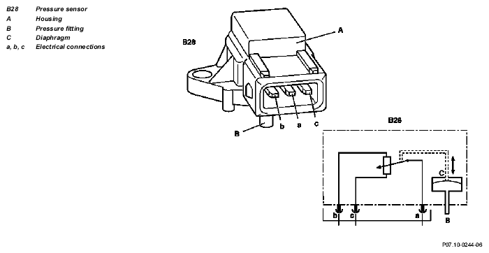
Design 

Fig 1: Identifying Pressure Sensor - Design
G04605875USA ONLYUSA ONLYUSA ONLYUSA ONLYTIWAN ONLYKOREA ONLYUSA ONLYUSA ONLYCourtesy of MERCEDES-BENZ OF NORTH AMERICA.
  Pressure sensor position Engine 104 ME USA ONLY GF07.04-P-5014-01D 
Engine 111 ME USA ONLY GF07.04-P-5014-01GA
Engine 111 EVO EURO3/4 GF07.04-P-5014-01G
Engine 112, 113 EURO3/4 and USA ONLY (except AMG), engine 113.960 with CODE (479) cylinder shutoff GF07.04-P-5014-01A 
Engine 119.98 USA ONLY and low emission D3 (code 923) GF07.04-P-5014-01E 
TIWAN ONLYKOREA ONLY as of 12/96  
Engine 120.98 USA ONLY GF07.04-P-5014-01F
Engine 137 GF07.04-P-5014-01L
  task Detecting the absolute pressure in the intake manifold.
The pressure information is required:
  • Functional chain test OBD and EURO3/4 (e.g. camshaft adjustment, exhaust gas recirculation or USA ONLY leak tightness of evaporative emission control system)
  • ME2.8: altitude detection for start enrichment
  • Engine 113.960 with code 479: testing the cylinder shut-off
 
  Body see Fig.  
  Function The pressure in the intake manifold alters the shape of a diaphragm and the piezo resistors alter their resistance. The output voltage which is influenced in this way serves as information to the control module ME about the pressure in the intake manifold.