lemon-mirror:
Home >> Mercedes Benz >> 2000 >> ML430 >> Repair and Diagnosis >> Transmission >> Automatic Trans >> Automatic Transmission -- 163 Chassis >> Basis Knowledge >> Location/task/function of command valve - GF27.60-P-5138G

Location/task/function of command valve - GF27.60-P-5138G

TRANSMISSION 722.6 

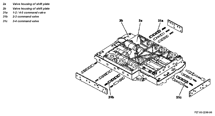
Fig 1: Identifying Command Valve Components
G04606508
  Command valve, location Each shift group possesses one command valve. The 1-2/4-5 command valves (31a) and 2-3 (31b) are installed in the valve housing of the shift plate (2b), the 3-4 command valve (31c) is installed in the valve housing of the shift plate (2a).  
  Command valve, task The command valves switch the shift groups from the stationary phase into the shift phase and back again  
  Command valve, function   GF27.60-P-5138-04G