lemon-mirror:
Home >> Mercedes Benz >> 2004 >> SLK32 >> Repair and Diagnosis >> Engine Performance >> Ignition System >> Mixture Formation -- Basic Knowledge -- 170 Chassis >> Basic Knowledge >> Barometric pressure sensor position/task/design/function - GF07.04-P-5040GS >> Notes

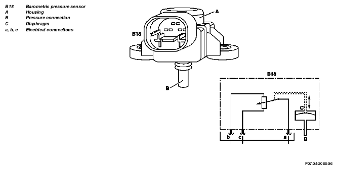
Barometric pressure sensor position/task/design/function - GF07.04-P-5040GS: Notes

ENGINE 111.955 /956 /957 /958 /981 /982 /983 

Design 

Fig 1: Identifying Barometric Pressure Sensor -- Engine 111.955 /956 /957 /958 /981 /982 /983
G04736537
  Barometric pressure sensor position   GF07.04-P-5040-01GS 
  Barometric pressure sensor task Detecting the ambient pressure. The pressure information is required for: Altitude recognition for starting mixture enrichment  
  Barometric pressure sensor function The pressure in the intake manifold alters the shape of a diaphragm and the piezo resistors alter their resistance. This influences the output voltage which is used by the ME control module as information regarding the ambient pressure.