lemon-mirror:
Home >> Mercedes Benz >> 2008 >> CL63 >> Repair and Diagnosis >> Engine Performance >> Ignition System >> Mixture Formation -- Cl63 >> Basic Knowledge >> Component description for O2 sensor - GF07.04-P-6100AMG

Component description for O2 sensor - GF07.04-P-6100AMG

ENGINE 156.980 in MODEL 164, 251 up to Model Year 8 

O2 sensors before CAT 

ENGINE 156.982 in MODEL 209 

O2 sensors before CAT 

ENGINE 156.983 in MODEL 211, 219 

O2 sensors before CAT 

ENGINE 156.984 in MODEL 216, 221 up to Model Year 8 

O2 sensors before CAT 

Location (wideband oxygen sensor) 

Fig 1: Identifying Firewall Catalytic Converter And Left/Right O2 Sensor Upstream Of TWC
G07303900Courtesy of MERCEDES-BENZ USA

The O 2 sensors upstream of TWC are bolted into the exhaust pipe upstream of firewall catalytic converter.

Task 

The O 2 sensors upstream of TWC (control sensors) detect the residual oxygen content in exhaust gas for the following tasks:

Design 

The O 2 sensors upstream of TWC are insulated as voltage free and designed as a planar (flat) wideband oxygen sensors.

The active sensor ceramic consists of a gas permeable ceramic body made of zirconium dioxide. The inner protective tube with several slots protects the ceramic body from mechanical stresses and from temperature jumps.

Fig 2: Identifying Design Of O2 Sensor
G07303901Courtesy of MERCEDES-BENZ USA
Fig 3: Identifying O2 Sensor Overall Length
G07303902Courtesy of MERCEDES-BENZ USA

The balance resistor (6) is dependent on the overall length (L) and on the type of sensor.

IMPORTANT While changing the wideband oxygen sensor, the balance resistor is already fitted on the new sensor and must not be changed (resistance depends on the sensor).

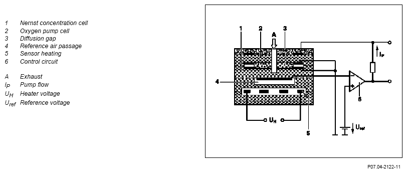
Function (schematic) 

Fig 4: Identifying O2 Sensor Function Diagram
G07303903Courtesy of MERCEDES-BENZ USA

The sensor element consists of a combination of a Nernst concentration cell (sensor cell) and an oxygen pump cell which transports (pumps) the oxygen ions.

The pump action is a purely physical process.

When operating in combination with control electronics which are housed in the ME-SFI [ME] control unit N3/10, the wideband oxygen sensor can be measured exactly in a further lambda range (0.7 to 4.0).

Sensor heating 

An integrated sensor heater ensures that it remains at the required operating temperature of approx. 750°C. In order achieve the sensor function while the engine is running, wideband oxygen sensors are heated constantly with a heat output of about 10 W. The sensor heaters are actuated by the ME-SFI [ME] control unit by means of a ground signal.