lemon-mirror:
Home >> Mercedes Benz >> 2021 >> GLS450 >> Repair and Diagnosis >> Engine Performance >> Engine Control Systems >> Electrical System - Engine - 167 Chassis >> Basic Knowledge >> Camshaft Hall Sensor, Basic Function - GF15.10-P-2001A

Camshaft Hall Sensor, Basic Function - GF15.10-P-2001A

Engine all (4xWD) 

Engine all (CAR) 

Example illustration: camshaft Hall sensors 

G14574415Courtesy of MERCEDES-BENZ USA

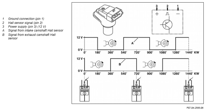
Example illustration: camshaft positions 

G14574416Courtesy of MERCEDES-BENZ USA

Overview 

This document contains information on:

General 

Function 

The camshaft positions are detected by the camshaft Hall sensors.

The camshaft Hall sensors detect the camshaft positions contactlessly for the following functions:

The camshaft Hall sensors detect the positions of the segments (of 180° camshaft revolution) on the corresponding camshaft.

The signal voltages of the camshaft Hall sensors are approx. 12 V (high), if the segments are not above the camshaft Hall sensors. When the segments move past the camshaft Hall sensors, the signal voltages of the camshaft Hall sensors drop to approx. 0 V (low).

The camshaft Hall sensors detect the camshaft positions at Engine standstill, which enables quick starting of the combustion Engine. This improves the exhaust gas values when starting the combustion Engine because each cylinder can be immediately assigned the optimum fuel injection quantity.

IMPORTANT If the signal from the intake camshaft Hall sensor is implausible or incorrect, the signal from the exhaust camshaft Hall sensor is used to detect the ignition TDC of cylinder 1.

IMPORTANT The gaps between the camshaft Hall sensors and the segments at the camshafts are not adjustable; they are predetermined by the installation position and cannot be adjusted.

  Component descriptions     
  Component description for a camshaft Hall sensor Engine 176, 177, 256, 279, 656 in model 223 GF07.04-P-6022A
    Engine 139, 254, 654 in model 206 GF07.04-P-6022C
    Engine 139, 177 in model 232 GF07.04-P-6022F