lemon-mirror:
Home >> Mercury >> 1992 >> Capri Base, Automatic >> Repair and Diagnosis >> Engine Performance >> System >> Engine Controls - Tests W/Codes >> Pinpoint Tests >> Pinpoint Test Kc - Knock Control

Pinpoint Test Kc - Knock Control

NOTE: Enter this test only when directed here from QUICK TESTS.
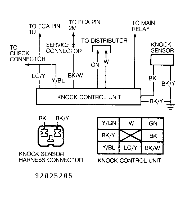
Fig 1: Identifying KC Circuit & Connectors
G92A25205
  1. Disconnect and plug vacuum hose at distributor. Connect timing light. Start engine. Unplug knock control service connector, located near ECA. If timing retards, service knock sensor and/or knock sensor wiring. If timing does not retard, go to next step.
  2. Determine and record ignition timing setting. Tap intake plenum with plastic mallet. If timing does not retard, go to step 4). If timing retards, go to next step.
  3. Reconnect knock control service connector, located near ECA. Determine and record ignition timing setting. Tap intake plenum with plastic mallet. If timing does not retard, knock control unit is okay; go to next step. If timing retards, replace knock control unit.
  4. Turn ignition off. Unplug knock control service connector, located near ECA. Install a known good knock sensor. Start engine. Tap intake plenum with plastic mallet. If timing retards, replace knock sensor. If timing does not retard, go to next step.
  5. Check VPWR and GND (Yellow/Green and Black/Yellow wires respectively) to knock control unit for shorts or open circuits. Service wires as necessary. If wires are okay, replace knock control unit.