lemon-mirror:
Home >> Mercury >> 1994 >> Capri Base, Automatic >> Repair and Diagnosis >> Engine Performance >> System >> Engine Controls - Tests W/Codes >> Pinpoint Test VPWR >> Vehicle Power

Vehicle Power

NOTE: Enter this test only when directed here from another PINPOINT TEST. To prevent replacement of good components, note following non-EEC components may be faulty: ignition switch, alternator, battery cables, ground straps, or voltage regulator. This test is intended to diagnose only PCM, wiring harness circuits, and battery voltage.
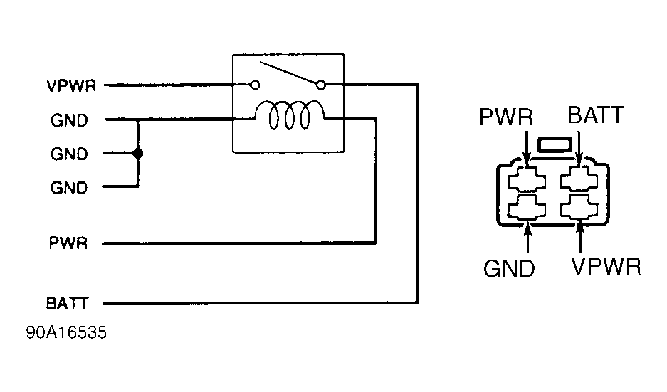
Fig 1: Identifying VPWR Circuit & Connector (VPWR)
G90A16535
VPWR CIRCUIT PIN IDENTIFICATION

Circuit PCM Pin BOB Pin Wire Color
GND 2R 49 BLK
GND 3A 20 BLK
GND 3G 40 BLK
VPWR 3I 37 YEL/GRN

1)  Turn ignition off. Install BOB, leaving PCM disconnected. Turn ignition on. Measure voltage between VPWR test pin and battery ground. If voltage is greater than 10 volts, go to next step. If voltage is not greater than 10 volts, go to step 3).

2)  Turn ignition off. Measure resistance of each wire between BOB GND test pins and ground. Repair any wire with resistance not less than 5 ohms. If resistance is less than 5 ohms for each wire, VPWR circuit is okay. Return to the PINPOINT TEST that sent you here.

3)  Turn ignition off. Remove main relay, relay is located on left side of engine compartment. Measure resistance between BOB test pin VPWR and main relay harness connector. If resistance is less than 5 ohms, go to next step. Repair VPWR wire if resistance is not less than 5 ohms.

4)  Inspect GND wire for continuity between main relay harness connector and ground. If wire is okay, go to next step. Repair wire as necessary.

5)  Measure voltage between main relay harness connector BATT wire and ground. If voltage is greater than 10 volts, go to next step. If voltage is not greater than 10 volts, repair BATT wire from battery to harness connector.

6)  Measure voltage between harness connector PWR wire and ground. If voltage is not greater than 10 volts, repair PWR wire from ignition switch to harness connector. If voltage is greater than 10 volts, replace main relay.