lemon-mirror:
Home >> Mercury >> 2002 >> Sable LS Premium >> Repair and Diagnosis >> General Information >> Engine >> Engine System General Information >> General Procedures >> Valve - Inspection

Valve - Inspection

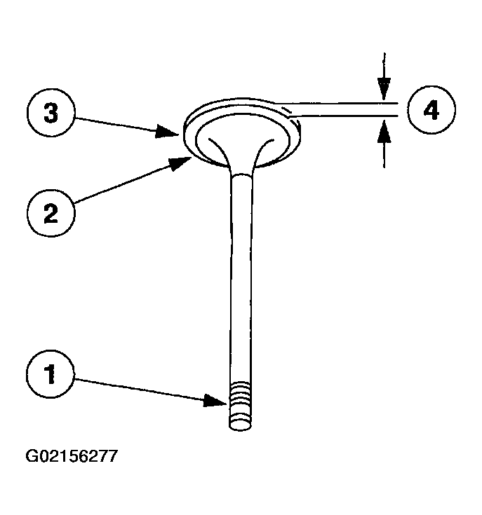
  1. Inspect the following valve areas:
    1. the end of the stem for grooves or scoring
    2. the valve face and the edge for pits, grooves or scores
    3. the valve head for signs of burning, erosion, warpage and cracking
    4. the valve margin for wear
    Fig 1: Inspecting Valves
    G02156277Courtesy of FORD MOTOR CO.