lemon-mirror:
Home >> Mercury >> 2002 >> Sable LS Premium >> Repair and Diagnosis >> Steering >> Steering Column >> Disassembly And Assembly >> Steering Column - Column Shift >> Disassembly

Steering Column - Column Shift: Disassembly

    WARNING: To reduce the risk of serious personal injury, read and follow all warnings, notes and instructions in the steering column removal and installation procedure.
  1. Remove the steering column (3C529). Refer to COLUMN .
  2. Unclip the steering column opening gearshift lever seal from the steering column.
    Fig 1: Unclipping Steering Column Opening Gearshift Lever Seal From The Steering Column
    G02156594Courtesy of FORD MOTOR CO.
  3. Remove the gearshift lever retaining pin and remove the gearshift lever assembly.
    Fig 2: Removing Gearshift Lever Retaining Pin
    G02156595Courtesy of FORD MOTOR CO.
  4. CAUTION: Carefully note the position of the steering column lock gear, bearing and retainer prior to removal.
    Fig 3: Removing Snap Ring
    G02156596Courtesy of FORD MOTOR CO.
  5. Remove the snap ring (3C610).
  6. Remove the steering column lock housing bearing (3E700).
    Fig 4: Removing Gearshift Lever Retaining Pin
    G02156597Courtesy of FORD MOTOR CO.
  7. Remove the steering column lock gear (3E717).
    Fig 5: Removing Steering Column Lock Gear
    G02156598Courtesy of FORD MOTOR CO.
  8. On a fixed steering column, remove the snap ring from the bottom of the steering column shaft.
    Fig 6: Removing Snap Ring From Bottom Of Steering Column Shaft
    G02156599Courtesy of FORD MOTOR CO.
  9. On a tilt steering column, remove the sensor ring.
    1. Remove the steering column lower bearing spring.
    2. Remove the sensor ring.
    Fig 7: Removing Sensor Ring
    G02156600Courtesy of FORD MOTOR CO.
  10. Remove the steering column bearing tolerance ring (3L539) from the steering column shaft.
    Fig 8: Removing Steering Column Bearing Tolerance Ring
    G02156601Courtesy of FORD MOTOR CO.
  11. Remove the two lock cylinder housing pivot screws.
    Fig 9: Removing Two Lock Cylinder Housing Pivot Screws
    G02156602Courtesy of FORD MOTOR CO.
  12. WARNING: The steering column position spring is under tension and can come out with great force.
    Fig 10: Removing Steering Column Lock Cylinder Housing & Steering Column Shaft From Steering Actuator Housing
    G02156603Courtesy of FORD MOTOR CO.
  13. Remove the steering column lock cylinder housing (3511) and the steering column shaft from the steering actuator housing (3F723).
    1. Pry up on the steering column locking levers (3B661) using a shop fabricated tool.
    2. On tilt steering columns, remove the steering column position spring (3D655).
  14. Using a flat-blade screwdriver pry up on the flush surface of the turn indicator cancel cam and remove.
    Fig 11: Removing Turn Signal Indicator Cancellation Cam
    G02156604Courtesy of FORD MOTOR CO.
  15. Remove the snap ring.
    Fig 12: Removing Snap Ring
    G02156605Courtesy of FORD MOTOR CO.
  16. Remove the steering column upper bearing spring (3520).
    Fig 13: Removing Steering Column Upper Bearing Spring
    G02156606Courtesy of FORD MOTOR CO.
  17. Remove the steering column bearing sleeve (3518).
    Fig 14: Removing Steering Column Bearing Sleeve
    G02156607Courtesy of FORD MOTOR CO.
  18. Remove the steering column bearing tolerance ring.
    1. Slide the steering column shaft in toward the steering column lock cylinder housing.
    2. Slide the steering column bearing tolerance ring from the steering column shaft and remove the shaft.
    Fig 15: Removing Steering Column Bearing Tolerance Ring
    G02156608Courtesy of FORD MOTOR CO.
  19. Using a suitable punch, remove the steering column upper bearing (3517) from the steering column lock cylinder housing.
    Fig 16: Removing Steering Column Upper Bearing From Steering Column Lock Cylinder Housing
    G02156609Courtesy of FORD MOTOR CO.
  20. On a tilt steering column, use a suitable punch to remove the steering column lower bearing from the steering column lock cylinder housing.
    Fig 17: Removing Steering Column Lower Bearing From Steering Column Lock Cylinder Housing
    G02156610Courtesy of FORD MOTOR CO.
  21. Remove the two screws and remove the plastic harness retainer.
    Fig 18: Removing Plastic Harness Retainer
    G02156611Courtesy of FORD MOTOR CO.
  22. Remove the brake shift interlock solenoid and the transmission shift position insert.
    1. Remove the three bolts.
    2. Remove the brake shift interlock solenoid and the transmission shift position insert.
    Fig 19: Removing Brake Shift Interlock Solenoid & Transmission Shift Position Insert
    G02156612Courtesy of FORD MOTOR CO.
  23. Remove the shift tube.
    1. Remove the four bolts.
    2. Remove the two shift tube clamps.
    3. Remove the shift tube.
    Fig 20: Removing Shift Tube
    G02156613Courtesy of FORD MOTOR CO.
  24. Remove the transmission shift arm assembly (7302).
    1. Remove the two bolts.
    2. Remove the transmission shift arm assembly.
    Fig 21: Removing Transmission Shift Arm Assembly
    G02156614Courtesy of FORD MOTOR CO.
  25. Remove the spring.
    Fig 22: Removing Spring
    G02156615Courtesy of FORD MOTOR CO.
  26. Drive out the gearshift lever pin (7W441) from the shift tube.
    Fig 23: Removing Gearshift Lever Pin
    G02156616Courtesy of FORD MOTOR CO.
  27. Remove the gearshift lever (7210).
    Fig 24: Removing Gear Shift Lever
    G02156617Courtesy of FORD MOTOR CO.
  28. Remove the column shift selector lever plunger (7361).
    • If it is bent, replace the column shift selector lever plunger.
    Fig 25: Removing Column Shift Selector Lever Plunger
    G02156618Courtesy of FORD MOTOR CO.
  29. Remove the two gearshift lever socket bushings and the transmission control selector lever spring clip.
    Fig 26: Removing Two Gearshift Lever Socket Bushings & Transmission Control Selector Lever Spring Clip
    G02156619Courtesy of FORD MOTOR CO.
  30. Remove the steering column lock pawl (3E691).
    1. Drive out the steering column lock lever pin.
    2. Remove the steering column lock pawl.
    Fig 27: Removing Steering Column Lock Pawl
    G02156620Courtesy of FORD MOTOR CO.
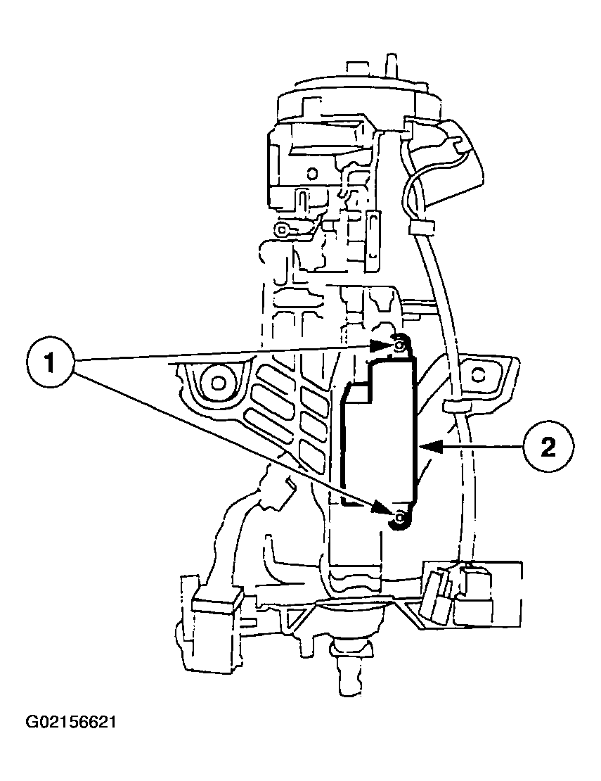
  31. Remove the ignition switch (11572).
    1. Remove the screws.
    2. Remove the ignition switch.
    Fig 28: Removing Ignition Switch
    G02156621Courtesy of FORD MOTOR CO.
  32. Remove the steering column lower bearing and sleeve.
    Fig 29: Removing Steering Column Lower Bearing & Sleeve
    G02156622Courtesy of FORD MOTOR CO.
  33. Remove the steering column lower bearing retainer.
    1. Remove the bolts.
    2. Remove the steering column lower bearing retainer.
    Fig 30: Removing Steering Column Lower Bearing Retainer
    G02156623Courtesy of FORD MOTOR CO.
  34. Remove the steering column upper and lower lock actuator.
    Fig 31: Removing Steering Column Upper & Lower Lock Actuators
    G02156624Courtesy of FORD MOTOR CO.