lemon-mirror:
Home >> Mercury >> 2002 >> Sable LS Premium >> Repair and Diagnosis >> Steering >> Steering Column >> Disassembly And Assembly >> Steering Column-Console Shift >> Disassembly

Steering Column-Console Shift: Disassembly

    WARNING: To reduce the risk of serious personal injury, read and follow all warnings, notes and instructions in the steering column removal and installation procedure.
  1. Remove the steering column (3C529). Refer to COLUMN .
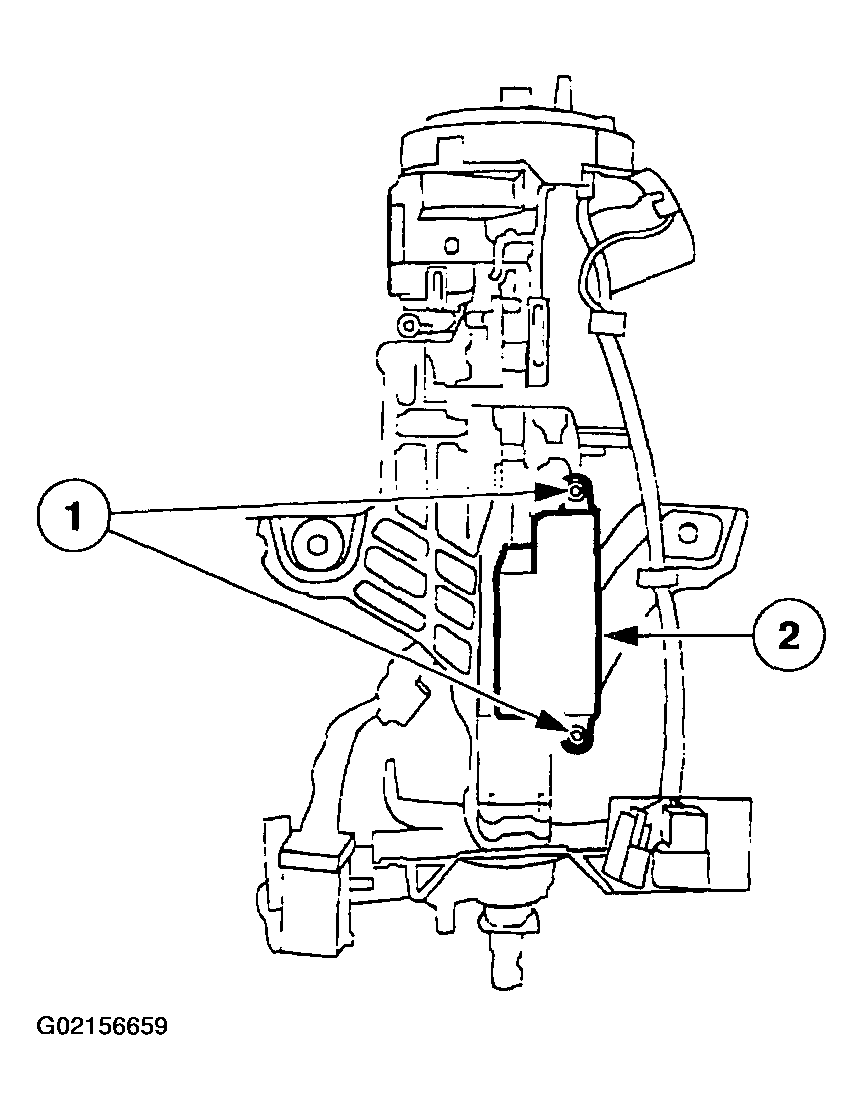
  2. Remove the ignition switch (11572).
    1. Remove the screws.
    2. Remove the ignition switch.
    Fig 1: Removing Ignition Switch
    G02156659Courtesy of FORD MOTOR CO.
  3. CAUTION: Carefully note the position of the steering column lock gear, bearing and retainer prior to removal.
    Fig 2: Removing Bearing Retainer
    G02156660Courtesy of FORD MOTOR CO.
  4. Remove the bearing retainer (3D681).
  5. Remove the lock housing bearing (3E700).
    Fig 3: Removing Lock Housing Bearing
    G02156661Courtesy of FORD MOTOR CO.
  6. Remove the lock gear (3E717).
    Fig 4: Removing Lock Gear
    G02156662Courtesy of FORD MOTOR CO.
  7. Remove the sensor ring.
    1. Remove the lower bearing spring.
    2. Remove the sensor ring.
    Fig 5: Removing Sensor Ring
    G02156663Courtesy of FORD MOTOR CO.
  8. Remove the lower bearing tolerance ring from the shaft.
    Fig 6: Removing Lower Bearing Tolerance Ring From The Shaft
    G02156664Courtesy of FORD MOTOR CO.
  9. Remove the two tilt pivot screws.
    Fig 7: Removing Tilt Pivot Screws
    G02156665Courtesy of FORD MOTOR CO.
  10. WARNING: Steering column position spring is under tension and can come out with great force.
    Fig 8: Removing Lock Cylinder Housing & Shaft Assembly From Actuator Housing
    G02156666Courtesy of FORD MOTOR CO.
  11. Remove the lock cylinder housing and shaft assembly from the actuator housing (3F723).
    1. Pry up on the lock actuator lever (LH) (3D653) using a shop fabricated tool.
    2. Remove the position spring (3D655).
  12. Remove the turn indicator cancel cam.
    Fig 9: Removing Turn Indicator Cancel Cam
    G02156667Courtesy of FORD MOTOR CO.
  13. Remove the snap ring.
    Fig 10: Removing Snap Ring
    G02156668Courtesy of FORD MOTOR CO.
  14. Remove the upper bearing spring (3520).
    Fig 11: Removing Upper Bearing Spring
    G02156669Courtesy of FORD MOTOR CO.
  15. Remove the bearing sleeve (3518).
    Fig 12: Removing Bearing Sleeve
    G02156670Courtesy of FORD MOTOR CO.
  16. Remove the lower bearing tolerance ring (3L539).
    1. Slide the steering column shaft in toward the lock cylinder housing (3511).
    2. Slide the steering column bearing tolerance ring from the steering column shaft and remove the shaft.
    Fig 13: Removing Lower Bearing Tolerance Ring
    G02156671Courtesy of FORD MOTOR CO.
  17. Using a suitable punch, remove the lower bearing (3517) from the lock cylinder housing.
    Fig 14: Removing Lower Bearing From Lock Cylinder Housing
    G02156672Courtesy of FORD MOTOR CO.
  18. Use a suitable punch to remove the bearing from the lock cylinder housing.
    Fig 15: Removing Bearing From Lock Cylinder Housing
    G02156673Courtesy of FORD MOTOR CO.
  19. Remove the lower bearing and sleeve.
    Fig 16: Removing Lower Bearing & Sleeve
    G02156674Courtesy of FORD MOTOR CO.
  20. Remove the lower bearing retainer (3D681).
    1. Remove the three bolts.
    2. Remove the lower bearing retainer.
    Fig 17: Removing Lower Bearing Retainer
    G02156675Courtesy of FORD MOTOR CO.
  21. Remove the upper lock lever actuator (3E715) and the lower lock lever actuator.
    Fig 18: Removing Upper & Lower Lock Lever Actuator
    G02156676Courtesy of FORD MOTOR CO.
  22. Remove the ignition lock cylinder lockout lever.
    Fig 19: Removing Ignition Lock Cylinder Lockout Lever
    G02156677Courtesy of FORD MOTOR CO.
  23. Remove the lock actuator lever return spring.
    Fig 20: Removing Lock Actuator Lever Return Spring
    G02156678Courtesy of FORD MOTOR CO.
  24. Using a pin punch, remove the pin and lock actuator lever.
    Fig 21: Removing Pin & Lock Actuator Lever
    G02156679Courtesy of FORD MOTOR CO.
  25. Using a pin punch, remove the pin and locking lever cam.
    Fig 22: Removing Pin & Locking Lever Cam
    G02156680Courtesy of FORD MOTOR CO.
  26. NOTE: Do not remove the tilt lock levers if not required.
    Fig 23: Removing Pin, Tilt Locking Levers & Springs
    G02156681Courtesy of FORD MOTOR CO.
  27. Using a pin punch, remove the pin, tilt locking levers and springs.