lemon-mirror:
Home >> Mercury >> 2002 >> Villager Base >> Repair and Diagnosis >> Engine Mechanical >> Mechanical >> Engine - 3.3L >> Assembly >> Engine

Engine - 3.3L: Assembly: Engine

  1. Make sure that all engine mating surfaces are free of old sealant material.
  2. Thoroughly lubricate the crankshaft main bearings with clean engine oil.
  3. Install the upper crankshaft main bearings into the cylinder block.
  4. CAUTION: The crankshaft is heavy. Be careful not to damage it when placing it in the cylinder block.
    Fig 1: Placing Crankshaft Into Cylinder Block
    G03411974Courtesy of FORD MOTOR CO.
  5. Carefully place the crankshaft into the cylinder block.
  6. Install the lower crankshaft main bearings into the crankshaft main bearing cap.
  7. Measure the crankshaft main bearing oil clearance. For additional information, refer to ENGINE SYSTEM-GENERAL INFORMATION .
  8. Position the crankshaft main bearing cap.
    Fig 2: Positioning Crankshaft Main Bearing Cap
    G03411975Courtesy of FORD MOTOR CO.
  9. Place the crankshaft main bearing cap in the correct position by shifting the crankshaft in the axial position.
  10. Fig 3: Placing Crankshaft Main Bearing Cap
    G03411976Courtesy of FORD MOTOR CO.
    NOTE: Thoroughly lubricate the crankshaft main bearing cap bolts with clean engine oil.
  11. Install crankshaft main bearing cap bolts in the sequence shown using a three stage method.
    • Stage 1: Tighten the bolts to 30 N.m (22 lb-ft).
    • Stage 2: Tighten the bolts to 60 N.m (44 lb-ft).
    • Stage 3: Tighten the bolts to 90 N.m (66 lb-ft).
      Fig 4: Identifying Crankshaft Main Bearing Cap Bolts Tightening Sequence
      G03411977Courtesy of FORD MOTOR CO.
  12. Rotate the crankshaft to make sure it turns smoothly.
  13. Measure crankshaft end play. For additional information, refer to ENGINE SYSTEM-GENERAL INFORMATION .
  14. Rotate the crankshaft until the appropriate crankshaft journal is at bottom dead center (BDC).
  15. Install two pieces of rubber hose over the connecting rod bolts to prevent crankshaft journal contact.
    Fig 5: Installing Pieces Of Rubber Hose Over Connecting Rod Bolts
    G03411978Courtesy of FORD MOTOR CO.
  16. NOTE: Make sure all six piston rods are installed into the original cylinder bores during assembly.
    NOTE: All six pistons and rod assemblies are installed the same way. Only one piston and rod assembly is shown.
    NOTE: The connecting rod assemblies are numbered designating to which connecting rod each cap belongs.
    NOTE: Use a hammer handle or a piece of wood to tap the piston and connecting rod into the cylinder bore. Guide the connecting rod bolts over the crankshaft journal.
    NOTE: Make sure during installation of the piston assemblies that the front mark on the piston head faces toward the front of the engine.
    NOTE: Dip the pistons into clean engine oil.
    Fig 6: Installing Pistons
    G03411979Courtesy of FORD MOTOR CO.
  17. Install the pistons.
  18. Remove the rubber hoses from the connecting rod bolts.
  19. CAUTION: Install the bearings so the oil hole in the connecting rod aligns with the oil hole in the connecting rod bearing or bearing damage will occur.
    NOTE: Coat the connecting rod bearings with clean engine oil.
    Fig 7: Installing Connecting Rod Bearings Into Connecting Rods
    G03411980Courtesy of FORD MOTOR CO.
  20. Install the connecting rod bearings into the connecting rods and install the connecting rod caps.
  21. Check connecting rod bearing oil clearance. For additional information, refer to ENGINE SYSTEM-GENERAL INFORMATION .
  22. Tighten the connecting rod nuts in two stages:
    • Stage 1: Tighten the nuts to 15 N.m (11 lb-ft).
    • Stage 2: Tighten the nuts to 40 N.m (30 lb-ft).
      Fig 8: Identifying Connecting Rod Nuts
      G03411981Courtesy of FORD MOTOR CO.
  23. Measure connecting rod side clearance. For additional information, refer to ENGINE SYSTEM-GENERAL INFORMATION .
  24. Install a new crankshaft rear oil seal on the crankshaft rear oil seal retainer plate.
  25. Install the crankshaft rear oil seal retainer plate.
    1. Position the crankshaft rear oil seal retainer plate.
    2. Install the bolts.
      Fig 9: Installing Crankshaft Rear Oil Seal Retainer Plate
      G03411982Courtesy of FORD MOTOR CO.
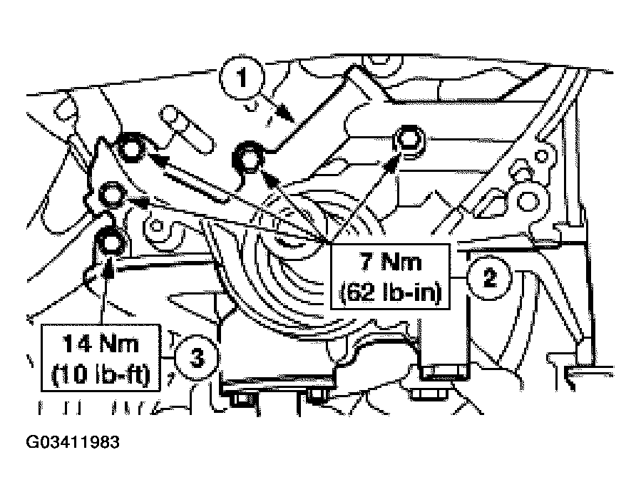
  26. Install the oil pump.
    1. Position the oil pump.
    2. Install the short bolts.
    3. Install the long bolt.
      Fig 10: Installing Oil Pump
      G03411983Courtesy of FORD MOTOR CO.
  27. Install the generator bracket.
    1. Position the generator bracket.
    2. Install the bolt.
      Fig 11: Installing Generator Bracket
      G03411984Courtesy of FORD MOTOR CO.
  28. NOTE: Make sure the oil pan is free of old sealant material.
  29. Install new oil pan seals on the oil pan.
    • Apply silicone gasket and sealant to the oil pan seals.
      Fig 12: Installing Oil Pan Seals On Oil Pan
      G03411985Courtesy of FORD MOTOR CO.
  30. Apply a bead of silicone gasket and sealant to the oil pan as shown.
    Fig 13: Applying Bead Of Silicone Gasket And Sealant To Oil Pan
    G03411986Courtesy of FORD MOTOR CO.
  31. Position the oil pan and install the oil pan bolts in the sequence shown.
    Fig 14: Identifying Oil Pan Bolts Tightening Sequence
    G03411987Courtesy of FORD MOTOR CO.
  32. Install the crankshaft sprocket.
    1. Install the crankshaft key.
    2. Install the inner timing belt guide.
    3. Install the crankshaft sprocket.
      Fig 15: Installing Crankshaft Sprocket
      G03411988Courtesy of FORD MOTOR CO.
  33. NOTE: Make sure the mating surface between the water pump and the cylinder block are free of old sealant material.
  34. Install the water pump gasket to the water pump.
  35. Position the water pump and install the bolts.
    Fig 16: Installing Water Pump Bolts
    G03411989Courtesy of FORD MOTOR CO.
  36. NOTE: Cylinder head installation is the same for both cylinder heads. Repeat the installation procedure for both cylinder heads.
    Fig 17: Identifying Cylinder Head Gasket
    G03411990Courtesy of FORD MOTOR CO.
  37. Position the cylinder head gasket.
  38. Position the cylinder head.
    Fig 18: Positioning Cylinder Head
    G03411991Courtesy of FORD MOTOR CO.
  39. CAUTION: The cylinder head bolts located in positions 4, 7, 9, and 12 are 127 mm (5.08 in) in length and all others are 106 mm (4.24 in) in length.
    CAUTION: The cylinder head bolt washers must be installed with the chamfered edge facing away from the cylinder head surface.
    CAUTION: It is necessary to apply clean engine oil to the threads and seating surfaces of the cylinder head bolts before installing.
  40. Install the cylinder head bolts in the sequence shown.
    • Stage 1: Tighten the bolts to 29 N.m (21 lb-ft).
    • Stage 2: Tighten the bolts to 59 N.m (44 lb-ft).
      Fig 19: Identifying Cylinder Head Bolts Tightening Sequence
      G03411992Courtesy of FORD MOTOR CO.
  41. Loosen the cylinder head bolts completely in the sequence shown.
    Fig 20: Identifying Loosening Cylinder Head Bolts Sequence
    G03411993Courtesy of FORD MOTOR CO.
  42. Tighten the cylinder head bolts in the sequence shown.
    Fig 21: Identifying Tighten Sequence Of Cylinder Head Bolts
    G03411994Courtesy of FORD MOTOR CO.
  43. Install the knock sensor.
    1. Position the knock sensor.
    2. Install the bolt.
    3. Connect the electrical connector.
      Fig 22: Installing Knock Sensor
      G03411995Courtesy of FORD MOTOR CO.
  44. Install the coolant crossover tube.
    1. Position the coolant crossover tube.
    2. Install the bolts.
      Fig 23: Installing Coolant Crossover Tube
      G03411996Courtesy of FORD MOTOR CO.
  45. Install the lower intake manifold gaskets.
    Fig 24: Installing Lower Intake Manifold Gaskets
    G03411997Courtesy of FORD MOTOR CO.
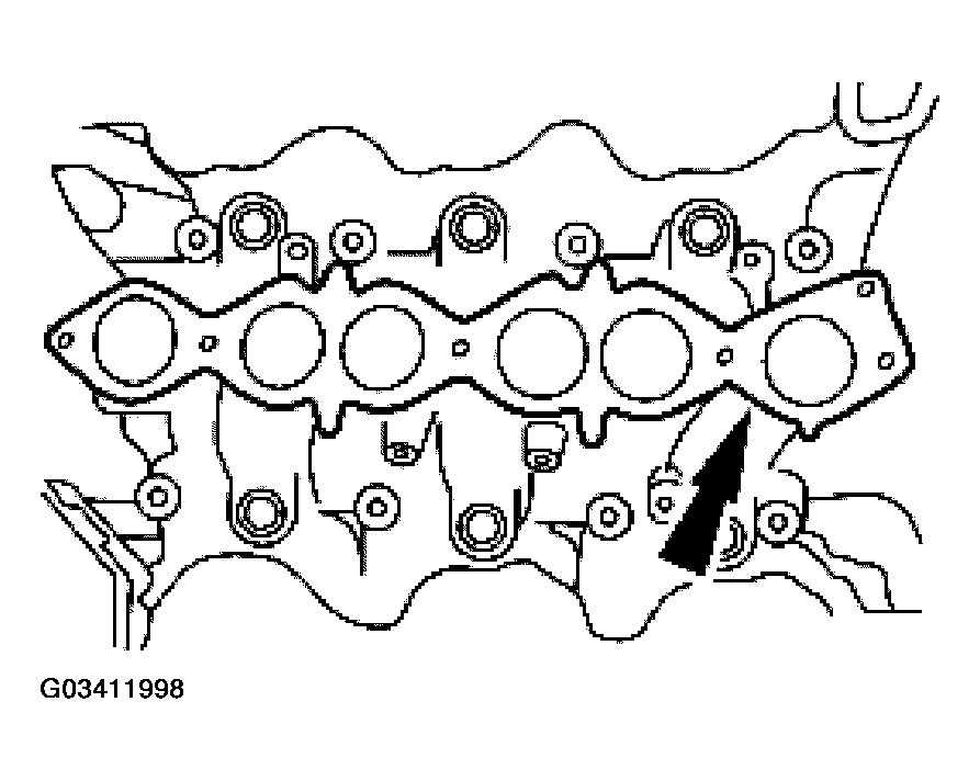
  46. Position the lower intake manifold.
    Fig 25: Positioning Lower Intake Manifold
    G03411998Courtesy of FORD MOTOR CO.
  47. Install the lower intake manifold bolts and nuts in the sequence shown:
    • Stage 1: Tighten all bolts and nuts to 4 N.m (36 lb-in).
    • Stage 2: Tighten all bolts and nuts to 18 N.m (13 lb-ft).
    • Stage 3: Tighten all bolts and nuts to 18 N.m (13 lb-ft).
      Fig 26: Identifying Lower Intake Manifold Bolts Tightening sequence
      G03411999Courtesy of FORD MOTOR CO.
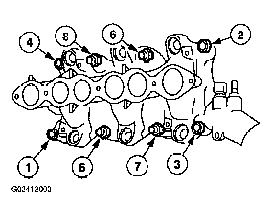
  48. Loosen the lower intake manifold bolts and nuts completely in the sequence shown.
    Fig 27: Loosening Lower Intake Manifold Bolts
    G03412000Courtesy of FORD MOTOR CO.
  49. Tighten the cylinder head bolts in the sequence shown using a two-stage method:
    • Stage 1: Tighten the bolts to 29 N.m (21 lb-ft).
    • Stage 2: Tighten the bolts to 59 N.m (44 lb-ft).
      Fig 28: Identifying Cylinder Head Bolts Tightening Sequence
      G03412001Courtesy of FORD MOTOR CO.
  50. Install the last cylinder head bolt.
    Fig 29: Installing Cylinder Head Bolt
    G03412002Courtesy of FORD MOTOR CO.
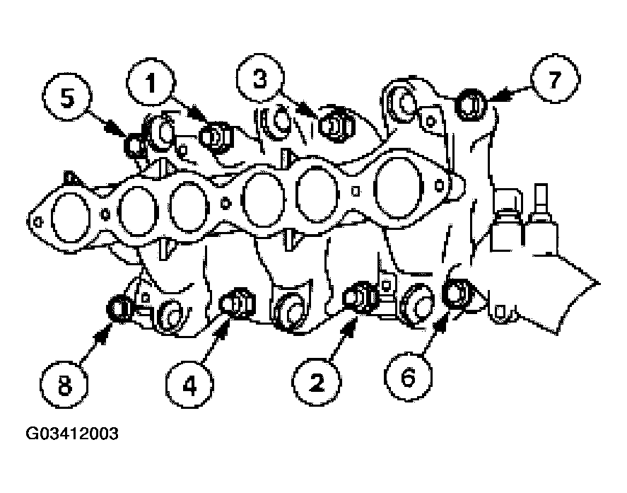
  51. Tighten the lower intake manifold bolts and nuts in the sequence shown using a two stage method.
    • Stage 1: Tighten all the bolts and nuts to 4 N.m (35 lb-in).
    • Stage 2: Tighten all the bolts and nuts to 9 N.m (80 lb-in).
    • Stage 3: Tighten all the bolts and nuts to 9 N.m (80 lb-in).
      Fig 30: Tightening Lower Intake Manifold Bolts And Nuts
      G03412003Courtesy of FORD MOTOR CO.
  52. Inspect the valve tappets. For additional information, refer to ENGINE SYSTEM-GENERAL INFORMATION .
  53. Install the rocker arm shaft support.
    1. Position the rocker arm shaft support.
    2. Remove the rubber bands.
      Fig 31: Installing Rocker Arm Shaft Support
      G03412004Courtesy of FORD MOTOR CO.
  54. CAUTION: Set the camshaft lobes so that the valves are not lifted. Tightening the rocker arm shaft bolts with the valves lifted can result in damaged valve components.
    CAUTION: The rocker arm shaft bolts must be tightened using a two-step method.
  55. Install the rocker arm shafts and rocker arms.
    1. Position the rocker arm shafts and rocker arms.
    2. Install the 12 bolts using two steps to tighten.
      Fig 32: Installing Rocker Arm Shafts And Rocker Arms
      G03412005Courtesy of FORD MOTOR CO.
  56. NOTE: Valve cover gasket installation is the same for both sides. Use the installation procedure to install both valve cover gaskets. Make sure that all mating surfaces are free of old sealant material.
    Fig 33: Installing Valve Cover Gasket
    G03412006Courtesy of FORD MOTOR CO.
  57. Install the valve cover gasket.
  58. NOTE: Valve cover installation is the same for both sides. Use the installation procedure to install both valve covers. Make sure that all mating surfaces are free of old sealant material.
  59. Install the valve cover.
    1. Position the valve cover.
    2. Install the screws.
      Fig 34: Installing Valve Cover
      G03412007Courtesy of FORD MOTOR CO.
  60. Install new exhaust manifold gaskets on the cylinder heads.
  61. Position the RH exhaust manifold.
  62. Install the RH exhaust manifold nuts in the sequence shown using a two-step method.
    Fig 35: Positioning RH Exhaust Manifold
    G03412008Courtesy of FORD MOTOR CO.
    Fig 36: Installing RH Exhaust Manifold Nuts
    G03412009Courtesy of FORD MOTOR CO.
  63. Position the LH exhaust manifold.
    Fig 37: Positioning LH Exhaust Manifold
    G03412010Courtesy of FORD MOTOR CO.
  64. Install the LH exhaust manifold nuts in the sequence shown using a two-step method.
    Fig 38: Installing LH Exhaust Manifold Nuts
    G03412011Courtesy of FORD MOTOR CO.
  65. Install the LH exhaust manifold to RH exhaust manifold nuts.
    Fig 39: Installing LH Exhaust Manifold To RH Exhaust Manifold Nuts
    G03412012Courtesy of FORD MOTOR CO.
  66. Install the heat shield.
    1. Position the heat shield.
    2. Install the bolts.
      Fig 40: Positioning Heat Shield
      G03412013Courtesy of FORD MOTOR CO.
  67. Install the RH exhaust manifold heat shield.
    1. Position the RH exhaust manifold heat shield.
    2. Install the bolts.
      Fig 41: Installing RH Exhaust Manifold Heat Shield
      G03412014Courtesy of FORD MOTOR CO.
  68. Install the LH exhaust manifold heat shield.
    1. Position the LH exhaust manifold heat shield.
    2. Install the bolts.
      Fig 42: Installing LH Exhaust Manifold Heat Shield
      G03412015Courtesy of FORD MOTOR CO.
  69. Install the engine oil level indicator.
    1. Position the engine oil level indicator assembly.
    2. Install the bolt.
      Fig 43: Installing Engine Oil Level Indicator
      G03412016Courtesy of FORD MOTOR CO.
  70. Install the seal plate.
    1. Position the seal plate.
    2. Install the bolts.
      Fig 44: Installing Seal Plate
      G03412017Courtesy of FORD MOTOR CO.
  71. NOTE: The camshaft sprockets are marked with L3 for LH camshaft sprocket and R3 for RH camshaft sprocket.
    NOTE: LH shown, RH similar.
  72. Using the special tool, install the LH and RH camshaft sprockets.
    1. Position the camshaft sprocket.
    2. Position the special tool.
    3. Install the bolt.
      Fig 45: Installing LH And RH Camshaft Sprockets Using Special Tool
      G03412018Courtesy of FORD MOTOR CO.
  73. Position the timing belt tensioner and loosely install the bolt.
    Fig 46: Positioning Timing Belt Tensioner
    G03412019Courtesy of FORD MOTOR CO.
  74. Position the inner timing belt guide.
  75. CAUTION: A new timing belt has three white timing marks that indicate the correct timing positions of the camshafts and the crankshaft. These marks will help make sure that the engine is timed correctly. When the engine is correctly timed each white timing mark on the timing belt will be aligned with the corresponding camshaft and crankshaft timing mark on the crankshaft sprocket and camshaft sprocket. There should be 40 timing belt teeth between the timing marks on the LH and RH camshaft sprockets and 43 teeth between the timing mark on the LH camshaft sprocket and the timing mark on the crankshaft sprocket
    CAUTION: It is necessary to verify that the camshaft timing marks are aligned with the timing marks on the seal plate, and that the crankshaft sprocket timing mark is aligned with the timing mark on the oil pump. When installing the timing belt, start at the crankshaft sprocket, moving around to the camshaft sprockets in a counter-clockwise direction. Do not allow any slack in the timing belt between the crankshaft sprocket and camshaft sprockets. After all of the timing marks are matched up with the timing belt installed, slip the timing belt onto the timing belt tensioner.
    Fig 47: Aligning Timing Marks And Installing Timing Belt
    G03412020Courtesy of FORD MOTOR CO.
  76. Align the timing marks and install the timing belt.
  77. Install the crankshaft pulley bolt.
    Fig 48: Installing Crankshaft Pulley Bolt
    G03412021Courtesy of FORD MOTOR CO.
  78. Rotate the tensioner clockwise and counter clockwise a minimum of two times.
    Fig 49: Rotating Tensioner Clockwise And Counter Clockwise
    G03412022Courtesy of FORD MOTOR CO.
  79. Tighten the tensioner lock nut.
    Fig 50: Tightening Tensioner Lock Nut
    G03412023Courtesy of FORD MOTOR CO.
  80. Turn the crankshaft clockwise a minimum of two times and slowly set piston number one at top dead center (TDC).
    Fig 51: Turning Crankshaft Clockwise
    G03412024Courtesy of FORD MOTOR CO.
  81. CAUTION: Timing belt deflection specification is for a cold engine.
  82. Measure the timing belt deflection between the camshaft sprockets.
    1. Apply pressure midway between the camshaft sprockets.
    2. Measure the timing belt deflection.
      Fig 52: Measuring Timing Belt Deflection Between Camshaft Sprockets
      G03412025Courtesy of FORD MOTOR CO.
  83. NOTE: Align the timing mark on the distributor shaft to the protruding mark on the housing as shown.
    Fig 53: Aligning Timing Mark On Distributor Shaft
    G03412026Courtesy of FORD MOTOR CO.
  84. Install the distributor in the engine so that the ignition rotor is pointing to number 1 cylinder on the distributor cap.
  85. Install the distributor hold-down bolt.
    Fig 54: Installing Distributor Hold-Down Bolt
    G03412027Courtesy of FORD MOTOR CO.
  86. Remove the crankshaft pulley bolt.
    Fig 55: Removing Crankshaft Pulley Bolt
    G03412028Courtesy of FORD MOTOR CO.
  87. Position the outer timing belt guide.
  88. Install the lower timing belt cover.
    1. Position the lower timing belt cover.
    2. Install the bolts.
      Fig 56: Installing Lower Timing Belt Cover
      G03412029Courtesy of FORD MOTOR CO.
  89. Install the upper timing belt cover.
    1. Position the upper timing belt cover.
    2. Install the bolts.
      Fig 57: Installing Upper Timing Belt Cover
      G03412030Courtesy of FORD MOTOR CO.
  90. Install the crankshaft pulley.
    1. Install the pulley.
    2. Install the bolt.
      Fig 58: Installing Crankshaft Pulley
      G03412031Courtesy of FORD MOTOR CO.
  91. Install the water pump pulley.
    1. Position the water pump pulley.
    2. Install the bolts.
      Fig 59: Installing Water Pump Pulley
      G03412032Courtesy of FORD MOTOR CO.
  92. Install the upper timing belt cover bolt.
    Fig 60: Identifying Upper Timing Belt Cover Bolt
    G03412033Courtesy of FORD MOTOR CO.
  93. CAUTION: Make sure the fuel injection supply manifold insulators are installed with the fuel injection supply manifold.
  94. Install the fuel injection supply manifold and insulators.
    1. Position the fuel injection supply manifold and insulators.
    2. Install the bolts.
      Fig 61: Installing Fuel Injection Supply Manifold And Insulators
      G03412034Courtesy of FORD MOTOR CO.
  95. Install the engine wiring harness.
    1. Connect the LH fuel injector electrical connectors.
    2. Install the lower intake manifold ground wire bolts.
      Fig 62: Installing Engine Wiring Harness
      G03412035Courtesy of FORD MOTOR CO.
  96. Connect the RH fuel injector electrical connectors.
    Fig 63: Connecting RH Fuel Injector Electrical Connectors
    G03412036Courtesy of FORD MOTOR CO.
  97. Connect the electrical connectors.
    1. Connect the EGR solenoid electrical connector.
    2. Connect the knock sensor (KS) electrical connector.
      Fig 64: Connecting Electrical Connectors
      G03412037Courtesy of FORD MOTOR CO.
  98. Install the upper intake manifold.
    1. Position the upper intake manifold.
    2. Install the bolts.
      Fig 65: Installing Upper Intake Manifold
      G03412038Courtesy of FORD MOTOR CO.
  99. Install the EGR adapter plate bracket bolts.
    Fig 66: Identifying EGR Adapter Plate Bracket Bolts
    G03412039Courtesy of FORD MOTOR CO.
  100. Install the PCV hoses and tube.
    1. Connect the PCV hoses and tube.
    2. Position the clamp.
    3. Install PCV hoses and tube bracket bolt.
    4. Install the upper intake manifold stabilizer bolt.
      Fig 67: Installing PCV Hoses And Tube
      G03412040Courtesy of FORD MOTOR CO.
  101. Install the coolant bypass hose.
    1. Position the coolant bypass hose.
    2. Install the clamps.
      Fig 68: Installing Coolant Bypass Hose
      G03412041Courtesy of FORD MOTOR CO.
  102. Install the positive crankcase ventilation (PCV) hoses.
    1. Install the engine wiring harness in the brackets.
    2. Install the PCV hose bracket screws.
    3. Install the PCV hose on the valve cover.
      Fig 69: Installing Positive Crankcase Ventilation (PCV) Hoses
      G03412042Courtesy of FORD MOTOR CO.
  103. Connect the hoses.
    1. Connect the coolant hose.
    2. Connect the fuel pressure regulator vacuum hose.
      Fig 70: Connecting Hoses
      G03412043Courtesy of FORD MOTOR CO.
  104. Connect the electrical connectors.
    1. Connect the manifold absolute pressure/barometric pressure (MAP/BARO) solenoid electrical connector.
    2. Connect the throttle position (TP) sensor and TP switch electrical connectors.
    3. Connect the idle speed control (ISC) electrical connector.
      Fig 71: Connecting Electrical Connectors
      G03412044Courtesy of FORD MOTOR CO.
  105. Connect hoses and electrical connectors.
    1. Connect the EGR temperature sensor electrical connector.
    2. Connect the evaporator purge solenoid electrical connector.
    3. Connect the EGR solenoid vacuum inlet hose.
    4. Connect the EGR solenoid vacuum outlet hose.
      Fig 72: Connecting Hoses And Electrical Connectors
      G03412045Courtesy of FORD MOTOR CO.
  106. Connect the PCV hose to the valve cover.
    1. Connect the PCV hose to the separator.
    2. Connect the PCV hose to the valve cover.
      Fig 73: Connecting PCV Hose To Valve Cover
      G03412046Courtesy of FORD MOTOR CO.
  107. Position the distributor cap and install the screws.
    Fig 74: Positioning Distributor Cap And Installing Screws
    G03412047Courtesy of FORD MOTOR CO.
  108. Connect the spark plug wires to the spark plugs.
  109. Install the power steering pump bracket.
    1. Position the power steering pump bracket.
    2. Install the bolts.
      Fig 75: Installing Power Steering Pump Bracket
      G03412048Courtesy of FORD MOTOR CO.
  110. Install the generator.
    1. Position the A/C mounting bracket.
    2. Install the bolts.
    3. Position the generator.
    4. Install the generator pivot bolts.
      Fig 76: Installing A/C Mounting Bracket
      G03412049Courtesy of FORD MOTOR CO.
  111. Install the generator drive belt lock bolt and lock.
    Fig 77: Identifying Generator Drive Belt Lock Bolt And Lock
    G03412050Courtesy of FORD MOTOR CO.
  112. Install the A/C idler pulley and bracket.
    1. Position the A/C idler pulley and bracket.
    2. Install the bolts.
      Fig 78: Installing A/C Idler Pulley And Bracket
      G03412051Courtesy of FORD MOTOR CO.