lemon-mirror:
Home >> Mercury >> 2005 >> Monterey >> Repair and Diagnosis >> Transmission >> Automatic Trans >> Automatic Transmission >> Assembly >> Transaxle >> Assembly

Automatic Transmission: Assembly: Transaxle: Assembly

Fig 1: Exploded View Of Transaxle (1 Of 4)
G04005193Courtesy of FORD MOTOR CO.
Fig 2: Exploded View Of Transaxle (2 Of 4)
G04005194Courtesy of FORD MOTOR CO.
Fig 3: Exploded View Of Transaxle (3 Of 4)
G04005195Courtesy of FORD MOTOR CO.
Fig 4: Exploded View Of Transaxle (4 Of 4)
G04005196Courtesy of FORD MOTOR CO.
Fig 5: Transaxle Parts Description (1 Of 6)
G04005197Courtesy of FORD MOTOR CO.
Fig 6: Transaxle Parts Description (2 Of 6)
G04005198Courtesy of FORD MOTOR CO.
Fig 7: Transaxle Parts Description (3 Of 6)
G04005199Courtesy of FORD MOTOR CO.
Fig 8: Transaxle Parts Description (4 Of 6)
G04005200Courtesy of FORD MOTOR CO.
Fig 9: Transaxle Parts Description (5 Of 6)
G04005201Courtesy of FORD MOTOR CO.
Fig 10: Transaxle Parts Description (6 Of 6)
G04005202Courtesy of FORD MOTOR CO.
  1. Install the parking pawl assembly.
    1. Install the parking pawl and return spring.
    2. Install the parking pawl shaft.
    Fig 11: Locating Parking Pawl Assembly
    G03957318Courtesy of FORD MOTOR CO.
  2. Install the park pawl roll pin.
    Fig 12: Installing Park Pawl Roll Pin
    G03957319Courtesy of FORD MOTOR CO.
  3. Using the special tool, install the cup plug.
    Fig 13: Installing Cup Plug
    G04005205Courtesy of FORD MOTOR CO.
  4. NOTE: The bolt holes are offset and the drive sprocket can only be aligned one way.
    Fig 14: Installing Driven Sprocket Support
    G03957321Courtesy of FORD MOTOR CO.
  5. Install the driven sprocket support.
  6. Install the bolts.
    Fig 15: Installing Drive Sprocket Support Bolts
    G04005207Courtesy of FORD MOTOR CO.
  7. Using the special tool, install the converter impeller hub seal.
    Fig 16: Installing Converter Impeller Hub Seal
    G03957323Courtesy of FORD MOTOR CO.
  8. Install the differential carrier thrust bearing.
    1. Install the differential carrier thrust washer.
    2. Install the differential carrier thrust bearing and race (tabs down).
    Fig 17: Installing Differential Carrier Thrust Bearing
    G03957324Courtesy of FORD MOTOR CO.
  9. Install the final drive ring gear.
    Fig 18: Installing Final Drive Ring Gear
    G04005210Courtesy of FORD MOTOR CO.
  10. Install the rear planetary support spacer.
    Fig 19: Installing Rear Planetary Support Spacer
    G04005211Courtesy of FORD MOTOR CO.
  11. Install the final drive differential assembly.
    Fig 20: Identifying Final Drive Differential And Rear Planetary Support Assembly
    G03957019Courtesy of FORD MOTOR CO.
  12. Align the rear lube tube holes in the case window.
    Fig 21: Aligning Rear Lube Tube Holes In Case Window
    G03957328Courtesy of FORD MOTOR CO.
  13. NOTE: The retaining ring must be correctly installed.
    Fig 22: Installing Beveled Retaining Ring (1 Of 2)
    G04005214Courtesy of FORD MOTOR CO.
    Fig 23: Installing Beveled Retaining Ring (2 Of 2)
    G03957330Courtesy of FORD MOTOR CO.
  14. Using the special tool, install the beveled retaining ring.
  15. CAUTION: If the support is not visible on the inside diameter of the retaining ring, the low/intermediate piston could be damaged.
    Fig 24: Identifying Seating Of Retaining Ring
    G03957331Courtesy of FORD MOTOR CO.
  16. Make sure that the beveled retaining ring seats correctly in the case groove with the bevel down. The final drive support must be visible on the inside diameter of the retaining ring but must not seat against the case wall.
  17. Place a screwdriver into the differential case and pry up to make sure that the retaining ring is fully seated in the top of the case groove.
    Fig 25: Checking Seating Of Retaining Ring
    G03957332Courtesy of FORD MOTOR CO.
  18. Install the special tools.
    Fig 26: Installing Special Tools
    G04005218Courtesy of FORD MOTOR CO.
  19. Remove the No. 15 needle bearing.
    Fig 27: Removing No. 15 Needle Bearing
    G04005219Courtesy of FORD MOTOR CO.
  20. NOTE: The dial indicator extension rod must set on the No. 15 bearing surface.
    Fig 28: Installing Special Tools
    G03957335Courtesy of FORD MOTOR CO.
  21. Install the special tools.
  22. Install the special tool and zero the dial indicator.
    Fig 29: Installing Special Tool And Dial Indicator
    G04005221Courtesy of FORD MOTOR CO.
  23. Tighten the bolt.
    • Tighten to 1.5 Nm (12 lb-in).
    Fig 30: Tightening Special Tool Bolt
    G04005222Courtesy of FORD MOTOR CO.
  24. Read and record the dial indicator reading. If the dial indicator reading indicates movement more than the specification, the next larger beveled ring retainer will need to be used.
    Fig 31: Checking Dial Indicator Reading
    G03957338Courtesy of FORD MOTOR CO.
  25. Select the correct beveled retaining ring.
    Fig 32: Identifying Beveled Rings
    G04005224Courtesy of FORD MOTOR CO.
    BEVELED RETAINING RING SELECTION

    Item Part Number Thickness Style
    1 F5DZ-TD483-E 1.48-1.63 mm (0.058-0.064 inch) Style 5
    2 F5DZ-TD483-D 1.54-1.68 mm (0.061-0.067 inch) Style 4
    3 F5DZ-TD483-C 1.60-1.75 mm (0.063-0.0699 inch) Style 3
    4 F5DZ-TD483-B 1.66-1.81 mm (0.065-0.071 inch) Style 2
    5 F5DZ-TD483-A 1.72-1.87 mm (0.068-0.074 inch) Style 1
  26. NOTE: Make sure the No. 15 needle bearing is on the rear planet support hub and the black plastic No. 15 thrust washer is in place on top of the low/intermediate clutch spring retainer.
    Fig 33: Installing No. 15 Thrust Bearing
    G04005219Courtesy of FORD MOTOR CO.
  27. Install the No. 15 thrust bearing.
  28. Check the clearance for the No. 16 thrust washer. Mount the Dial Indicator with the stylus on the end of the output shaft. Zero the dial indicator.
    Fig 34: Checking Clearance For No. 16 Thrust Washer
    G03957341Courtesy of FORD MOTOR CO.
  29. Tighten the bolt. Read and record the dial indicator reading.
    • Tighten to 1.5 Nm (12 lb-in).
    Fig 35: Tightening Special Tool Bolt
    G04005222Courtesy of FORD MOTOR CO.
  30. NOTE: The beveled retaining ring and the rear planet support must be removed to change the No. 16 thrust race.
    Fig 36: Reading Dial Indicator Measurement
    G04005228Courtesy of FORD MOTOR CO.
  31. If the clearance is not within specification, a thicker or thinner washer will need to be added.
    NO. 16 THRUST RACE (WASHER) THICKNESS

    Thickness ID
    2.25-2.15 mm Green (No. 1)
    2.37-2.27 mm Blue (No. 2)
    2.49-2.39 mm Black (No. 3)
    2.61-2.51 mm White (No. 4)
    2.73-2.63 mm Brown (No. 5)
    2.85-2.75 mm Gold (No. 6)
  32. Install the low-intermediate one-way clutch assembly.
    Fig 37: Installing Low-Intermediate One-Way Clutch Assembly
    G03957344Courtesy of FORD MOTOR CO.
  33. NOTE: The friction plate internal splines will center the one-way clutch.
    Fig 38: Installing Low-Intermediate Clutch Pressure Plate Components
    G04005230Courtesy of FORD MOTOR CO.
  34. Install the low-intermediate clutch pressure plate.
    1. Install the low-intermediate clutch wave spring.
    2. Install the low-intermediate clutch pack.
    3. Install the low-intermediate clutch pressure plate.
  35. CAUTION: Make sure that the retaining ring is seated in the case groove.
    Fig 39: Installing Low-Intermediate Clutch Retaining Ring
    G04005231Courtesy of FORD MOTOR CO.
  36. Install the low-intermediate clutch retaining ring.
  37. WARNING: To prevent injury, wear eye protection when using pressurized air.
    NOTE: Be sure the pressurized air is dry and regulated at 276 kPa (40 psi).
    Fig 40: Checking Piston Seal For Air Leak
    G03957347Courtesy of FORD MOTOR CO.
  38. Apply regulated air pressure to the low-intermediate apply port. Make sure that the piston moves and no air is leaking past the piston seal.
  39. Measure the clearance between the clutch pressure plate and the low-intermediate clutch retainer. If the clearance is not within specification, a thicker or thinner retainer may be needed.
    Fig 41: Measuring Clearance Between Clutch Pressure Plate And Low-Intermediate Clutch Retainer
    G03957348Courtesy of FORD MOTOR CO.
    SELECTIVE RETAINING RINGS

    Thickness mm Thickness inch
    1.54-1.64 0.061-0.065
    2.08-2.18 0.082-0.086
    2.62-2.72 0.103-0.107
    3.16-3.26 0.125-0.128
    3.68-3.78 0.145-0.149
  40. Install the coast band.
    1. Install the coast band.
    2. Align the anchor pin pocket with the anchor pin in the case.
    Fig 42: Installing Coast Band
    G03957349Courtesy of FORD MOTOR CO.
  41. Install the low-intermediate drum. Rotate the low-intermediate drum and sun gear into the low-intermediate one-way clutch.
    Fig 43: Installing Low-Intermediate Drum
    G03957350Courtesy of FORD MOTOR CO.
  42. Install the park rod abutment and make sure that the park pawl moves freely.
    Fig 44: Installing Park Rod Abutment & Identifying Torque Specification
    G04005236Courtesy of FORD MOTOR CO.
  43. Install the coast band piston cover.
    1. Install the coast band servo piston spring.
    2. Install the coast band servo piston.
    3. Install the coast band servo piston cover.
    Fig 45: Installing Coast Band Piston Cover
    G03957352Courtesy of FORD MOTOR CO.
  44. Using the special tool, install the coast servo cover retaining ring.
    Fig 46: Installing Coast Servo Cover Retaining Ring
    G03957353Courtesy of FORD MOTOR CO.
  45. Using the special tools, install the front planetary/reverse clutch assembly.
    Fig 47: Installing Front Planetary/Reverse Clutch Assembly
    G04005239Courtesy of FORD MOTOR CO.
  46. Make sure that the reverse clutch cylinder apply tube hole is aligned with the case hole. Remove the tool.
    Fig 48: Aligning Reverse Clutch Cylinder Apply Tube Hole With Case Hole
    G03957355Courtesy of FORD MOTOR CO.
  47. Loosely install the reverse clutch anchor pin.
    Fig 49: Installing Reverse Clutch Anchor Pin
    G03957356Courtesy of FORD MOTOR CO.
  48. Using the special tool, install the forward/intermediate clutch assembly. Align the shell and sun gear into the front planet.
    Fig 50: Installing Forward/Intermediate Clutch Assembly
    G03957357Courtesy of FORD MOTOR CO.
  49. Install the overdrive band.
    Fig 51: Installing Overdrive Band
    G04005243Courtesy of FORD MOTOR CO.
  50. NOTE: The foot of the overdrive retainer fits against the band.
    Fig 52: Installing Overdrive Band Anchor Strut
    G04005244Courtesy of FORD MOTOR CO.
  51. Install the overdrive band anchor strut with the cross hairs facing upward.
  52. Remove the No. 8 sprocket thrust washer and the No. 9 bearing and race from the driven sprocket support.
    1. Remove the No. 9 bearing and race.
    2. Remove the No. 8 sprocket support.
    Fig 53: Removing No. 8 Sprocket Thrust Washer And No. 9 Bearing & Race
    G03957360Courtesy of FORD MOTOR CO.
  53. Install only the No. 9 needle bearing with the outer lip upward.
    Fig 54: Installing No. 9 Needle Bearing
    G03957361Courtesy of FORD MOTOR CO.
  54. Install the special tool over the output shaft until it is fully seated on to the No. 9 needle bearing.
    Fig 55: Installing Special Tool Over Output Shaft
    G04005247Courtesy of FORD MOTOR CO.
  55. Install the special tool to make the measurements.
    Fig 56: Identifying Special Tools (1 Of 2)
    G03957363Courtesy of FORD MOTOR CO.
  56. When taking the measurement, record readings on both sides of the output shaft 180 degrees apart from each other. Add both readings and divide by two to obtain reading A.
    Fig 57: Identifying Special Tools (2 Of 2)
    G03957364Courtesy of FORD MOTOR CO.
  57. NOTE: Reading A and Dimension C from the chart will be used in the selection of the No. 5 thrust washer.
  58. Use reading A to select the correct No. 8 thrust washer from the chart.
    NO. 8 THRUST WASHER SELECTION CHART

    Reading A Washer Thickness Dimension C Color/ID
    42.88-43.10 mm (1.688-1.696 inch) 1.43-1.53 mm (0.056-0.060 inch) 1.48 mm (0.058 inch) Natural (No. 1)
    43.11-43.34 mm (1.697-1.706 inch) 1.68-1.78 mm (0.066-0.070 inch) 1.73 mm (0.068 inch) Dark Green (No. 2)
    43.35-43.59 mm (1.707-1.716 inch) 1.92-2.02 mm (0.075-0.080 inch) 1.97 mm (0.077 inch) Light Blue (No. 3)
    43.60-43.77 mm (1.717-1.723 inch) 2.17-2.27 mm (0.085-0.089 inch) 2.22 mm (0.087 inch) Red (No. 4)
    43.78-43.98 mm (1.724-1.731 inch) 2.35-2.45 mm (0.093-0.096 inch) 2.40 mm (0.094) Black (No. 5)
  59. Remove the special tools.
    Fig 58: Removing Special Tools
    G03957363Courtesy of FORD MOTOR CO.
  60. Install the special tools to take the measurements.
    Fig 59: Installing Special Tools
    G03957366Courtesy of FORD MOTOR CO.
  61. Measure down to the No. 5 thrust washer mating surface of the overdrive drum. Take another reading on the other side of the drum 180 degrees from the first one. Add both readings and divide by two to obtain reading B.
    Fig 60: Measuring Down To No. 5 Thrust Washer Mating Surface Of Overdrive Drum
    G03957367Courtesy of FORD MOTOR CO.
  62. Remove the special tools.
    Fig 61: Removing Special Tools
    G03957366Courtesy of FORD MOTOR CO.
  63. NOTE: Reading A was obtained during No. 8 thrust washer selection. Dimension C is found on the No. 8 thrust washer selection chart.
  64. Subtract reading A from Reading B and add the difference between A and B to dimension C. Record this reading as D.
    READINGS

    -
    Reading B:_____
    - Reading A:_____
    Difference:_____
    +Dimension C:_____
    Reading D:_____
  65. Use Reading D to select the correct No. 5 thrust washer.
    NO. 5 SUPPORT THRUST WASHER CHART

    Reading D Washer Thickness Color/ID
    26.08-26.37 mm (1.027-1.038 inch) 2.18-2.28 mm (0.086-0.090 inch) Green (No. 1)
    26.38-26.61 mm (1.039-1.047 inch) 2.43-2.53 mm (0.096-0.100 inch) Black (No. 2)
    26.62-26.86 mm (1.048-1.057 inch) 2.67-2.77 mm (0.105-0.109 inch) Natural (No. 3)
    26.87-27.15 mm (1.058-1.068 inch) 2.92-3.02 mm (0.115-0.119 inch) Red (No. 4)
    27.16-27.50 mm (1.069-1.083 inch) 3.26-3.36 mm (0.128-0.132 inch) Blue (No. 5)
  66. NOTE: Use petroleum jelly to hold the No. 5 thrust washer in place.
    Fig 62: Installing No. 5 Front Support Thrust Washer
    G04005254Courtesy of FORD MOTOR CO.
  67. Install the No. 5 front support thrust washer.
  68. CAUTION: The No. 9 direct hub needle bearing may still be inside the transaxle from the No. 8 driven sprocket support thrust washer selection procedure. Use petroleum jelly to hold bearing and washer in place.
    Fig 63: Installing Thrust Washer & Needle Bearing
    G03957370Courtesy of FORD MOTOR CO.
  69. Install the correct bearing.
    1. Install the correct No. 8 driven sprocket support thrust washer.
    2. Install the No. 9 direct clutch needle bearing.
  70. Install the driven sprocket support assembly.
    Fig 64: Installing Driven Sprocket Support Assembly
    G03957371Courtesy of FORD MOTOR CO.
  71. Install the neutral/drive accumulator cover.
    1. Install the neutral/drive accumulator piston.
    2. Install the neutral/drive accumulator spring.
      • The outer spring is yellow in color.
      • The inner spring is grey in color.
    3. Install the neutral/drive accumulator cover.
    Fig 65: Installing Neutral/Drive Accumulator Cover Components
    G03957372Courtesy of FORD MOTOR CO.
  72. Install the bolt.
    Fig 66: Installing Cover Bolt
    G04005258Courtesy of FORD MOTOR CO.
  73. NOTE: All the fluid supply tubes must have new O-rings installed.
    Fig 67: Installing Fluid Supply Tubes
    G03957374Courtesy of FORD MOTOR CO.
  74. Install the fluid supply tubes.
  75. Install the brackets and bolts.
    • Tighten to 11 Nm (8 lb-ft).
    Fig 68: Installing Brackets And Bolts
    G04005260Courtesy of FORD MOTOR CO.
  76. Using the special tool, install the manual control lever shaft seal.
    Fig 69: Installing Manual Control Lever Shaft Seal
    G03957376Courtesy of FORD MOTOR CO.
  77. Install the parking lever actuating rod.
    • Push in on the park pawl.
    • Slide the parking lever actuating rod down to fit in the park pawl.
    Fig 70: Installing Parking Lever Actuating Rod
    G03957377Courtesy of FORD MOTOR CO.
  78. NOTE: The manual control valve detent lever must be installed with the shoulder and roll pin hole pointing toward the driven sprocket support.
    Fig 71: Installing Manual Control Lever Shaft
    G04005263Courtesy of FORD MOTOR CO.
  79. Install the manual control lever shaft.
  80. NOTE: Prior to installing the roll pins be sure that the manual control valve detent lever shoulder and roll pin hole is pointing toward the driven sprocket support.
    Fig 72: Installing Roll Pins
    G04005264Courtesy of FORD MOTOR CO.
  81. Install the roll pins.
  82. NOTE: Apply petroleum jelly to the drive sprocket thrust washer and driven sprocket thrust washer to hold them in place.
    Fig 73: Installing Thrust Washers
    G04005265Courtesy of FORD MOTOR CO.
  83. Install the thrust washers.
    1. Install the No. 2 drive sprocket thrust washer.
    2. Install the No. 4 driven sprocket thrust washer.
  84. CAUTION: Be careful not to damage or bend the exciter tabs on the driven sprocket speed sensor wheel. The TSS sensor will not operate correctly if the tabs are bent.
    NOTE: Lower the assembly into the sprocket supports simultaneously.
    Fig 74: Installing Drive Chain And Sprockets
    G03957381Courtesy of FORD MOTOR CO.
  85. Install the drive chain and sprockets.
  86. Install the shift accumulator springs.
    1. Install the 1-2 shift accumulator piston spring (no color or brown).
    2. Install the 2-3 shift accumulator piston spring (no color or brown).
    3. Install the reverse shift accumulator piston spring (pink).
    4. Install the 3-4 shift accumulator piston spring (pink).
    Fig 75: Installing Shift Accumulator Springs
    G03956994Courtesy of FORD MOTOR CO.
  87. NOTE: Make sure that the alignment pins are installed in the case.
    Fig 76: Installing New Chain Cover Gasket
    G03957383Courtesy of FORD MOTOR CO.
  88. Install the new chain cover gasket.
  89. CAUTION: Be extremely careful not to damage the cast iron sealing ring.
    Fig 77: Installing Thrust Washers & Chain Cover
    G03957384Courtesy of FORD MOTOR CO.
  90. Use petroleum jelly to hold thrust washers in place during assembly.
    1. Install the No. 1 thrust washer.
    2. Install the No. 2 thrust washer.
    3. Install the chain cover.
  91. NOTE: After installing the chain cover the input shaft should have some end play and should rotate freely. Apply gentle downward pressure on the chain cover to overcome spring pressure.
    Fig 78: Installing Chain Cover Bolts (2)
    G03957385Courtesy of FORD MOTOR CO.
  92. Start the two bolts.
  93. Install the remaining bolts.
    • Tighten No. 1 to 25 Nm (18 lb-ft).
    • Tighten No. 2 to 43 Nm (32 lb-ft).
    • Tighten No. 3 to 31 Nm (23 lb-ft).
    • Tighten No. 4 to 11 Nm (8 lb-ft).
    Fig 79: Installing Remaining Chain Cover Bolts
    G04005271Courtesy of FORD MOTOR CO.
  94. Install the bolts.
    • Tighten No. 1 to 26 Nm (19 lb-ft).
    • Tighten No. 2 to 12 Nm (9 lb-ft).
    Fig 80: Installing Housing Bolts
    G04005272Courtesy of FORD MOTOR CO.
  95. CAUTION: The test spring from the overdrive servo rod tool is plain in color and has a shorter free height than the operational spring. Extreme care must be used not to assemble the transaxle using the test spring.
    Fig 81: Inspecting Spring Height
    G03957388Courtesy of FORD MOTOR CO.
  96. Inspect the spring height.
    1. Test spring.
    2. Original spring.
  97. Check overdrive servo travel. Install the overdrive servo piston.
    1. Install the test spring.
    2. Install the overdrive servo piston.
    Fig 82: Identifying Overdrive Servo Piston & Spring
    G03957389Courtesy of FORD MOTOR CO.
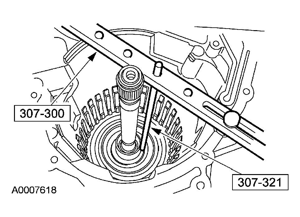
  98. Install the special tools.
    Fig 83: Installing Special Tools
    G03957390Courtesy of FORD MOTOR CO.
  99. Using the special tools, tighten the center screw and zero out the dial indicator.
    Fig 84: Tightening Center Screw And Zero Out Dial Indicator
    G03957391Courtesy of FORD MOTOR CO.
  100. Using the special tools, back off the center screw until the piston movement stops and read the dial indicator. The reading should be within specification. If the reading does not match the specification, see OVERDRIVE PISTON ROD SELECTION  table and determine which overdrive servo rod to use.
    Fig 85: Reading Dial Indicator
    G03957392Courtesy of FORD MOTOR CO.
  101. If the overdrive servo travel was incorrect, install a new overdrive servo rod. Zero the dial indicator and repeat the above step to verify the amount of piston travel. If within specification, remove the tool and test spring.
    OVERDRIVE PISTON ROD SELECTION

    Overdrive Servo Rod Length No. Of Grooves (1)
    mm inch
    99.33 3.91 0
    98.05 3.86 1
    96.78 3.81 2
    (1) Grooves are at the tip.
  102. CAUTION: Do not assemble the transaxle using the test spring.
    Fig 86: Installing Overdrive Servo Components
    G03957393Courtesy of FORD MOTOR CO.
  103. Install the overdrive servo.
    1. Install the overdrive servo spring.
    2. Install the overdrive servo.
    3. Install the overdrive servo cover and bolts.
  104. Install the transmission test plate.
    Fig 87: Installing Transmission Test Plate
    G03957394Courtesy of FORD MOTOR CO.
  105. WARNING: Wear safety glasses while carrying out this procedure to prevent personal injury.
    NOTE: When applying regulated 276 kPa (40 psi) air pressure to the appropriate passage, a dull thud should be heard when the clutch or band applies. There should be no hissing sound when the clutch or band applies.
    NOTE: Plugging the vent hole during the test will provide an inaccurate result.
    Fig 88: Identifying Vent Holes In Test Plate
    G04005280Courtesy of FORD MOTOR CO.
    APPROPRIATE CLUTCH PORTS

    Item Description
    1 1-2 accumulator test passage
    2 Overdrive servo test passage
    3 Direct clutch test passage
    4 Low/intermediate clutch and accumulator test passage
    5 Coast band test passage
    6 Reverse clutch test passage
    7 3-4 accumulator test passage
    8 Neutral/reverse accumulator test passage
    9 Vent hole
    10 Forward clutch test passage
    11 Intermediate clutch test passage
    12 2-3 accumulator test passage
  106. Cover the vent hole in the test plate with a clean lint free shop towel to prevent spray when air is applied. Apply air pressure to the appropriate clutch ports.
  107. CAUTION: The seals must be lapped correctly or internal leakage will occur.
    Fig 89: Identifying Seal Ring Mating
    G03957047Courtesy of FORD MOTOR CO.
  108. Install the new Teflon® seals on the pump shaft.
  109. Install the pump shaft.
    Fig 90: Installing Pump Shaft
    G03957397Courtesy of FORD MOTOR CO.
  110. Install the manual valve detent lever.
    Fig 91: Installing Manual Valve Detent Lever
    G03957398Courtesy of FORD MOTOR CO.
  111. Install the main control valve body over the pump shaft and connect the main control valve actuating rod while pushing down until it is seated on the chain cover.
    Fig 92: Installing Main Control Valve Body Over Pump Shaft
    G03956778Courtesy of FORD MOTOR CO.
  112. CAUTION: Do not use the bolts to draw pump assembly and main control valve body onto the chain cover case. Component damage may occur.
    Fig 93: Installing Pump Assembly And Main Control Valve Body
    G04004696Courtesy of FORD MOTOR CO.
  113. Use the valve body guide pins to install the pump assembly and main control valve body. Install the bolts and tighten in sequence.
    • Tighten to 10 Nm (89 lb-in).
  114. Connect the connectors.
    Fig 94: Connecting Connectors
    G03956775Courtesy of FORD MOTOR CO.
  115. NOTE: The transaxle side cover gasket is reusable if not torn or ripped.
    Fig 95: Inspecting Gasket
    G03956781Courtesy of FORD MOTOR CO.
  116. Remove the gasket. Clean and inspect the gasket, and reinstall into the pan.
  117. Install the M8 x 1.25 pan bolts.
    • Tighten to 25 Nm (18 lb-ft).
    Fig 96: Installing M8 X 1.25 Pan Bolts (2)
    G04004699Courtesy of FORD MOTOR CO.
  118. Install the M6 x 1.00 pan bolts.
    • Tighten to 12 Nm (9 lb-ft).
    Fig 97: Installing M6 X 1.00 Pan Bolts
    G04004700Courtesy of FORD MOTOR CO.
  119. Install the mounting bracket and bolts.
    • Tighten to 62 Nm (46 lb-ft).
    Fig 98: Installing Mounting Bracket And Bolts
    G04004689Courtesy of FORD MOTOR CO.
  120. Tighten the reverse clutch anchor bolt.
    1. Tighten the anchor bolt.
      • Tighten to 11 Nm (8 lb-ft).
    2. Tighten the lock nut.
      • Tighten to 43 Nm (32 lb-ft).
    Fig 99: Tightening Reverse Clutch Anchor Bolt/Nut
    G04005291Courtesy of FORD MOTOR CO.
  121. Install the new seal and gasket kit and seal assembly.
    Fig 100: Installing Seal And Gasket Kit And Seal Assembly
    G03956989Courtesy of FORD MOTOR CO.
  122. Install the fluid pan magnet.
    Fig 101: Installing Fluid Pan Magnet
    G03956988Courtesy of FORD MOTOR CO.
  123. NOTE: The gasket is reusable if not damaged or torn.
    Fig 102: Installing Transmission Fluid Pan And Gasket
    G03957408Courtesy of FORD MOTOR CO.
  124. Install the transmission fluid pan and gasket.
  125. Install the turbine shaft speed (TSS) sensor.
    1. Install the sensor.
    2. Install the bolt.
    Fig 103: Installing Turbine Shaft Speed (TSS) Sensor
    G03957409Courtesy of FORD MOTOR CO.
  126. NOTE: Locate and align the orange dot adjacent to the stud on the torque converter and place it in the 6 o'clock position.
  127. Verify that the shift selector lever is in NEUTRAL.
  128. Install the digital TR sensor and loosely install the bolts.
    Fig 104: Installing Digital TR Sensor
    G03957410Courtesy of FORD MOTOR CO.
  129. Using the special tool, align the digital TR sensor and tighten the bolts.
    Fig 105: Aligning Digital TR Sensor
    G04005297Courtesy of FORD MOTOR CO.
  130. Install the fluid filler tube with a new grommet.
    1. Install the grommet.
    2. Install the fluid filler tube.
    • Tighten to 10 Nm (89 lb-in).
    Fig 106: Installing Fluid Filler Tube With Grommet
    G04005298Courtesy of FORD MOTOR CO.
  131. Using the special tool, install the LH output shaft seal.
    Fig 107: Installing LH Output Shaft Seal
    G03957413Courtesy of FORD MOTOR CO.
  132. Using the special tool, install the RH output shaft seal.
    Fig 108: Installing RH Output Shaft Seal
    G03956835Courtesy of FORD MOTOR CO.
  133. Install the output shaft speed (OSS) sensor and reconnect the harness.
    Fig 109: Locating OSS Sensor
    G03956968Courtesy of FORD MOTOR CO.
  134. Install the OSS sensor cover.
    1. Install the OSS cover.
    2. Install the bolt.
      • Tighten to 11 Nm (8 lb-ft).
    3. Connect the connector to the bracket.
    Fig 110: Connecting Connector To Bracket
    G04004723Courtesy of FORD MOTOR CO.
  135. Install the identification tag, if removed.
    Fig 111: Installing Identification Tag
    G03956963Courtesy of FORD MOTOR CO.
  136. NOTE: Locate and align the orange dot adjacent to the stud on the torque converter and place it in the 6 o'clock position.
    Fig 112: Installing Torque Converter
    G03956961Courtesy of FORD MOTOR CO.
  137. Using the special tools, install the torque converter.