lemon-mirror:
Home >> Mitsubishi >> 1985 >> Galant >> Repair and Diagnosis >> Engine Performance >> System >> ECI CEC System >> Operation >> Data Sensors >> Intake Air Temperature Sensor

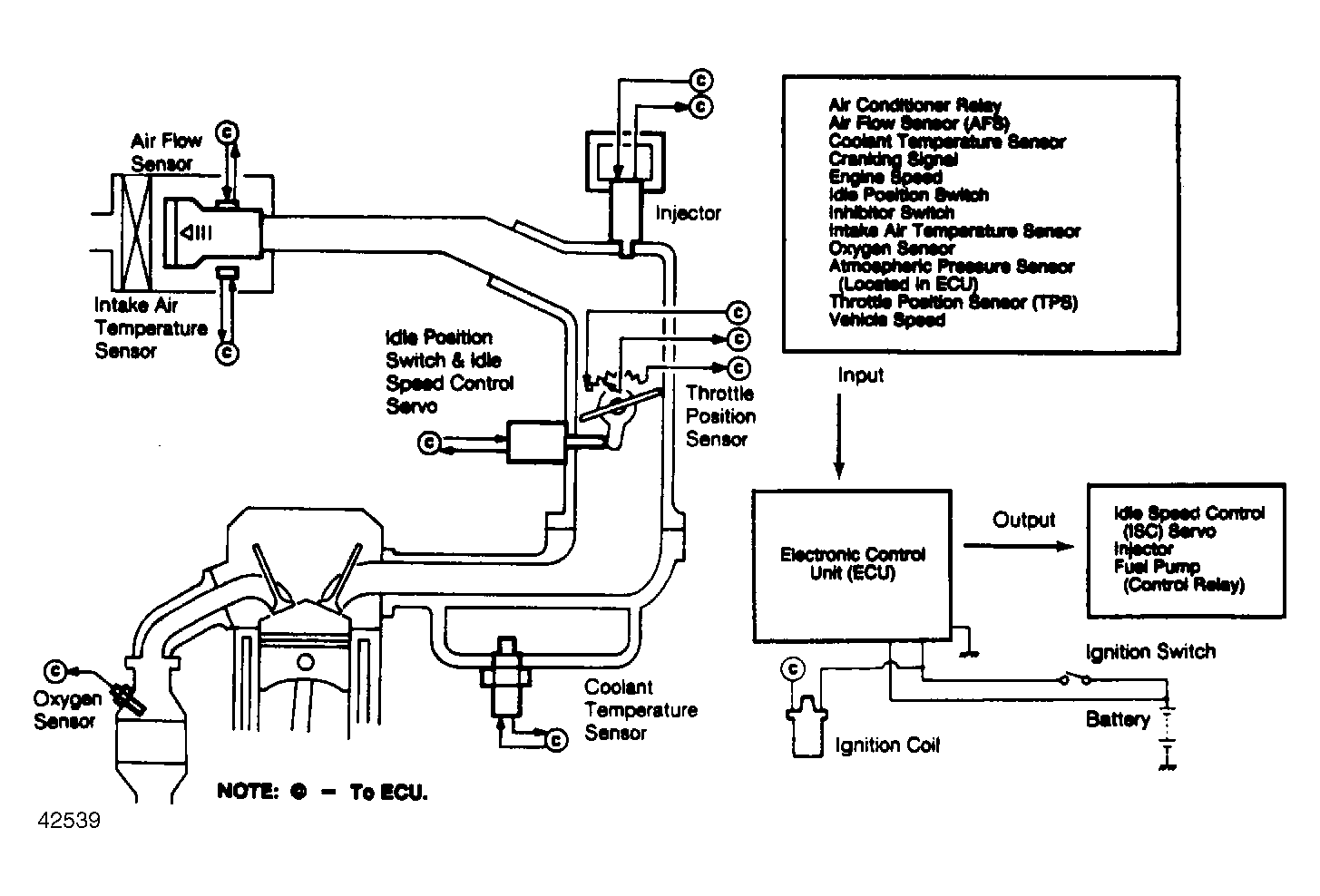
Intake Air Temperature Sensor

This sensor is mounted to modulator located the in air cleaner, as a component part of airflow sensor. The sensor measures temperature of incoming air, supplying air density information to the ECU. The ECU uses air temperature sensor information for controlling fuel delivery.

Fig 1: Mitsubishi Galant ECI System
G42539