lemon-mirror:
Home >> Mitsubishi >> 1990 >> Sigma >> Repair and Diagnosis >> Engine Performance >> System >> Engine Controls - Tests W/Codes >> Code Charts - 2.4L >> NS-2: Testing For Fuel

NS-2: Testing For Fuel

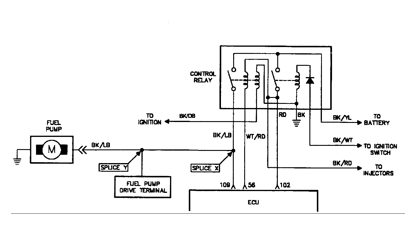
Fig 1: Circuit Diagram NS-2 (2.4L)
G90C19978
Fig 2: Circuit Diagram NS-2 (2.4L)
G90I19982
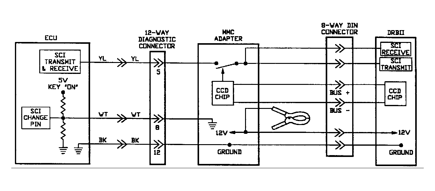
Fig 3: Circuit Diagram NS-2 (2.4L)
G90H19981
Fig 4: Flow Chart NS-2 (2.4L) (1 of 3)
G90F20011
Fig 5: Flow Chart NS-2 (2.4L) (2 of 3)
G90G20012
Fig 6: Flow Chart NS-2 (2.4L) (3 of 3)
G90H20013