lemon-mirror:
Home >> Mitsubishi >> 1990 >> Sigma >> Repair and Diagnosis >> Engine Performance >> System >> Engine Controls - Tests W/Codes >> Code Charts - 3.0L >> NS-6: Testing Control Relay Circuit

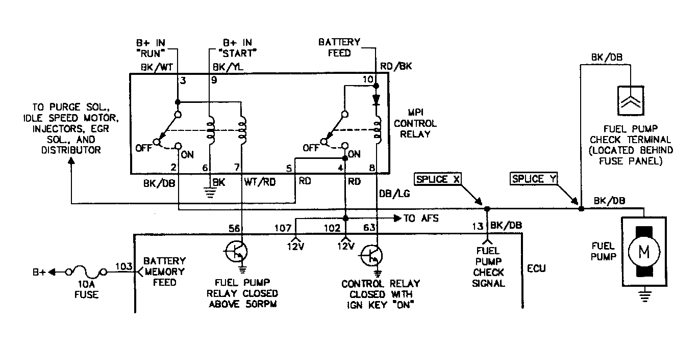
NS-6: Testing Control Relay Circuit

Fig 1: Circuit Diagram NS-6 (3.0L)
G90H20070
Fig 2: Flow Chart NS-6 (3.0L) (1 of 2)
G90E20101
Fig 3: Flow Chart NS-6 (3.0L) (2 of 2)
G90F20102