lemon-mirror:
Home >> Mitsubishi >> 1992 >> Expo Base, Automatic >> Repair and Diagnosis >> Engine Performance >> System >> Engine Controls - Tests W/Codes >> Code Charts >> Dr-3A: Code 12, Testing Airflow Sensor

Dr-3A: Code 12, Testing Airflow Sensor

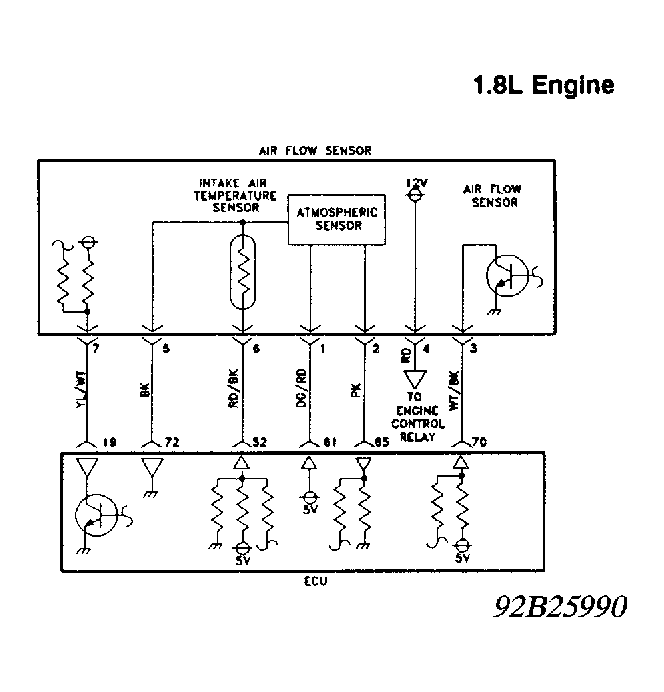
Fig 1: Test DR-3A Schematic (1.8L) - Code 12 Testing Airflow Sensor
G92B25990
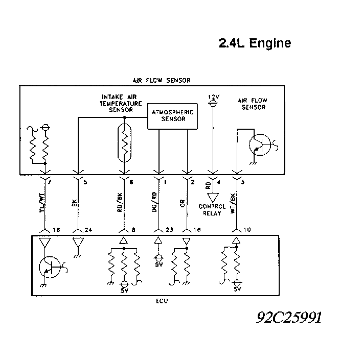
Fig 2: Test DR-3A Schematic (2.4L) - Code 12 Testing Airflow Sensor
G92C25991
Fig 3: Test DR-3A Flow Chart (1 Of 3) Testing Airflow Sensor
G92D25992
Fig 4: Test DR-3A Flow Chart (2 Of 3) Testing Airflow Sensor
G92E25993
Fig 5: Test DR-3A Flow Chart (3 Of 3) Testing Airflow Sensor
G92F25994