lemon-mirror:
Home >> Mitsubishi >> 1997 >> Eclipse Base, Automatic >> Repair and Diagnosis >> Electrical >> Component Locations >> Electrical Component Locator >> Component Location Graphics

Component Location Graphics

NOTE: Figures may show multiple component locations. Refer to appropriate table for proper figure references.
Fig 1: Left Rear Of Engine Compartment (2.0L Non-Turbo)
G97C00382
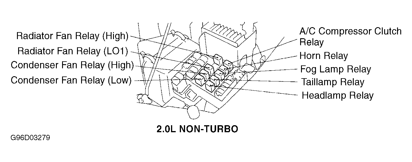
Fig 2: Right Side Of Engine Compartment (2.0L Non-Turbo)
G96D03279
Fig 3: Behind Center Of Dash (2.0L Turbo & 2.4L)
G97D00383
Fig 4: Behind Center Of Dash (2.4L)
G97E00384
Fig 5: Right Side Of Engine Compartment (2.0L Turbo)
G96J03282
Fig 6: Right Rear Of Engine Compartment (2.0L Non-Turbo)
G97F00385
Fig 7: Right Side Of Engine Compartment (2.4L)
G97G00386
Fig 8: Top Right Side Of Engine (2.0L Turbo & 2.4L)
G97B00399
Fig 9: Behind Left Side Of Dash
G96I03286
Fig 10: Behind Center Of Dash
G96A03287
Fig 11: Left Side Of Engine Compartment (2.4L)
G97H00387
Fig 12: Left Side Of Luggage Compartment
G97I00388
Fig 13: Behind Left Side Of Dash
G97J00389
Fig 14: Behind Center Of Dash
G96I03291
Fig 15: Right Side Of Engine Compartment (2.0L Turbo)
G96A03292
Fig 16: Top Of Steering Column
G96C03293
Fig 17: Center Of Dash
G96E03294
Fig 18: Behind Left Side Of Dash
G96H03295
Fig 19: Behind Glove Box
G96J03296
Fig 20: Behind Left Side Of Dash
G96B03297
Fig 21: Left Side Of Engine Compartment (2.0L Non-Turbo)
G97C00390
Fig 22: Front Of Luggage Compartment
G97D00391
Fig 23: Behind Center Of Dash (2.0L Turbo & 2.4L)
G96J03300
Fig 24: Behind Center Of Dash
G96B03301
Fig 25: Behind Glove Box (2.0L Non-Turbo)
G97E00392
Fig 26: Below Center Console
G97F00393
Fig 27: Behind Glove Box (2.0L Turbo & 2.4L)
G97G00394
Fig 28: Center Of Windshield Header
G96A03305
Fig 29: Behind Glove Box
G96C03306
Fig 30: Locating Camshaft Position Sensor (2.0L Non-Turbo & Turbo)
G00082115Courtesy of MITSUBISHI MOTOR SALES OF AMERICA.
Fig 31: Locating Crankshaft Position Sensor (2.0L Non-Turbo)
G00082114Courtesy of MITSUBISHI MOTOR SALES OF AMERICA.
Fig 32: Behind Left Side Of Glove Box
G96E03307
Fig 33: Behind Left Side Of Dash
G97H00395
Fig 34: Behind Left Side Of Dash
G96I03309
Fig 35: Left Quarterpanel (Coupe)
G97I00396
Fig 36: Front Of Luggage Compartment (Convertible)
G97J00397
Fig 37: Left Side Of Dash
G96E03312
Fig 38: Right Side Of Firewall (2.0L Turbo & 2.4L)
G97A00398