OBD-II Drive Cycle: Notes
CAUTION:
Two technicians should always be in the vehicle when carrying out a test drive.
NOTE:
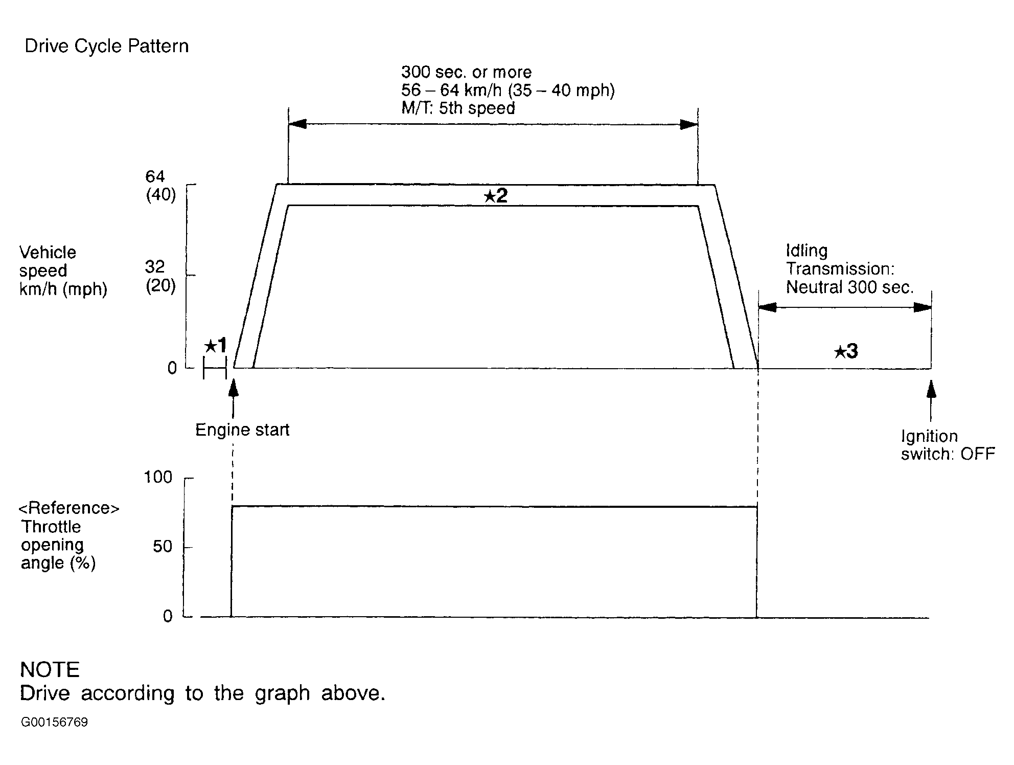
All kinds of diagnostic trouble codes can be monitored by carrying out a short drive according to the following six drive cycle pattern. In other words, doing such a drive allows to regenerate any kind of trouble which involves illuminating the Check Engine/Malfunction Indicator Lamp and to verify the repair procedures has eliminated the trouble (the Check Engine/Malfunction Indicator Lamp is no longer illuminated).
OBD-II DRIVE CYCLE
| Code | Monitor | See |
|---|---|---|
| P0100 | Volume Air Flow Sensor | Figure & Figure |
| P0105 | Barometric Pressure Sensor | Figure & Figure |
| P0110 | Intake Air Temperature Sensor | Figure & Figure |
| P0115 | Engine Coolant Temperature Sensor | Figure & Figure |
| P0120 | Throttle Position Sensor | Figure & Figure |
| P0125 | Excessive Time To Enter Closed Loop Fuel Control | Figure & Figure |
| P0130 | Heated Oxygen Sensor/O2 Sensor | Figure , Figure & Figure |
| P0135 | O2 Sensor Heated Circuit | Figure & Figure |
| P0136 | Heated Oxygen Sensor/O2 Sensor | Figure , Figure & Figure |
| P0141 | O2 Sensor Heated Circuit | Figure & Figure |
| P0150 | Heated Oxygen Sensor/O2 Sensor | Figure , Figure & Figure |
| P0155 | O2 Sensor Heated Circuit | Figure & Figure |
| P0156 | Heated Oxygen Sensor/O2 Sensor | Figure , Figure & Figure |
| P0161 | O2 Sensor Heated Circuit | Figure & Figure |
| P0170 | Fuel Trim | Figure |
| P0173 | Fuel Trim | Figure |
| P0201 | Injector Circuit | Figure & Figure |
| P0202 | Injector Circuit | Figure & Figure |
| P0203 | Injector Circuit | Figure & Figure |
| P0204 | Injector Circuit | Figure & Figure |
| P0205 | Injector Circuit | Figure & Figure |
| P0206 | Injector Circuit | Figure & Figure |
| P0300 | Misfire | Figure & Figure |
| P0301 | Misfire | Figure & Figure |
| P0302 | Misfire | Figure & Figure |
| P0303 | Misfire | Figure & Figure |
| P0304 | Misfire | Figure & Figure |
| P0305 | Misfire | Figure & Figure |
| P0306 | Misfire | Figure & Figure |
| P0335 | Crankshaft Position Sensor | Figure & Figure |
| P0340 | Camshaft Position Sensor | Figure & Figure |
| P0400 | Exhaust Gas Recirculation (EGR) System | Figure |
| P0403 | EGR Solenoid | Figure & Figure |
| P0420 | Catalytic Converter | Figure |
| P0421 | Catalytic Converter | Figure |
| P0431 | Catalytic Converter | Figure |
| P0440 | Evaporative Emission Control System | Figure & Figure |
| P0442 | Evaporative Emission Control System Leak | Figure |
| P0443 | Evaporative Emission Purge Solenoid | Figure & Figure |
| P0446 | Evaporative Emission Purge Ventilation Solenoid | Figure & Figure |
| P0450 | Evaporative Emission Control System Leak | Figure |
| P0505 | Idle Air Control System | Figure & Figure |
| P0510 | Closed Throttle Position Switch | Figure & Figure |
| P0551 | Power Steering Pressure Sensor Circuit Range/Performance | Figure & Figure |
| P1400 | Manifold Differential Pressure Sensor | Figure & Figure |
| P1600 | Serial Communication Link <A/T> | Figure & Figure |