lemon-mirror:
Home >> Mitsubishi >> 1998 >> Eclipse GSX, Automatic >> Repair and Diagnosis >> Electrical >> Component Locations >> Electrical Component Locator >> Component Location Graphics

Component Location Graphics

NOTE: Figures may show multiple component locations. Refer to appropriate table for proper figure references.
Fig 1: Left Side Of Engine Compartment (2.0L Non-Turbo)
G97C00390
Fig 2: Behind Glove Box (2.0L Non-Turbo)
G97E00392
Fig 3: Behind Center Of Dash (2.0L Turbo & 2.4L)
G96J03300
Fig 4: Behind Glove Box (2.0L Turbo & 2.4L)
G97G00394
Fig 5: Right Side Of Firewall (2.0L Turbo & 2.4L)
G97A00398
Fig 6: Top Right Side Of Engine (2.0L Turbo & 2.4L)
G97B00399
Fig 7: Right Side Of Engine Compartment (2.0L Turbo)
G96A03292
Fig 8: Left Side Of Engine Compartment (2.4L)
G97H00387
Fig 9: Behind Center Of Dash
G96I03291
Fig 10: Behind Left Side Of Dash
G96B03297
Fig 11: Left Front Of Engine Compartment
G98J02334
Fig 12: Behind Center Of Dash
G96B03301
Fig 13: Below Center Console
G97F00393
Fig 14: Behind Glove Box
G96C03306
Fig 15: Left Side Of Dash
G96E03312
Fig 16: Behind Left Side Of Dash
G96I03309
Fig 17: Behind Left Side Of Dash
G98I02338
Fig 18: Behind Left Side Of Dash
G97J00389
Fig 19: Center Of Windshield Header
G98E02336
Fig 20: Front Of Luggage Compartment
G97D00391
Fig 21: Front Of Luggage Compartment (Convertible)
G97J00397
Fig 22: Left Quarterpanel (Coupe)
G97I00396
Fig 23: Top Of Steering Column
G96C03293
Fig 24: Center Of Dash
G96E03294
Fig 25: Behind Left Side Of Dash
G96H03295
Fig 26: Left Side Of Luggage Compartment
G97I00388
Fig 27: Behind Center Of Dash
G96A03287
Fig 28: Behind Left Side Of Dash
G96I03286
Fig 29: Right Rear Of Engine Compartment (2.0L Non-Turbo)
G97F00385
Fig 30: Left Rear Of Engine Compartment (2.0L Turbo)
G97C00382
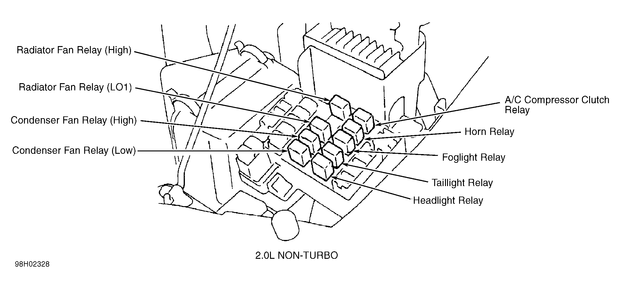
Fig 31: Right Side Of Engine Compartment (2.0L Non-Turbo)
G98H02328
Fig 32: Behind Center Of Dash (2.0L Turbo & 2.4L)
G97D00383
Fig 33: Right Side OF Engine Compartment (2.0L Turbo)
G98B02330
Fig 34: Behind Center Of Dash (2.4L)
G97E00384
Fig 35: Right Side Of Engine Compartment (2.4L)
G98F02332
Fig 36: Locating Camshaft Position Sensor (2.0L Non-Turbo & Turbo)
G00082115Courtesy of MITSUBISHI MOTOR SALES OF AMERICA.
Fig 37: Locating Crankshaft Position Sensor (2.0L Non-Turbo)
G00082114Courtesy of MITSUBISHI MOTOR SALES OF AMERICA.