lemon-mirror:
Home >> Mitsubishi >> 2002 >> Eclipse GS, Automatic >> Repair and Diagnosis >> Transmission >> Automatic Trans >> Overhaul >> Transaxle >> Disassembly And Assembly >> Assembly

Disassembly And Assembly: Assembly

CAUTION:
  • Do not reuse the gasket, O-ring, oil seal. Always replace with a new one when assembling.
  • Do not use grease, use petroleum jelly (i.e. Vaseline).
  • Apply ATF to friction components, rotating parts, and sliding parts before installation. Immerse a new clutch discs or brake discs in ATF for at least two hours before assembling them.
  • When replacing a bushing, replace the assembly which it belongs to.
  • Do not use cloth gloves or shop towels during assembly. Use nylon cloth or other lint-free material.
  1. Install special tool MD998412 in the installation screw hole of the transfer drive gear bearing located in the transaxle case. Using this as a guide, install the transfer drive gear bearing and gear in the transaxle case.
    Fig 1: Identifying Guide (MD998412)
    G01108175Courtesy of MITSUBISHI MOTOR SALES OF AMERICA.
  2. Tighten the seven mounting bolts < F4A42 > and eight mounting bolts < F4A51 > of the transfer drive gear bearing to the specified torque.

    Tightening torque: 34 +/- 2 N.m (25 +/- 1 ft-lb) 

    Fig 2: Installing Transfer Gear Bearing Mounting Bolts (F4A42 Shown; F4A51 Similar)
    G01108176Courtesy of MITSUBISHI MOTOR SALES OF AMERICA.
  3. Install the low-reverse brake piston, return spring, and spring retainer into the transaxle case.
    Fig 3: Installing Low-Reverse Brake Piston, Return Spring & Spring Retainer
    G01108177Courtesy of MITSUBISHI MOTOR SALES OF AMERICA.
  4. Fit a new O-ring into the groove of one-way clutch inner race.
    Fig 4: Fitting New O-Ring In Groove Of One-Way Clutch Inner Race
    G01108178Courtesy of MITSUBISHI MOTOR SALES OF AMERICA.
  5. Check the placement of the identification notches in the one-way clutch inner race. Install the one-way clutch inner race to the transfer drive gear bearing so that the notches fall along the A - A line.
    Fig 5: Installing One-Way Clutch Inner Race To Transfer Drive Gear Bearing
    G01108179Courtesy of MITSUBISHI MOTOR SALES OF AMERICA.
  6. Put the snap ring on the inner race.
  7. Set special tools MD998703 < F4A42 > or MD998338 < F4A51 > and MD998924 as shown, and then compress the one-way clutch inner race and install the snap ring.
    NOTE: This illustration shows F4A51.
    Fig 6: Compressing One-Way Clutch Inner Race & Installing Snap Ring (F4A51 Shown; F4A42 Similar)
    G01108180Courtesy of MITSUBISHI MOTOR SALES OF AMERICA.
  8. Install the wave spring onto the low-reverse brake piston.
    Fig 7: Installing Wave Spring
    G01108181Courtesy of MITSUBISHI MOTOR SALES OF AMERICA.
  9. Install the six brake discs, five brake plates and snap ring as shown in the figure.
    NOTE: Do not install the pressure plate at this time.
  10. Install special tool MB991631 < F4A42 > or MB991632 < F4A51 > on the brake disc.
  11. Install the reaction plate and the used snap ring.
    Fig 8: Installing Reaction Plate & Snap Ring (F4A42)
    G01108182Courtesy of MITSUBISHI MOTOR SALES OF AMERICA.
    Fig 9: Installing Reaction Plate & Snap Ring (F4A51)
    G01108183Courtesy of MITSUBISHI MOTOR SALES OF AMERICA.
  12. Move special tool MB991631 < F4A42 > or MB991632 < F4A51 > to measure the end play of reaction plate. Then replace the snap ring installed in step  11 to adjust the end play to standard value.

    Standard value: 0 - 0.16 mm (0 - 0.0063 inch) 

  13. Install the brake discs and brake plates as shown in the figure.

    Number of brake discs and plates 

    Fig 10: Identifying Number Of Brake Discs & Plates
    G01108184Courtesy of MITSUBISHI MOTOR SALES OF AMERICA.
    Fig 11: Installing Brake Discs, Brake Plates, Return Spring, Second Brake Piston & Snap Ring (F4A42)
    G01108185Courtesy of MITSUBISHI MOTOR SALES OF AMERICA.
    Fig 12: Installing Brake Discs, Brake Plates, Return Spring, Second Brake Piston & Snap Ring (F4A51)
    G01108186Courtesy of MITSUBISHI MOTOR SALES OF AMERICA.
  14. Place special tool MB991631 < F4A42 > or MB991632 < F4A51 > on top of the brake disc in place of the pressure plate.
  15. Install the return spring, second brake piston and snap ring.
  16. Move special tool MB991631 < F4A42 > or MB991632 < F4A51 > and measure its movement.

    Standard value of end play (Reference): 

    0.79 - 1.25 mm (0.0311 - 0.0492 inch) < F4A42 > 

    1.09 - 1.55 mm (0.0429 - 0.0610 inch) < F4A51 > 

    Fig 13: Measuring End Play
    G01108187Courtesy of MITSUBISHI MOTOR SALES OF AMERICA.
  17. Select a pressure plate whose thickness corresponds to the measured amount of movement from the following illustrations.

    PRESSURE PLATE FOR SECOND BRAKE (F4A42) 

    Fig 14: Selecting Pressure Plate For Second Brake (F4A42) (1 Of 2)
    G01108189Courtesy of MITSUBISHI MOTOR SALES OF AMERICA.
    Fig 15: Selecting Pressure Plate For Second Brake (F4A42) (1 Of 2)
    G01108188Courtesy of MITSUBISHI MOTOR SALES OF AMERICA.

    PRESSURE PLATE FOR SECOND BRAKE (F4A51) 

    Fig 16: Selecting Pressure Plate For Second Brake (F4A51) (1 Of 2)
    G01108190Courtesy of MITSUBISHI MOTOR SALES OF AMERICA.
    Fig 17: Selecting Pressure Plate For Second Brake (F4A51) (2 Of 2)
    G01108191Courtesy of MITSUBISHI MOTOR SALES OF AMERICA.
  18. Turn the transaxle over so that the installation surface of the torque converter housing is facing up.

    Install special tool MD998913 in a dial gauge, and then move special tool MB991631 < F4A42 > or MB991632 < F4A51 > and measure its movement.

    Standard value of end play (Reference): 

    1.65 - 2.11 mm (0.050 - 0.0831 inch) 

    Fig 18: Measuring End Play
    G01108192Courtesy of MITSUBISHI MOTOR SALES OF AMERICA.
  19. Select a pressure plate whose thickness corresponds to the measured amount of movement from the table below.
    NOTE: This illustration shows F4A51.

    PRESSURE PLATE FOR LOW-REVERSE BRAKE (F4A42) 

    Fig 19: Selecting Pressure Plate For Low-Reverse Brake (F4A42) (1 Of 2)
    G01108194Courtesy of MITSUBISHI MOTOR SALES OF AMERICA.
    Fig 20: Selecting Pressure Plate For Low-Reverse Brake (F4A42) (2 Of 2)
    G01108193Courtesy of MITSUBISHI MOTOR SALES OF AMERICA.

    PRESSURE PLATE FOR LOW-REVERSE BRAKE < F4A51 > 

    Fig 21: Selecting Pressure Plate For Low-Reverse Brake (F4A51) (1 Of 3)
    G01108195Courtesy of MITSUBISHI MOTOR SALES OF AMERICA.
    Fig 22: Selecting Pressure Plate For Low-Reverse Brake (F4A51) (2 Of 3)
    G01108196Courtesy of MITSUBISHI MOTOR SALES OF AMERICA.
    Fig 23: Selecting Pressure Plate For Low-Reverse Brake (F4A51) (3 Of 3)
    G01108197Courtesy of MITSUBISHI MOTOR SALES OF AMERICA.
    CAUTION: If necessary, take the measurements in steps  9 to  18 after replacing the pressure plate, brake plate and brake disc.
  20. Remove all parts and special tools that were installed to take the measurements in steps  9 to  18. Remove and separate the pressure plate and snap ring chosen in steps  12,  16 and  18.
  21. Install the snap ring into the groove of transaxle case output shaft bore.
  22. Install the thinnest output shaft preload adjustment spacer [thickness 1.88 mm (0.0740 in); part number MD756579].
  23. Use special tools MB990930 and MB990938 to tap the output shaft bearing outer race in the transaxle case.
    Fig 24: Identifying Installer Adapter (MB990930) & Handle (MB990938)
    G01108198Courtesy of MITSUBISHI MOTOR SALES OF AMERICA.
    CAUTION: Do not reuse the bolt, as it has had sealant applied.
  24. Tighten the mounting bolts of the output shaft bearing retainer to the specified torque.

    Tightening torque: 

    23 +/- 3 N.m (17 +/- 2 ft-lb) < F4A42 > 

    54 +/- 5 N.m (40 +/- 4 ft-lb) < F4A51 > 

    Fig 25: Installing Output Shaft Bearing Retainer Mounting Bolts
    G01108199Courtesy of MITSUBISHI MOTOR SALES OF AMERICA.
  25. Use special tool MD998350 to install the collar and taper roller bearing on the output shaft.
    Fig 26: Identifying Bearing Installer (MB998350)
    G01108200Courtesy of MITSUBISHI MOTOR SALES OF AMERICA.
  26. Apply ATF to a new jam nut, and use special tools MB990607 and MB991625 to tighten the jam nut to the specified torque. Then turn back one turn, and tighten to the specified torque again.

    Tightening torque: 167 +/- 10 N.m (123 +/- 7 ft-lb) 

    NOTE: The jam nut is reverse threaded.
    Fig 27: Identifying Torque Wrench Socket (MB990607) & Socket (41) (MB991625)
    G01108201Courtesy of MITSUBISHI MOTOR SALES OF AMERICA.
  27. Move the output shaft to measure the end play and record the measurement value.
    Fig 28: Measuring End Play
    G01108202Courtesy of MITSUBISHI MOTOR SALES OF AMERICA.
  28. Remove the parts that were installed in steps  21 to  25.
  29. Add 1.88 mm (0.074 inch)* and 0.01 to 0.09 mm (0.0004 to 0.0035 inch)** to the measured value in step  26 and select a spacer of the same thickness. For adjustment spacer sizes refer to ADJUSTING PLATE, SNAP RING AND SPACERS . Select the most suitable one from among those listed.
    NOTE: * is the thickness of the spacer installed in step  21. ** is the preload of the output shaft.

    SPACER FOR OUTPUT SHAFT 

    Fig 29: Selecting Spacer For Output Shaft (1 Of 2)
    G01108203Courtesy of MITSUBISHI MOTOR SALES OF AMERICA.
    Fig 30: Selecting Spacer For Output Shaft (2 Of 2)
    G01108204Courtesy of MITSUBISHI MOTOR SALES OF AMERICA.
  30. Repeat steps  22 to  25 again, installing each part and using the appropriate adjustment spacer determined in step  27.
  31. Stake the jam nut with a punch (two places).
    Fig 31: Staking Jam Nut (2 Places)
    G01108205Courtesy of MITSUBISHI MOTOR SALES OF AMERICA.
  32. Use special tools MB990931 and MB990938 to install the cap as shown in the illustration.
    Fig 32: Identifying Installer Adapter (MB990931) & Handle (MB990938)
    G01108206Courtesy of MITSUBISHI MOTOR SALES OF AMERICA.
  33. Install the parking pawl, spacer, and spring. Then insert the parking pawl shaft.
    Fig 33: Installing Parking Pawl Shaft
    G01108207Courtesy of MITSUBISHI MOTOR SALES OF AMERICA.
  34. Install the parking roller support, and then insert the two parking roller support shafts.
    Fig 34: Installing Parking Roller Support Shafts
    G01108208Courtesy of MITSUBISHI MOTOR SALES OF AMERICA.

    IDENTIFICATION OF THRUST BEARING, THRUST RACES, AND THRUST WASHERS 

    Fig 35: Locating Thrust Bearings, Thrust Races & Thrust Washers
    G01108209Courtesy of MITSUBISHI MOTOR SALES OF AMERICA.
    Fig 36: Identifying Thrust Bearing, Thrust Race & Thrust Washer Specifications (1 Of 2)
    G01108210Courtesy of MITSUBISHI MOTOR SALES OF AMERICA.
    Fig 37: Identifying Thrust Bearing, Thrust Race & Thrust Washer Specifications (2 Of 2)
    G01108211Courtesy of MITSUBISHI MOTOR SALES OF AMERICA.
  35. Install the planetary carrier assembly.
    Fig 38: Installing Planetary Carrier Assembly
    G01108212Courtesy of MITSUBISHI MOTOR SALES OF AMERICA.
  36. Install the planetary reverse sun gear.
    Fig 39: Installing Planetary Reverse Sun Gear
    G01108213Courtesy of MITSUBISHI MOTOR SALES OF AMERICA.
  37. Install the wave spring on the low-reverse brake piston.
    Fig 40: Installing Wave Spring
    G01108214Courtesy of MITSUBISHI MOTOR SALES OF AMERICA.
  38. Install the pressure plate that was selected in step  19. Next, install six brake discs and five brake plates, one on top of the other.
    Fig 41: Installing Brake Discs & Brake Plates
    G01108215Courtesy of MITSUBISHI MOTOR SALES OF AMERICA.
  39. Install the snap ring.
    Fig 42: Installing Snap Ring
    G01108216Courtesy of MITSUBISHI MOTOR SALES OF AMERICA.
  40. Install the reaction plate.
    Fig 43: Installing Reaction Plate
    G01108217Courtesy of MITSUBISHI MOTOR SALES OF AMERICA.
  41. Install the snap ring that was selected in step  12.
    Fig 44: Installing Snap Ring
    G01108218Courtesy of MITSUBISHI MOTOR SALES OF AMERICA.
  42. Install three brake discs < F4A42 > or four brake discs < F4A51 > and two brake plates < F4A42 > or three brake plates < F4A51 >, one on top of the other. Next, install the pressure plate that was selected in step  17.
    Fig 45: Installing Brake Discs & Brake Plates
    G01108219Courtesy of MITSUBISHI MOTOR SALES OF AMERICA.
  43. Install the return spring and second brake piston.
    Fig 46: Installing Return Spring & Second Brake Piston
    G01108220Courtesy of MITSUBISHI MOTOR SALES OF AMERICA.
  44. Install the snap ring.
    Fig 47: Installing Snap Ring
    G01108221Courtesy of MITSUBISHI MOTOR SALES OF AMERICA.
    CAUTION: Be sure to install the thrust bearing in the correct direction as shown.
  45. Check the installation direction of the thrust bearing number 5, and install it on the hub of the planetary reverse sun gear.
    Fig 48: Installing Thrust Bearing Number 5
    G01108222Courtesy of MITSUBISHI MOTOR SALES OF AMERICA.
    CAUTION: Use care to install the thrust bearing in the proper direction.
  46. Attach thrust bearing number 6 to the inside of the overdrive clutch hub using petroleum jelly (Vaseline). Then install the assembly in the reverse and overdrive clutch.
    Fig 49: Installing Thrust Bearing Number 6
    G01108223Courtesy of MITSUBISHI MOTOR SALES OF AMERICA.
  47. Install the reverse and overdrive clutch.
    CAUTION: Be sure to install the thrust bearing in the correct direction as shown.
  48. Check the installation direction of thrust bearing number 7, and install it on the reverse clutch retainer.
    Fig 50: Installing Thrust Bearing Number 7
    G01108224Courtesy of MITSUBISHI MOTOR SALES OF AMERICA.
  49. Use special tool MB990938 to tap the input shaft rear bearing in the rear cover.
    Fig 51: Identifying Handle (MB990938)
    G01108225Courtesy of MITSUBISHI MOTOR SALES OF AMERICA.
  50. Install the four seal rings in the grooves of the rear cover.
  51. Measure the end play of the under drive sun gear by the following procedures:
    1. Install the thinnest thrust race number 8 [thickness 1.6 mm (0.063 inch); part number MD707267] on thrust bearing number 7.
    2. Install the rear cover on the transaxle case and tighten the bolts to the specified torque.

      Tightening torque: 23 +/- 3 N.m (17 +/- 2 ft-lb) 

    3. Turn over the transaxle case so that the installation surface of the torque converter housing is facing up.
    4. Install the underdrive clutch hub on the under drive sun gear.
    5. Measure end play of the underdrive sun gear and record the measurement value.

      Standard value (Reference): 

      0.25 - 0.45 mm (0.0098 - 0.0177 inch) 

      Fig 52: Measuring End Play
      G01108226Courtesy of MITSUBISHI MOTOR SALES OF AMERICA.
    6. After taking the measurement in steps  5, take out the installed parts in steps  1 through  4.
  52. Install the three O-rings.
    Fig 53: Installing O-Rings
    G01108227Courtesy of MITSUBISHI MOTOR SALES OF AMERICA.
  53. Select a thrust race number 8 whose thickness corresponds to the measured values taken in step  51 from the illustration. Install it on thrust bearing number 7.
    Fig 54: Identifying Thrust Race Number 8 Specifications
    G01108228Courtesy of MITSUBISHI MOTOR SALES OF AMERICA.
    Fig 55: Installing Thrust Bearing Number 7 & Thrust Race Number 8
    G01108229Courtesy of MITSUBISHI MOTOR SALES OF AMERICA.
  54. Apply a 2 mm (0.08 inch) diameter bead of sealant (MITSUBISHI Genuine Part number MD974421 or equivalent) to the illustrated position of the rear cover.
    NOTE: Be sure to install the case quickly while the sealant is wet (within 15 minutes) or leaks will occur if the rear cover is installed after the sealant dries.
    Fig 56: Applying Sealant To Rear Cover
    G01108230Courtesy of MITSUBISHI MOTOR SALES OF AMERICA.
  55. Install the rear cover, and tighten its mounting bolts to the specified torque.

    Tightening torque: 23 +/- 3 N.m (17 +/- 2 ft-lb) 

    NOTE: After installation, keep the sealed area away from the ATF for approximately one hour.
    Fig 57: Installing Rear Cover
    G01108231Courtesy of MITSUBISHI MOTOR SALES OF AMERICA.
  56. Install the underdrive clutch hub to the underdrive sun gear.
    Fig 58: Installing Underdrive Clutch Hub
    G01108232Courtesy of MITSUBISHI MOTOR SALES OF AMERICA.
    CAUTION: Be sure to install the thrust bearing in the correct direction as shown.
  57. Check the installation direction of thrust bearing number 2, and install it on the underdrive clutch hub.
    Fig 59: Installing Thrust Bearing Number 2
    G01108233Courtesy of MITSUBISHI MOTOR SALES OF AMERICA.
  58. Hold the input shaft, and install the underdrive clutch.
    Fig 60: Install Underdrive Clutch
    G01108234Courtesy of MITSUBISHI MOTOR SALES OF AMERICA.
  59. Place two beads of solder [each 10 mm (0.39 inch) in length, 3.5 mm (0.14 inch) in diameter] on the underdrive clutch retainer as shown in the illustration.
    Fig 61: Placing Solder On Underdrive Clutch Retainer
    G01108235Courtesy of MITSUBISHI MOTOR SALES OF AMERICA.
  60. Install special tool MD998412 in the illustrated place.
  61. Install the oil pump to the transaxle case.
    NOTE: Do not install the oil pump gasket at this time.
  62. Tighten the oil pump mounting bolts (six pieces) to the specified torque.

    Tightening torque: 23 +/- 3 N.m (17 +/- 2 ft-lb) 

    Fig 62: Identifying Guide (MD998412)
    G01108236Courtesy of MITSUBISHI MOTOR SALES OF AMERICA.
  63. Remove the oil pump mounting bolts.
  64. Using special tools MD998333, remove the oil pump and the crushed solders.
    Fig 63: Identifying Oil Pump Remover (MD998333)
    G01108237Courtesy of MITSUBISHI MOTOR SALES OF AMERICA.
  65. Use a micrometer to measure the thickness of the crushed solder beads and record the measured value.
    Fig 64: Measuring Thickness Of Crushed Solder Beads
    G01108238Courtesy of MITSUBISHI MOTOR SALES OF AMERICA.
  66. Select a thrust washer number 1 whose thickness corresponds to the measured value from table below.
    Fig 65: Identifying Thrust Washer Number 1 Specifications (1 Of 2)
    G01108239Courtesy of MITSUBISHI MOTOR SALES OF AMERICA.
    Fig 66: Identifying Thrust Washer Number 1 Specifications (2 Of 2)
    G01108240Courtesy of MITSUBISHI MOTOR SALES OF AMERICA.
  67. Install thrust washer number 1 that was selected in step  66 on the underdrive clutch retainer.
    Fig 67: Installing Thrust Washer Number 1
    G01108241Courtesy of MITSUBISHI MOTOR SALES OF AMERICA.
  68. Install special tool MD998412 in the illustrated place.
  69. Install the new oil pump gasket on the transaxle case.
  70. Install the oil pump and tighten the mounting bolts (six pieces) to the specified torque.

    Tightening torque: 23 +/- 3 N.m (17 +/- 2 ft-lb) 

    Fig 68: Identifying Guide (MD998412)
    G01108242Courtesy of MITSUBISHI MOTOR SALES OF AMERICA.
  71. Make sure that the input shaft end play meets the standard value.

    Standard value: 0.70 - 1.45 mm (0.028 - 0.057 inch) 

    Fig 69: Measuring Input Shaft End Play
    G01108243Courtesy of MITSUBISHI MOTOR SALES OF AMERICA.
  72. Install the oil filter.
    Fig 70: Installing Oil Filter
    G01108244Courtesy of MITSUBISHI MOTOR SALES OF AMERICA.
  73. Use special tools MB990935 < F4A42 > or MB990936 < F4A51 > and MB990938 to tap the differential bearing outer race in the transaxle case.
    Fig 71: Installing Differential Bearing Outer Race
    G01108245Courtesy of MITSUBISHI MOTOR SALES OF AMERICA.
  74. Install the differential.
    Fig 72: Installing Differential
    G01108246Courtesy of MITSUBISHI MOTOR SALES OF AMERICA.
  75. Place two beads of solder [each 10 mm (0.39 inch) in length, 3 mm (0.12 inch) in diameter] on the torque converter housing as shown in the illustration.
    Fig 73: Placing Solder On Torque Converter Housing
    G01108247Courtesy of MITSUBISHI MOTOR SALES OF AMERICA.
  76. Use special tools MB990935 < F4A42 > or MB990936 < F4A51 > and MB990938 to press in the differential bearing outer race into the torque converter housing.
    Fig 74: Installing Torque Converter housing
    G01108248Courtesy of MITSUBISHI MOTOR SALES OF AMERICA.
  77. Install the torque converter housing to the transaxle case without applying sealant. Tighten its mounting bolts to the specified torque.

    Tightening torque: 48 +/- 6 N.m (35 +/- 4 ft-lb) 

  78. Loosen all the bolts, and remove the torque converter housing. Then remove the outer race and the crushed solders.
    Fig 75: Measuring Thickness Of Crushed Solder Beads
    G01108249Courtesy of MITSUBISHI MOTOR SALES OF AMERICA.
  79. Use a micrometer to measure the thickness of the crushed solder beads and record the measured value. Add 0.045 to 0.105 mm (0.0018 to 0.0041 inch)* to the measured value and select a spacer with the corresponding thickness.

    Adjustment spacer sizes are all listed under ADJUSTING PLATE, SNAP RING AND SPACERS . Select the most suitable one from among those listed.

    NOTE: * is the thickness for the differential case preload.
    Fig 76: Measuring Thickness Of Crushed Solder
    G01108250Courtesy of MITSUBISHI MOTOR SALES OF AMERICA.
  80. Install the spacer selected in step  79 to the torque converter housing.
  81. Use special tools MB990935 < F4A42 > or MB990936 < F4A51 > and MB990938 to press the outer race into housing.
    Fig 77: Installing Outer Race
    G01108251Courtesy of MITSUBISHI MOTOR SALES OF AMERICA.
  82. Apply a 2 mm (0.08 inch) diameter bead of sealant (MITSUBISHI Genuine Part number MD974421 or equivalent) to the torque converter housing in the area shown.
    NOTE: Be sure to install the case quickly while the sealant is wet (with 15 minutes) or leaks will occur if the rear cover is installed after the sealant dries.
    NOTE: After installation, keep the sealed area away from the ATF for approximately one hour.
    Fig 78: Applying Liquid Gasket To Torque Converter Housing
    G01108252Courtesy of MITSUBISHI MOTOR SALES OF AMERICA.
  83. Install the two O-rings.
    Fig 79: Installing O-Rings
    G01108253Courtesy of MITSUBISHI MOTOR SALES OF AMERICA.
  84. Install the torque converter housing and then tighten its 18 mounting bolts to the specified torque.

    Tightening torque: 48 +/- 6 N.m (35 +/- 4 ft-lb) 

    Fig 80: Installing Torque Converter Housing
    G01108254Courtesy of MITSUBISHI MOTOR SALES OF AMERICA.
  85. Insert the two O-rings into the grooves of the manual control lever shaft.
  86. Install the manual control lever shaft and parking pawl rod.
    Fig 81: Installing Manual Control Lever Shaft, Parking Pawl Rod, Manual Control Lever & Manual Control Lever Shaft
    G01108255Courtesy of MITSUBISHI MOTOR SALES OF AMERICA.
  87. Align hole "A" with the groove in the manual control lever shaft. Insert the manual control lever shaft roller into hole "A".
  88. Insert the new seal rings in the grooves of the accumulator pistons.
    NOTE: The piston and seal ring are common parts.
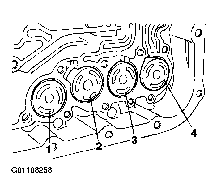
  89. Identify the accumulator spring and insert it and the accumulator piston into each hole of the transaxle case.
    NOTE: Accumulator springs are identified as shown in the illustration.
    Fig 82: Locating Accumulator Springs
    G01108258Courtesy of MITSUBISHI MOTOR SALES OF AMERICA.
    Fig 83: Identifying Accumulator Springs (1 Of 2)
    G01108257Courtesy of MITSUBISHI MOTOR SALES OF AMERICA.
    Fig 84: Identifying Accumulator Springs (2 Of 2)
    G01108256Courtesy of MITSUBISHI MOTOR SALES OF AMERICA.
  90. Install the strainer and second brake retainer oil seal.
    Fig 85: Installing Strainer & Second Brake Retainer Oil Seal
    G01108259Courtesy of MITSUBISHI MOTOR SALES OF AMERICA.
  91. Insert a new O-ring to the groove of the solenoid valve harness connector.
  92. Insert the solenoid valve harness connector into the hole from the inside of the transaxle case so it is oriented as shown in the illustration. Then secure the snap ring to the connector groove.
    Fig 86: Installing Snap Ring
    G01108260Courtesy of MITSUBISHI MOTOR SALES OF AMERICA.
  93. Install a steel ball into each of the two holes in the top face of the valve body (outside valve body).
    Fig 87: Installing Steel Balls
    G01108261Courtesy of MITSUBISHI MOTOR SALES OF AMERICA.
  94. Install the valve body and gasket to the transaxle case. Make sure that the manual valve's pin is in the groove in the detent plate of the manual control lever.
  95. Install the 27 valve body mounting bolts, and tighten to the specified torque.

    Tightening torque: 11 +/- 1 N.m (95 +/- 9 in-lb) 

    Fig 88: Installing Valve Body Mounting Bolts
    G01108262Courtesy of MITSUBISHI MOTOR SALES OF AMERICA.
  96. Attach the solenoid valve harness to the valve body by connecting the fluid temperature sensor and all the connectors.
    Fig 89: Identifying Solenoid Valve Harness Connectors (1 Of 2)
    G01108263Courtesy of MITSUBISHI MOTOR SALES OF AMERICA.
    Fig 90: Identifying Solenoid Valve Harness Connectors (1 Of 2)
    G01108264Courtesy of MITSUBISHI MOTOR SALES OF AMERICA.
  97. Install the manual control shaft detent and tighten the bolt to the specified torque.

    Tightening torque: 6 +/- 1 N.m (52 +/- 9 in-lb) 

    Fig 91: Installing Manual Shaft Detent
    G01108265Courtesy of MITSUBISHI MOTOR SALES OF AMERICA.
  98. Apply a 2 mm (0.08 inch) diameter bead of sealant (MITSUBISHI Genuine Part number MD974421 or equivalent) to the valve body cover in the area shown.
    NOTE: Be sure to install the case quickly while the sealant is wet (within 15 minutes) or leaks will occur if the rear cover is installed after the sealant dries.
    NOTE: After installation, keep the sealed area away from the ATF for approximately one hour.
    Fig 92: Applying Liquid Gasket
    G01108266Courtesy of MITSUBISHI MOTOR SALES OF AMERICA.
  99. Install the valve body cover, and then tighten its mounting bolts to the specified torque.

    Tightening torque: 11 +/- 1 N.m (95 +/- 9 in-lb) 

    Fig 93: Installing Valve Body Cover
    G01108267Courtesy of MITSUBISHI MOTOR SALES OF AMERICA.
  100. Install the Sealing cap and tighten the bolt to the specified torque.

    Tightening torque: 5 +/- 1 N.m (43 +/- 9 in-lb) 

    Fig 94: Installing Sealing Cap
    G01108268Courtesy of MITSUBISHI MOTOR SALES OF AMERICA.
  101. Install the park/neutral position switch and tighten the bolt to specified torque.

    Tightening torque: 11 +/- 1 N.m (95 +/- 9 in-lb) 

    Fig 95: Installing Park/Neutral Position Switch & Manual Control Lever
    G01108269Courtesy of MITSUBISHI MOTOR SALES OF AMERICA.
  102. Install the manual control lever and tighten the nut to specified torque.

    Tightening torque: 22 +/- 3 N.m (16 +/- 2 ft-lb) 

  103. Install the input shaft speed sensor and output shaft speed sensor and tighten the bolt to the specified torque.

    Tightening torque: 11 +/- 1 N.m (95 +/- 9 in-lb) 

    Fig 96: Installing Input Shaft Speed Sensor & Output Shaft Speed Sensor
    G01108270Courtesy of MITSUBISHI MOTOR SALES OF AMERICA.
  104. Install the oil cooler feed tube together with new gaskets and tighten the eye bolts to the specified torque.

    Tightening torque: 30 +/- 3 N.m (22 +/- 2 ft-lb) 

  105. Tighten the oil cooler feed pipe clamp bolt.

    Tightening torque: 11 +/- 1 N.m (95 +/- 9 in-lb) 

  106. Install the oil dipstick.
  107. Install the cable support bracket.

    Tightening torque: 23 +/- 3 N.m (17 +/- 2 ft-lb) 

  108. Install the roll stopper brackets.

    Tightening torque: 69 +/- 10 N.m (51 +/- 7 ft-lb) 

    CAUTION: Apply ATF to the oil pump drive hub before installing the torque converter. Be careful not to damage the oil seal lip when installing the torque converter.
  109. Install the torque converter, and align it with the oil pump so that the shown dimension "A" meets the reference value.

    Reference value: 

    Approximately 12.2 mm (0.48 inch) < F4A42 > 

    Approximately 9.4 mm (0.37 inch) < F4A51 > 

    Fig 97: Installing Torque Converter
    G01108271Courtesy of MITSUBISHI MOTOR SALES OF AMERICA.