lemon-mirror:
Home >> Mitsubishi >> 2002 >> Lancer LS >> Repair and Diagnosis >> Transmission >> Automatic Trans >> Overhaul >> Transaxle >> Disassembly And Assembly >> Assembly

Disassembly And Assembly: Assembly

CAUTION:
  • Do not reuse the gasket, O-ring, oil seal. Always replace with a new one when assembling.
  • Do not use grease, use petroleum jelly (i.e.; Vaseline).
  • Apply ATF to friction components, rotating parts, and sliding parts before installation. Immerse new clutch discs or brake discs in ATF for at least two hours before assembling them.
  • When replacing a bushing, replace the assembly which it belongs to.
  • Do not use cloth gloves or shop towels during assembly. Use nylon cloth or other lint-free material.
  1. Install special tool MD998412 in the installation screw hole of the transfer drive gear bearing located in the transaxle case. Using this as a guide, install the transfer drive gear bearing and gear in the transaxle case.
    Fig 1: Identifying Guide (MD998412)
    G01134167Courtesy of MITSUBISHI MOTOR SALES OF AMERICA.
  2. Tighten the seven mounting bolts of the transfer drive gear bearing to the specified torque.

    Tightening torque: 34 +/- 2 N.m (25 +/- 1 ft-lb) 

    Fig 2: Installing Transfer Drive Gear Bearing Mounting Bolts
    G01134168Courtesy of MITSUBISHI MOTOR SALES OF AMERICA.
  3. Install the low-reverse brake piston, return spring, and spring retainer into the transaxle case.
    Fig 3: Installing Low-Reverse Brake Piston, Return Spring & Spring Retainer
    G01134169Courtesy of MITSUBISHI MOTOR SALES OF AMERICA.
  4. Fit a new O-ring into the groove of one-way clutch inner race.
    Fig 4: Installing New O-Ring To One-Way Clutch Inner Race
    G01134170Courtesy of MITSUBISHI MOTOR SALES OF AMERICA.
  5. Check the placement of the identification notches in the one-way clutch inner race. Install the one-way clutch inner race to the transfer drive gear bearing so that the notches fall along the A-A line.
    Fig 5: Installing One-Way Clutch Inner Race
    G01134171Courtesy of MITSUBISHI MOTOR SALES OF AMERICA.
  6. Put the snap ring on the inner race.
  7. Set special tools MD998703 and MD998924 as shown, and then compress the one-way clutch inner race and install the snap ring.
    Fig 6: Identifying Spring Compressor (MD998703) & Spring Compressor Retainer (MD998924)
    G01134172Courtesy of MITSUBISHI MOTOR SALES OF AMERICA.
  8. Install the wave spring onto the low-reverse brake piston.
    Fig 7: Installing Wave Spring
    G01134173Courtesy of MITSUBISHI MOTOR SALES OF AMERICA.
  9. Install the brake discs, brake plates and snap ring as shown in the figure.
    NOTE: Do not install the pressure plate at this time.
    Fig 8: Installing Brake Discs, Brake Plates & Snap Ring
    G01134174Courtesy of MITSUBISHI MOTOR SALES OF AMERICA.
  10. Install special tool MB991631 on the brake disc.
  11. Install the brake discs, reaction plate and the used snap ring.
  12. Move special tool MB991631 to measure the end play of reaction plate. Then replace the snap ring installed in step  11 to adjust the end play to standard value.

    Standard value: 0-0.16 mm (0-0.0063 inch) 

  13. Install the brake discs and brake plates as shown in the figure.
    Fig 9: Installing Brake Discs & Brake Plates
    G01134176Courtesy of MITSUBISHI MOTOR SALES OF AMERICA.
    Fig 10: Identifying Number Of Brake Discs & Plates
    G01134175Courtesy of MITSUBISHI MOTOR SALES OF AMERICA.
  14. Place special tool MB991631 on top of the brake disc in place of the pressure plate.
    Fig 11: Identifying Clearance Dummy Plate (MB991631)
    G01134177Courtesy of MITSUBISHI MOTOR SALES OF AMERICA.
  15. Install the return spring, second brake piston and snap ring.
  16. Move special tool MB991631 and measure its movement.

    Standard value of end play (Reference): 0.79-1.25 mm (0.0311-0.0492 inch) 

  17. Select a pressure plate whose thickness corresponds to the measured amount of movement from the following table.
    Fig 12: Selecting Pressure Plate For Second Brake (1 Of 2)
    G01134179Courtesy of MITSUBISHI MOTOR SALES OF AMERICA.
    Fig 13: Selecting Pressure Plate For Second Brake (2 Of 2)
    G01134178Courtesy of MITSUBISHI MOTOR SALES OF AMERICA.
  18. Turn the transaxle over so that the installation surface of the torque converter housing is facing up.

    Install special tool MD998913 in a dial gauge, and then move special tool MB991631 and measure its movement.

    Standard value of end play (Reference): 1.35-1.81 mm (0.0531-0.0713 inch) 

    Fig 14: Identifying Dial Gauge Extension (MD998913) & Clearance Dummy Plate (MB991631)
    G01134180Courtesy of MITSUBISHI MOTOR SALES OF AMERICA.
  19. Select a pressure plate whose thickness corresponds to the measured amount of movement from the table below.
    Fig 15: Selecting Pressure Plate For Low-Reverse Brake (1 Of 2)
    G01134182Courtesy of MITSUBISHI MOTOR SALES OF AMERICA.
    Fig 16: Selecting Pressure Plate For Low-Reverse Brake (2 Of 2)
    G01134181Courtesy of MITSUBISHI MOTOR SALES OF AMERICA.
    CAUTION: If necessary, take the measurements in steps 9 to 18 after replacing the pressure plate, brake plate and brake disc.
  20. Remove all parts and special tools that were installed to take the measurements in steps  9 to  18 . Remove and separate the pressure plate and snap ring chosen in steps  12,  16 and  18 .
  21. Install the snap ring into the groove of transaxle case output shaft bore.
  22. Install the thinnest output shaft preload adjustment spacer [thickness 1.88 mm (0.0740 in); part number MD756579].
  23. Use special tools MB990930 and MB990938 to tap the output shaft bearing outer race in the transaxle case.
    Fig 17: Identifying Installer Adapter (MB990930) & Handle (MB990938)
    G01134183Courtesy of MITSUBISHI MOTOR SALES OF AMERICA.
    CAUTION: Do not reuse the bolt, as it has had sealant applied.
  24. Tighten the mounting bolts of the output shaft bearing retainer to the specified torque.

    Tightening torque: 23 +/- 3 N.m (17 +/- 2 ft-lb) 

    Fig 18: Installing Output Shaft Bearing Retainer Mounting Bolts
    G01134184Courtesy of MITSUBISHI MOTOR SALES OF AMERICA.
  25. Use special tool MD998350 to install the collar and taper roller bearing on the output shaft.
    Fig 19: Identifying Bearing Installer (MD998350)
    G01134185Courtesy of MITSUBISHI MOTOR SALES OF AMERICA.
  26. Apply ATF to a new jam nut, and use special tools MB990607 and MB991625 to tighten the jam nut to the specified torque. Then turn back one turn, and tighten to the specified torque again.

    Tightening torque: 167 +/- 10 N.m (123 +/- 7 ft-lb) 

    NOTE: The jam nut is reverse threaded.
    Fig 20: Identifying Torque Wrench Socket (MB990607) & Socket (41) (MB991625)
    G01134186Courtesy of MITSUBISHI MOTOR SALES OF AMERICA.
  27. Move the output shaft to measure the end play and record the measurement value.

    Standard value of end play: 0.01-0.09 mm (0.0004-0.0035 inch) 

    Fig 21: Measuring End Play
    G01134187Courtesy of MITSUBISHI MOTOR SALES OF AMERICA.
  28. Remove the parts that were installed in steps 21 to 25.
  29. Select a spacer whose thickness corresponds to the measured amount of movement from the table below.
    Fig 22: Selecting Spacer For Output Shaft (1 Of 2)
    G01134188Courtesy of MITSUBISHI MOTOR SALES OF AMERICA.
    Fig 23: Selecting Spacer For Output Shaft (2 Of 2)
    G01134189Courtesy of MITSUBISHI MOTOR SALES OF AMERICA.
  30. Repeat steps  22 to  25 again, installing each part and using the appropriate adjustment spacer determined in step 27.
  31. Stake the jam nut with a punch (two places).
    Fig 24: Staking Jam Nut
    G01134190Courtesy of MITSUBISHI MOTOR SALES OF AMERICA.
  32. Use special tools MB990931 and MB990938 to install the cap as shown in the illustration.
    Fig 25: Installing Cap
    G01134191Courtesy of MITSUBISHI MOTOR SALES OF AMERICA.
  33. Install the parking pawl, spacer, and spring. Then insert the parking pawl shaft.
    Fig 26: Installing Parking Pawl Shaft
    G01134192Courtesy of MITSUBISHI MOTOR SALES OF AMERICA.
  34. Install the parking roller support, and then insert the two parking roller support shafts.
    Fig 27: Installing Parking Roller Support Shafts
    G01134193Courtesy of MITSUBISHI MOTOR SALES OF AMERICA.

    IDENTIFICATION OF THRUST BEARING, THRUST RACES, AND THRUST WASHERS 

    Fig 28: Locating Thrust Bearing, Thrust Races & Thrust Washers
    G01134194Courtesy of MITSUBISHI MOTOR SALES OF AMERICA.
    Fig 29: Identifying Of Thrust Bearing, Thrust Races & Thrust Washers (1 Of 2)
    G01134195Courtesy of MITSUBISHI MOTOR SALES OF AMERICA.
    Fig 30: Identifying Of Thrust Bearing, Thrust Races & Thrust Washers (2 Of 2)
    G01134196Courtesy of MITSUBISHI MOTOR SALES OF AMERICA.
  35. Install the planetary carrier assembly.
    Fig 31: Installing Planetary Carrier Assembly
    G01134197Courtesy of MITSUBISHI MOTOR SALES OF AMERICA.
  36. Install the planetary reverse sun gear.
    Fig 32: Installing Planetary Reverse Sun Gear
    G01134198Courtesy of MITSUBISHI MOTOR SALES OF AMERICA.
  37. Install the wave spring on the low-reverse brake piston.
    Fig 33: Installing Wave Spring
    G01134199Courtesy of MITSUBISHI MOTOR SALES OF AMERICA.
  38. Install the pressure plate that was selected in step  19. Next, install five brake discs and four brake plates, one on top of the other.
    Fig 34: Installing Pressure Plate, Brake Discs & Brake Plates
    G01134200Courtesy of MITSUBISHI MOTOR SALES OF AMERICA.
  39. Install the snap ring.
    Fig 35: Installing Snap Ring
    G01134201Courtesy of MITSUBISHI MOTOR SALES OF AMERICA.
  40. Install the reaction plate.
    Fig 36: Installing Reaction Plate
    G01134202Courtesy of MITSUBISHI MOTOR SALES OF AMERICA.
  41. Install the snap ring that was selected in step  12.
    Fig 37: Installing Snap Ring
    G01134203Courtesy of MITSUBISHI MOTOR SALES OF AMERICA.
  42. Install three brake discs and two brake plates, one on top of the other. Next, install the pressure plate that was selected in step  17.
    Fig 38: Installing Brake Discs, Disc Plates & Pressure Plate
    G01134204Courtesy of MITSUBISHI MOTOR SALES OF AMERICA.
  43. Install the return spring and second brake piston.
    Fig 39: Installing Return Spring & Second Brake Piston
    G01134205Courtesy of MITSUBISHI MOTOR SALES OF AMERICA.
  44. Install the snap ring.
    Fig 40: Installing Snap Ring
    G01134206Courtesy of MITSUBISHI MOTOR SALES OF AMERICA.
    CAUTION: Be sure to install the thrust bearing in the correct direction as shown.
  45. Check the installation direction of the thrust bearing number 5, and install it on the hub of the planetary reverse sun gear.
    Fig 41: Installing Thrust Bearing #5
    G01134207Courtesy of MITSUBISHI MOTOR SALES OF AMERICA.
    CAUTION: Use care to install the thrust bearing in the proper direction.
  46. Attach thrust bearing number 6 to the inside of the overdrive clutch hub using petroleum jelly (Vaseline). Then install the assembly in the reverse and overdrive clutch.
    Fig 42: Installing Thrust Bearing #6
    G01134208Courtesy of MITSUBISHI MOTOR SALES OF AMERICA.
  47. Install the reverse and overdrive clutch.
    CAUTION: Be sure to install the thrust bearing in the correct direction as shown.
  48. Check the installation direction of thrust bearing number 7, and install it on the reverse clutch retainer.
    Fig 43: Installing Thrust Bearing #7
    G01134209Courtesy of MITSUBISHI MOTOR SALES OF AMERICA.
  49. Use special tool MB990938 to tap the input shaft rear bearing in the rear cover.
    Fig 44: Identifying Handle (MB990938)
    G01134210Courtesy of MITSUBISHI MOTOR SALES OF AMERICA.
  50. Install the four seal rings in the grooves of the rear cover.
  51. Measure the end play of the under drive sun gear by the following procedures:
    1. Install the thinnest thrust race number 8 [thickness 1.6 mm (0.063 inch); part number MD707267] on thrust bearing number 7.
    2. Install the rear cover on the transaxle case and tighten the bolts to the specified torque.

      Tightening torque: 23 +/- 3 N.m (17 +/- 2 ft-lb) 

    3. Turn over the transaxle case so that the installation surface of the torque converter housing is facing up.
    4. Install the under drive clutch hub on the under drive sun gear.
    5. Measure end play of the underdrive sun gear and record the measurement value.

      Standard value (Reference): 0.25-0.45 mm (0.0098-0.0177 inch) 

      Fig 45: Measuring End Play
      G01134211Courtesy of MITSUBISHI MOTOR SALES OF AMERICA.
    6. After taking the measurement in step  5, take out the installed parts in steps  1 through  4.
  52. Install the three O-rings.
    Fig 46: Installing O-Rings
    G01134212Courtesy of MITSUBISHI MOTOR SALES OF AMERICA.
  53. Select a number 8 thrust race whose thickness corresponds to the measured values taken in step  51 from the table below. Install it on thrust bearing number 7.
    Fig 47: Selecting Thrust Race #8
    G01134213Courtesy of MITSUBISHI MOTOR SALES OF AMERICA.
    Fig 48: Installing Thrust Bearing #7 & Thrust Race #8
    G01134214Courtesy of MITSUBISHI MOTOR SALES OF AMERICA.
  54. Apply a 2 mm (0.08 inch) diameter bead of sealant (MITSUBISHI Genuine Part number MD974421 or equivalent) to the illustrated position of the rear cover.
    NOTE: Be sure to install the case quickly while the sealant is wet (within 15 minutes) or leaks will occur if the rear cover is installed after the sealant dries.
    Fig 49: Applying Sealant to Rear Cover
    G01134215Courtesy of MITSUBISHI MOTOR SALES OF AMERICA.
  55. Install the rear cover, and tighten its mounting bolts to the specified torque.

    Tightening torque: 23 +/- 3 N.m (17 +/- 2 ft-lb) 

    NOTE: After installation, keep the sealed area away from the ATF for approximately one hour.
    Fig 50: Installing Rear Cover
    G01134216Courtesy of MITSUBISHI MOTOR SALES OF AMERICA.
  56. Install the underdrive clutch hub to the underdrive sun gear.
    Fig 51: Installing Underdrive Clutch Hub
    G01134217Courtesy of MITSUBISHI MOTOR SALES OF AMERICA.
    CAUTION: Be sure to install the thrust bearing in the correct direction as shown.
  57. Check the installation direction of thrust bearing number 2, and install it on the underdrive clutch hub.
    Fig 52: Installing Thrust Bearing #2
    G01134218Courtesy of MITSUBISHI MOTOR SALES OF AMERICA.
  58. Hold the input shaft, and install the underdrive clutch.
    Fig 53: Installing Underdrive Clutch
    G01134219Courtesy of MITSUBISHI MOTOR SALES OF AMERICA.
  59. Place two beads of solder [each 10 mm (0.39 inch) in length, 3.5 mm (0.14 inch) in diameter] on the underdrive clutch retainer as shown in the illustration.
    Fig 54: Placing Solder On Underdrive Clutch Retainer
    G01134220Courtesy of MITSUBISHI MOTOR SALES OF AMERICA.
  60. Install special tool MD998412 in the illustrated place.
    Fig 55: Identifying Guide (MD998412)
    G01134221Courtesy of MITSUBISHI MOTOR SALES OF AMERICA.
  61. Install the oil pump to the transaxle case.
    NOTE: Do not install the oil pump gasket at this time.
  62. Tighten the oil pump mounting bolts (six pieces) to the specified torque.

    Tightening torque: 23 +/- 3 N.m (17 +/- 2 ft-lb) 

  63. Remove the oil pump mounting bolts.
  64. Using special tools MD998333, remove the oil pump and the crushed solders.
    Fig 56: Identifying Oil Pump Remover (MD998333)
    G01134222Courtesy of MITSUBISHI MOTOR SALES OF AMERICA.
  65. Use a micrometer to measure the thickness of the crushed solder beads and record the measured value.
    Fig 57: Measuring Thickness Of Crushed Solder Beads
    G01134223Courtesy of MITSUBISHI MOTOR SALES OF AMERICA.
  66. Select a thrust washer number 1 whose thickness corresponds to the measured value from table below.
    Fig 58: Selecting Thrust Washer #1
    G01134224Courtesy of MITSUBISHI MOTOR SALES OF AMERICA.
  67. Install thrust washer number 1 that was selected in step  66 on the underdrive clutch retainer.
    Fig 59: Installing Thrust Washer #1
    G01134225Courtesy of MITSUBISHI MOTOR SALES OF AMERICA.
  68. Install special tool MD998412 in the illustrated place.
    Fig 60: Identifying Guide (MD998412)
    G01134226Courtesy of MITSUBISHI MOTOR SALES OF AMERICA.
  69. Install the new oil pump gasket on the transaxle case.
  70. Install the oil pump and tighten the mounting bolts (six pieces) to the specified torque.

    Tightening torque: 23 +/- 3 N.m (17 +/- 2 ft-lb) 

  71. Make sure that the input shaft end play meets the standard value.

    Standard value: 0.70-1.45 mm (0.028-0.057 inch) 

    Fig 61: Measuring End Play
    G01134227Courtesy of MITSUBISHI MOTOR SALES OF AMERICA.
  72. Install the oil filter.
    Fig 62: Installing Oil Filter
    G01134228Courtesy of MITSUBISHI MOTOR SALES OF AMERICA.
  73. Use special tools MB990935 and MB990938 to tap the differential bearing outer race in the transaxle case.
    Fig 63: Identifying Installer Adapter (MB990935) & Handle (MB990938)
    G01134229Courtesy of MITSUBISHI MOTOR SALES OF AMERICA.
  74. Install the differential.
    Fig 64: Installing Differential
    G01134230Courtesy of MITSUBISHI MOTOR SALES OF AMERICA.
  75. Place two beads of solder [each 10 mm (0.39 inch) in length, 3 mm (0.12 inch) in diameter] on the torque converter housing as shown in the illustration.
    Fig 65: Placing 2 Beads Of Solder On Torque Converter
    G01134231Courtesy of MITSUBISHI MOTOR SALES OF AMERICA.
  76. Use special tools MB990935 and MB990938 to press in the differential bearing outer race into the torque converter housing.
    Fig 66: Identifying Installer Adapter (MB990935) & Handle (MB990938)
    G01134232Courtesy of MITSUBISHI MOTOR SALES OF AMERICA.
  77. Install the torque converter housing to the transaxle case without applying sealant. Tighten its mounting bolts to the specified torque.

    Tightening torque: 48 +/- 6 N.m (35 +/- 4 ft-lb) 

    Fig 67: Installing Torque Converter Housing
    G01134233Courtesy of MITSUBISHI MOTOR SALES OF AMERICA.
  78. Loosen all the bolts, and remove the torque converter housing. Then remove the outer race and the crushed solders.
    Fig 68: Measuring Thickness Of Crushed Solder Beads
    G01134234Courtesy of MITSUBISHI MOTOR SALES OF AMERICA.
  79. Use a micrometer to measure the thickness of the crushed solder beads and record the measured value. Add 0.045 to 0.105 mm (0.0018 to 0.0041 inch)* to the measured value and select a spacer with the corresponding thickness. Adjustment spacer sizes are all listed on page P.23B-68. Select the most suitable one from among those listed.
    NOTE: * is the thickness for the differential case preload.
  80. Install the spacer selected in step  79 to the torque converter housing.
  81. Use special tools MB990935 and MB990938 to press the outer race into housing.
    Fig 69: Identifying Installer Adapter (MB990935) & Handle (MB990938)
    G01134235Courtesy of MITSUBISHI MOTOR SALES OF AMERICA.
  82. Apply a 2 mm (0.08 inch) diameter bead of sealant (MITSUBISHI Genuine Part number MD974421 or equivalent) to the torque converter housing in the area shown.
    NOTE: Be sure to install the case quickly while the sealant is wet (with 15 minutes) or leaks will occur if the rear cover is installed after the sealant dries.
    NOTE: After installation, keep the sealed area away from the ATF for approximately one hour.
    Fig 70: Applying Seal to Torque Converter Housing
    G01134236Courtesy of MITSUBISHI MOTOR SALES OF AMERICA.
  83. Install the two O-rings.
    Fig 71: Installing O-Rings
    G01134237Courtesy of MITSUBISHI MOTOR SALES OF AMERICA.
  84. Install the torque converter housing and then tighten its 18 mounting bolts to the specified torque.

    Tightening torque: 48 +/- 6 N.m (35 +/- 4 ft-lb) 

    Fig 72: Installing Torque Converter Housing
    G01134238Courtesy of MITSUBISHI MOTOR SALES OF AMERICA.
  85. Insert the two O-rings into the grooves of the manual control lever shaft.
  86. Install the manual control lever shaft and parking pawl rod.
    Fig 73: Installing Manual Control lever Shaft, Parking Pawl Rod & Manual Control Lever Shaft Roller
    G01134239Courtesy of MITSUBISHI MOTOR SALES OF AMERICA.
  87. Align hole "A" with the groove in the manual control lever shaft. Insert the manual control lever shaft roller into hole "A".
  88. Insert the new seal rings in the grooves of the accumulator pistons.
    NOTE: The piston and seal ring are common parts.
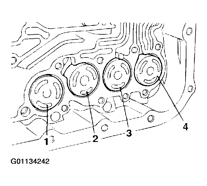
  89. Identify the accumulator spring and insert it and the accumulator piston into each hole of the transaxle case.
    NOTE: Accumulator springs are identified as shown in the illustration.
    Fig 74: Identifying Accumulator Springs & Accumulator Pistons (1 Of 3)
    G01134242Courtesy of MITSUBISHI MOTOR SALES OF AMERICA.
    Fig 75: Identifying Accumulator Springs & Accumulator Pistons (2 Of 3)
    G01134241Courtesy of MITSUBISHI MOTOR SALES OF AMERICA.
    Fig 76: Identifying Accumulator Springs & Accumulator Pistons (3 Of 3)
    G01134240Courtesy of MITSUBISHI MOTOR SALES OF AMERICA.
  90. Install the strainer and second brake retainer oil seal.
    Fig 77: Installing Strainer & Second Brake Retainer Oil Seal
    G01134243Courtesy of MITSUBISHI MOTOR SALES OF AMERICA.
  91. Insert a new O-ring to the groove of the solenoid valve harness connector.
  92. Insert the solenoid valve harness connector into the hole from the inside of the transaxle case so it is oriented as shown in the illustration. Then secure the snap ring to the connector groove.
    Fig 78: Installing Snap Ring
    G01134244Courtesy of MITSUBISHI MOTOR SALES OF AMERICA.
  93. Install a steel ball into each of the two holes in the top face of the valve body (outside valve body).
    Fig 79: Installing Steel Balls
    G01134245Courtesy of MITSUBISHI MOTOR SALES OF AMERICA.
  94. Install the valve body and gasket to the transaxle case. Make sure that the manual valve's pin is in the groove in the detent plate of the manual control lever.
  95. Install the 27 valve body mounting bolts, and tighten to the specified torque.

    Tightening torque: 11 +/- 1 N.m (95 +/- 9 in-lb) 

    Fig 80: Installing Valve Body Mounting Bolts
    G01134246Courtesy of MITSUBISHI MOTOR SALES OF AMERICA.
  96. Attach the solenoid valve harness to the valve body by connecting the fluid temperature sensor and all the connectors.
    Fig 81: Identifying Solenoid Valve Harness Connectors (1 Of 2)
    G01134247Courtesy of MITSUBISHI MOTOR SALES OF AMERICA.
    Fig 82: Identifying Solenoid Valve Harness Connectors (2 Of 2)
    G01134248Courtesy of MITSUBISHI MOTOR SALES OF AMERICA.
  97. Install the manual control shaft detent and tighten the bolt to the specified torque.

    Tightening torque: 6 +/- 1 N.m (52 +/- 9 in-lb) 

    Fig 83: Installing Manual Control Shaft Detent
    G01134249Courtesy of MITSUBISHI MOTOR SALES OF AMERICA.
  98. Apply a 2 mm (0.08 inch) diameter bead of sealant (MITSUBISHI Genuine Part number MD974421 or equivalent) to the valve body cover in the area shown.
    NOTE: Be sure to install the case quickly while the sealant is wet (with 15 minutes) or leaks will occur if the rear cover is installed after the sealant dries.
    NOTE: After installation, keep the sealed area away from the ATF for approximately one hour.
    Fig 84: Applying Sealing To Valve Body Cover
    G01134250Courtesy of MITSUBISHI MOTOR SALES OF AMERICA.
  99. Install the valve body cover, and then tighten its mounting bolts to the specified torque.

    Tightening torque: 11 +/- 1 N.m (95 +/- 9 in-lb) 

    Fig 85: Installing Valve Body Cover
    G01134251Courtesy of MITSUBISHI MOTOR SALES OF AMERICA.
  100. Install the Sealing cap and tighten the bolt to the specified torque.

    Tightening torque: 5 +/- 1 N.m (43 +/- 9 in-lb) 

    Fig 86: Installing Sealing Cap
    G01134252Courtesy of MITSUBISHI MOTOR SALES OF AMERICA.
  101. Install the park/neutral position switch and tighten the bolt to specified torque.

    Tightening torque: 11 +/- 1 N.m (95 +/- 9 in-lb) 

    Fig 87: Installing Park/Neutral Position Switch & Manual Control Lever
    G01134253Courtesy of MITSUBISHI MOTOR SALES OF AMERICA.
  102. Install the manual control lever and tighten the nut to specified torque.

    Tightening torque: 22 +/- 3 N.m (16 +/- 2 ft-lb) 

  103. Install the input shaft speed sensor and output shaft speed sensor and tighten the bolt to the specified torque.

    Tightening torque: 11 +/- 1 N.m (95 +/- 9 in-lb) 

    Fig 88: Installing Input Shaft Speed Sensor & Output Shaft Speed Sensor
    G01134254Courtesy of MITSUBISHI MOTOR SALES OF AMERICA.
  104. Install the oil cooler feed tube together with new gaskets and tighten the eye bolts to the specified torque.

    Tightening torque: 30 +/- 3 N.m (22 +/- 2 ft-lb) 

  105. Tighten the oil cooler feed pipe clamp bolt.

    Tightening torque: 11 +/- 1 N.m (95 +/- 9 in-lb) 

  106. Install the oil dipstick.
  107. Install the cable support bracket.

    Tightening torque: 23 +/- 3 N.m (17 +/- 2 ft-lb) 

    Fig 89: Installing Torque Converter
    G01134255Courtesy of MITSUBISHI MOTOR SALES OF AMERICA.
  108. Install the roll stopper brackets.

    Tightening torque: 69 +/- 10 N.m (51 +/- 7 ft-lb) 

    CAUTION: Apply ATF to the oil pump drive hub before installing the torque converter. Be careful not to damage the oil seal lip when installing the torque converter.
  109. Install the torque converter, and align it with the oil pump so that the shown dimension "A" meets the reference value.

    Reference value: Approximately 12.2 mm (0.48 inch)