lemon-mirror:
Home >> Mitsubishi >> 2007 >> Lancer Automatic >> Repair and Diagnosis >> Electrical >> Component Locations >> Electrical Component Locator >> Component Location Graphics

Component Location Graphics

NOTE: Figures may show multiple component locations. Refer to appropriate table for proper figure references.
Fig 1: Control Units (1 Of 10)
G00270013Courtesy of MITSUBISHI MOTOR SALES OF AMERICA.
Fig 2: Control Units (2 Of 10)
G00270014Courtesy of MITSUBISHI MOTOR SALES OF AMERICA.
Fig 3: Control Units (3 Of 10)
G00270015Courtesy of MITSUBISHI MOTOR SALES OF AMERICA.
Fig 4: Control Units (4 Of 10)
G00270016Courtesy of MITSUBISHI MOTOR SALES OF AMERICA.
Fig 5: Control Units (5 Of 10)
G00270017Courtesy of MITSUBISHI MOTOR SALES OF AMERICA.
Fig 6: Control Units (6 Of 10)
G00270018Courtesy of MITSUBISHI MOTOR SALES OF AMERICA.
Fig 7: Control Units (7 Of 10)
G00270019Courtesy of MITSUBISHI MOTOR SALES OF AMERICA.
Fig 8: Control Units (8 Of 10)
G00270020Courtesy of MITSUBISHI MOTOR SALES OF AMERICA.
Fig 9: Control Units (9 Of 10)
G00270021Courtesy of MITSUBISHI MOTOR SALES OF AMERICA.
Fig 10: Control Units (10 Of 10)
G00422151Courtesy of MITSUBISHI MOTOR SALES OF AMERICA.
Fig 11: Fuse & Fusible Link (1 Of 2)
G00270022Courtesy of MITSUBISHI MOTOR SALES OF AMERICA.
Fig 12: Fuse & Fusible Link (2 Of 2)
G00270024Courtesy of MITSUBISHI MOTOR SALES OF AMERICA.
Fig 13: Grounds (1 Of 15)
G00270026Courtesy of MITSUBISHI MOTOR SALES OF AMERICA.
Fig 14: Grounds (2 Of 15)
G00270027Courtesy of MITSUBISHI MOTOR SALES OF AMERICA.
Fig 15: Grounds (3 Of 15)
G00270028Courtesy of MITSUBISHI MOTOR SALES OF AMERICA.
Fig 16: Grounds (4 Of 15)
G00270029Courtesy of MITSUBISHI MOTOR SALES OF AMERICA.
Fig 17: Grounds (5 Of 15)
G00270030Courtesy of MITSUBISHI MOTOR SALES OF AMERICA.
Fig 18: Grounds (6 Of 15)
G00270031Courtesy of MITSUBISHI MOTOR SALES OF AMERICA.
Fig 19: Grounds (7 Of 15)
G00270032Courtesy of MITSUBISHI MOTOR SALES OF AMERICA.
Fig 20: Grounds (8 Of 15)
G00270033Courtesy of MITSUBISHI MOTOR SALES OF AMERICA.
Fig 21: Grounds (9 Of 15)
G00270034Courtesy of MITSUBISHI MOTOR SALES OF AMERICA.
Fig 22: Grounds (10 Of 15)
G00270036Courtesy of MITSUBISHI MOTOR SALES OF AMERICA.
Fig 23: Grounds (11 Of 15)
G00270039Courtesy of MITSUBISHI MOTOR SALES OF AMERICA.
Fig 24: Grounds (12 Of 15)
G00270038Courtesy of MITSUBISHI MOTOR SALES OF AMERICA.
Fig 25: Grounds (13 Of 15)
G00270040Courtesy of MITSUBISHI MOTOR SALES OF AMERICA.
Fig 26: Grounds (14 Of 15)
G00270041Courtesy of MITSUBISHI MOTOR SALES OF AMERICA.
Fig 27: Grounds (15 Of 15)
G00270042Courtesy of MITSUBISHI MOTOR SALES OF AMERICA.
Fig 28: Grounding Cable
G00270043Courtesy of MITSUBISHI MOTOR SALES OF AMERICA.
Fig 29: Inspection Terminal (1 Of 2)
G00270045Courtesy of MITSUBISHI MOTOR SALES OF AMERICA.
Fig 30: Inspection Terminal (2 Of 2)
G00270046Courtesy of MITSUBISHI MOTOR SALES OF AMERICA.
Fig 31: Other Devices (1 Of 4)
G00270047Courtesy of MITSUBISHI MOTOR SALES OF AMERICA.
Fig 32: Other Devices (2 Of 4)
G00270050Courtesy of MITSUBISHI MOTOR SALES OF AMERICA.
Fig 33: Other Devices (3 Of 4)
G00270051Courtesy of MITSUBISHI MOTOR SALES OF AMERICA.
Fig 34: Other Devices (4 Of 4)
G00270052Courtesy of MITSUBISHI MOTOR SALES OF AMERICA.
Fig 35: Relays (1 Of 2)
G00270053Courtesy of MITSUBISHI MOTOR SALES OF AMERICA.
Fig 36: Relays (2 Of 2)
G00270054Courtesy of MITSUBISHI MOTOR SALES OF AMERICA.
Fig 37: Sensors (1 Of 19)
G00270055Courtesy of MITSUBISHI MOTOR SALES OF AMERICA.
Fig 38: Sensors (2 Of 19)
G00270057Courtesy of MITSUBISHI MOTOR SALES OF AMERICA.
Fig 39: Sensors (3 Of 19)
G00270059Courtesy of MITSUBISHI MOTOR SALES OF AMERICA.
Fig 40: Sensors (4 Of 19)
G00270060Courtesy of MITSUBISHI MOTOR SALES OF AMERICA.
Fig 41: Sensors (5 Of 19)
G00270063Courtesy of MITSUBISHI MOTOR SALES OF AMERICA.
Fig 42: Sensors (6 Of 19)
G00270065Courtesy of MITSUBISHI MOTOR SALES OF AMERICA.
Fig 43: Sensors (7 Of 19)
G00270066Courtesy of MITSUBISHI MOTOR SALES OF AMERICA.
Fig 44: Sensors (8 Of 19)
G00270067Courtesy of MITSUBISHI MOTOR SALES OF AMERICA.
Fig 45: Sensors (9 Of 19)
G00270069Courtesy of MITSUBISHI MOTOR SALES OF AMERICA.
Fig 46: Sensors (10 Of 19)
G00270070Courtesy of MITSUBISHI MOTOR SALES OF AMERICA.
Fig 47: Sensors (11 Of 19)
G00270071Courtesy of MITSUBISHI MOTOR SALES OF AMERICA.
Fig 48: Sensors (12 Of 19)
G00270072Courtesy of MITSUBISHI MOTOR SALES OF AMERICA.
Fig 49: Sensors (13 Of 19)
G00270073Courtesy of MITSUBISHI MOTOR SALES OF AMERICA.
Fig 50: Sensors (14 Of 19)
G00270076Courtesy of MITSUBISHI MOTOR SALES OF AMERICA.
Fig 51: Sensors (15 Of 19)
G00270078Courtesy of MITSUBISHI MOTOR SALES OF AMERICA.
Fig 52: Sensors (16 Of 19)
G00270079Courtesy of MITSUBISHI MOTOR SALES OF AMERICA.
Fig 53: Sensors (17 Of 19)
G00422148Courtesy of MITSUBISHI MOTOR SALES OF AMERICA.
Fig 54: Sensors (18 Of 19)
G00422149Courtesy of MITSUBISHI MOTOR SALES OF AMERICA.
Fig 55: Sensors (19 Of 19)
G00422150Courtesy of MITSUBISHI MOTOR SALES OF AMERICA.
Fig 56: Solenoids & Solenoid Valves (1 Of 5)
G00270080Courtesy of MITSUBISHI MOTOR SALES OF AMERICA.
Fig 57: Solenoids & Solenoid Valves (2 Of 5)
G00270081Courtesy of MITSUBISHI MOTOR SALES OF AMERICA.
Fig 58: Solenoids & Solenoid Valves (3 Of 5)
G00270083Courtesy of MITSUBISHI MOTOR SALES OF AMERICA.
Fig 59: Solenoids & Solenoid Valves (4 Of 5)
G00270085Courtesy of MITSUBISHI MOTOR SALES OF AMERICA.
Fig 60: Solenoids & Solenoid Valves (5 Of 5)
G00270086Courtesy of MITSUBISHI MOTOR SALES OF AMERICA.
Fig 61: Dash Panel
G00270087Courtesy of MITSUBISHI MOTOR SALES OF AMERICA.
Fig 62: Dash Panel
G00270088Courtesy of MITSUBISHI MOTOR SALES OF AMERICA.
Fig 63: Dash Panel
G00270089Courtesy of MITSUBISHI MOTOR SALES OF AMERICA.
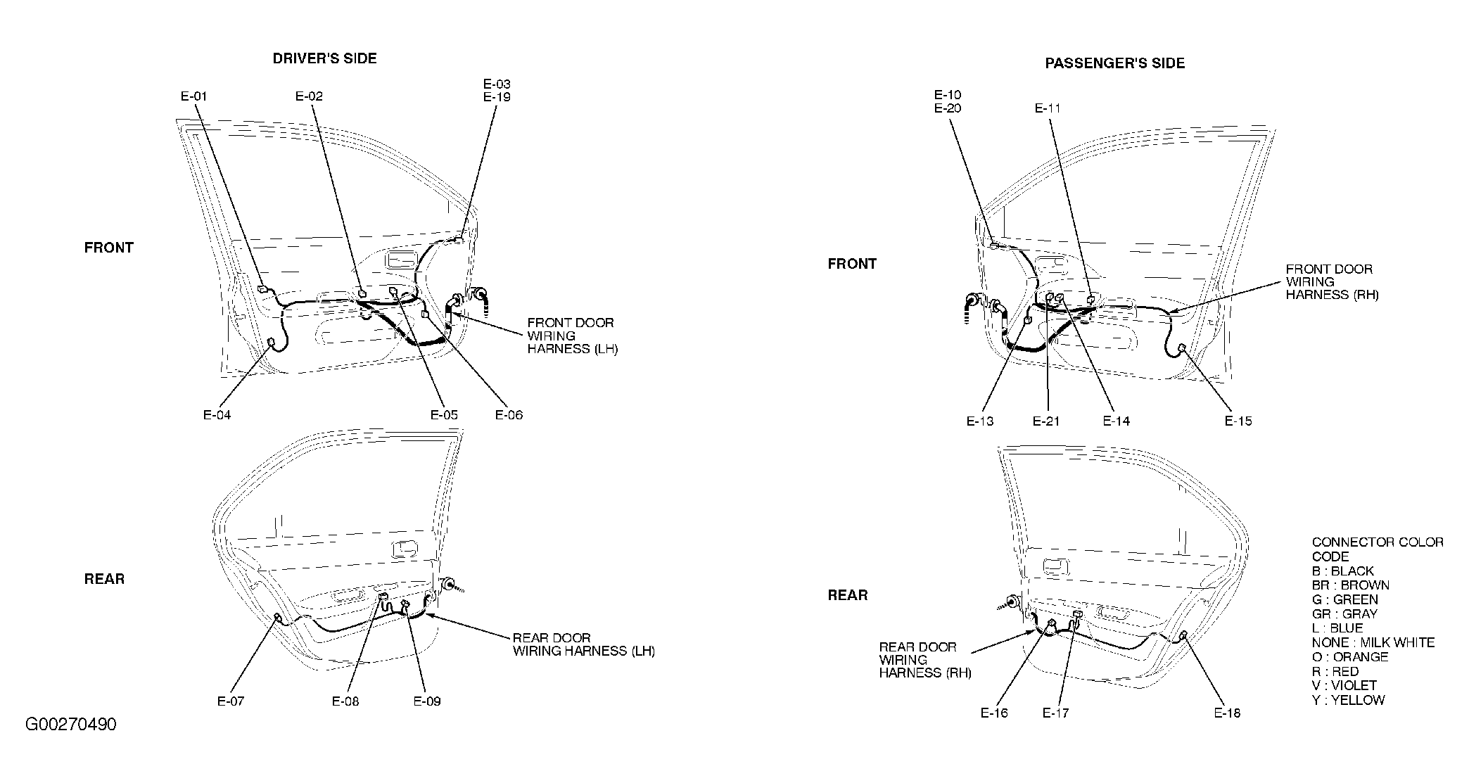
Fig 64: Door
G00270490Courtesy of MITSUBISHI MOTOR SALES OF AMERICA.
Fig 65: Engine & Transaxle
G00270491Courtesy of MITSUBISHI MOTOR SALES OF AMERICA.
Fig 66: Engine & Transaxle
G00270492Courtesy of MITSUBISHI MOTOR SALES OF AMERICA.
Fig 67: Engine Compartment
G00270495Courtesy of MITSUBISHI MOTOR SALES OF AMERICA.
Fig 68: Floor & Roof (1 Of 2)
G00422152Courtesy of MITSUBISHI MOTOR SALES OF AMERICA.
Fig 69: Floor & Roof (2 Of 2)
G00422153Courtesy of MITSUBISHI MOTOR SALES OF AMERICA.
Fig 70: Luggage Compartment
G00270497Courtesy of MITSUBISHI MOTOR SALES OF AMERICA.
Fig 71: Left Side Of Dash
G00422155Courtesy of MITSUBISHI MOTOR SALES OF AMERICA.
Fig 72: Right Side Of Dash
G00422156Courtesy of MITSUBISHI MOTOR SALES OF AMERICA.
Fig 73: Dash Panel
G00270499Courtesy of MITSUBISHI MOTOR SALES OF AMERICA.
Fig 74: Front Doors
G00270501Courtesy of MITSUBISHI MOTOR SALES OF AMERICA.
Fig 75: Engine & Transaxle
G00270502Courtesy of MITSUBISHI MOTOR SALES OF AMERICA.
Fig 76: Engine Compartment
G00422154Courtesy of MITSUBISHI MOTOR SALES OF AMERICA.
Fig 77: Floor & Roof
G00270505Courtesy of MITSUBISHI MOTOR SALES OF AMERICA.
Fig 78: Luggage Compartment
G00270506Courtesy of MITSUBISHI MOTOR SALES OF AMERICA.
Fig 79: Steering Column
G00422157Courtesy of MITSUBISHI MOTOR SALES OF AMERICA.