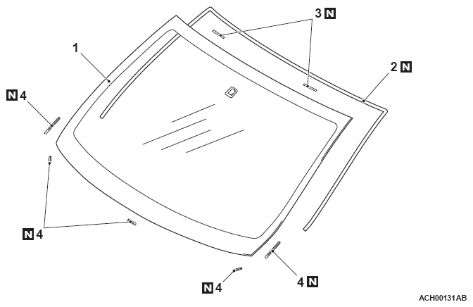
Removal And Installation: Notes
Pre-removal and post-installation operation
- Front Deck Garnish Removal and Installation (Refer to REMOVAL AND INSTALLATION )
- Front Pillar Trim Removal and Installation (Refer to REMOVAL AND INSTALLATION )
- Inside Rear View Mirror Removal and Installation
- FCM/LDW/AHB-ECU Removal and Installation <Vehicles with Forward Collision Mitigation (FCM)> (Refer to REMOVAL AND INSTALLATION )
Required Special Tool:
- MB990480: Glass holder