lemon-mirror:
Home >> Mitsubishi >> 2021 >> Outlander PHEV LE >> Repair and Diagnosis >> Engine Performance >> Fuel Delivery >> Fuel Supply >> Fuel Tank >> Disassembly And Assembly >> <Pump Module>

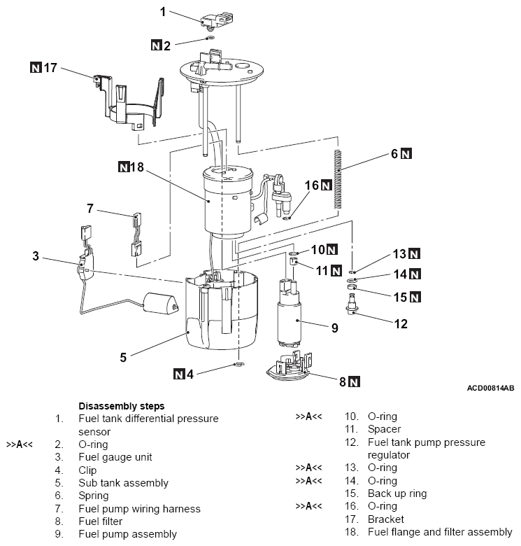
<Pump Module>

NOTE: For installation and removal, refer to FUEL PUMP MODULE REPLACEMENT  .
G13782560Courtesy of MITSUBISHI MOTOR SALES OF AMERICA.