lemon-mirror:
Home >> Mitsubishi >> 2023 >> Outlander PHEV ES >> Repair and Diagnosis >> Electrical >> Body Electrical >> Power Control System >> System Description >> System >> Relay Control System >> System Description >> System Diagram

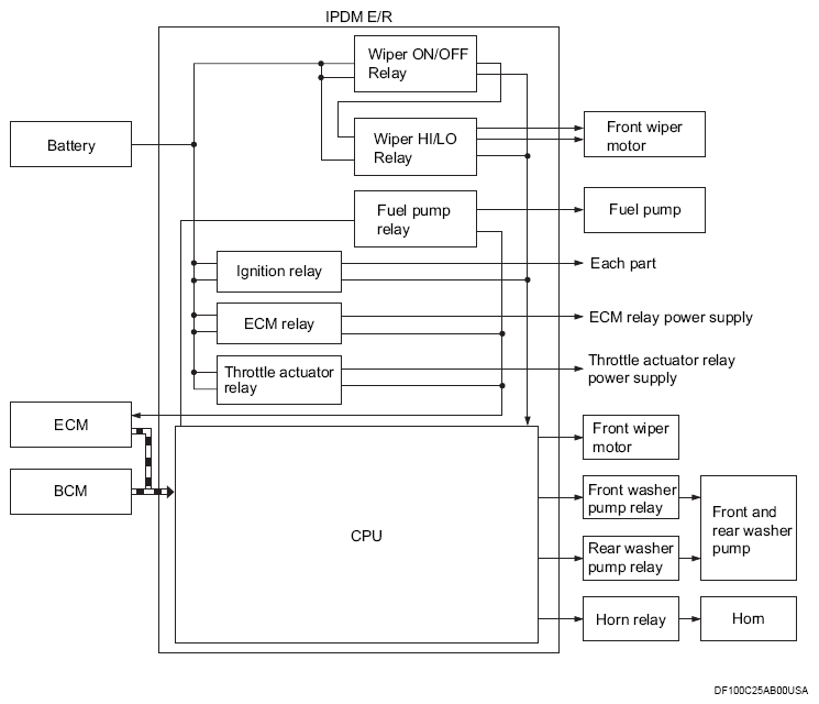
System Diagram

G16316616Courtesy of MITSUBISHI MOTOR SALES OF AMERICA.