lemon-mirror:
Home >> Mitsubishi >> 2024 >> Outlander SEL, FWD >> Repair and Diagnosis >> Engine Performance >> System >> Engine Control System >> System Description - Component Parts >> System >> Engine Warning >> System Description >> Timing Chart

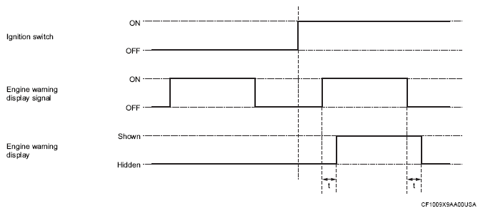
Timing Chart

G16071093Courtesy of MITSUBISHI MOTOR SALES OF AMERICA.
t : 100 ms