lemon-mirror:
Home >> Nissan-Datsun >> 1985 >> Sentra SE, Automatic >> Repair and Diagnosis >> Engine Performance >> System >> Fuel Injection System - Diesel >> Testing >> Glow Plug System >> Dropping Resistor

Dropping Resistor

Turn ignition off. Unplug dropping resistor harness connector. Resistance should be 0.1 ohm. If not, replace unit.

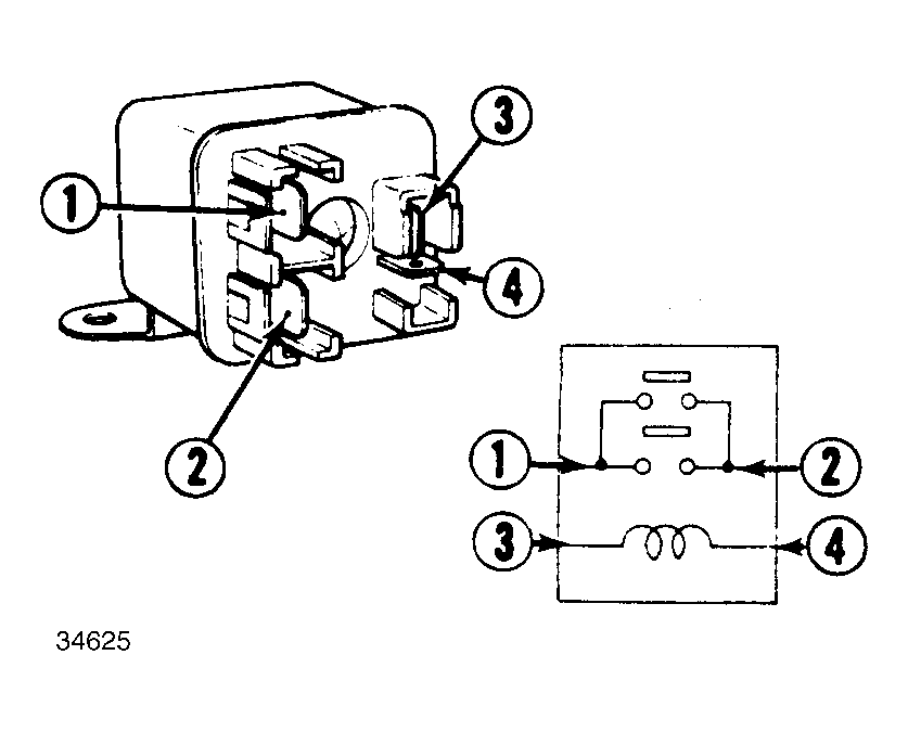
Fig 1: Glow Plug Relay Test Points
G34625