lemon-mirror:
Home >> Nissan-Datsun >> 1994 >> Sentra SE-R, Automatic >> Repair and Diagnosis >> Electrical >> Component Locations >> Electrical Component Locator >> Control Units

Control Units

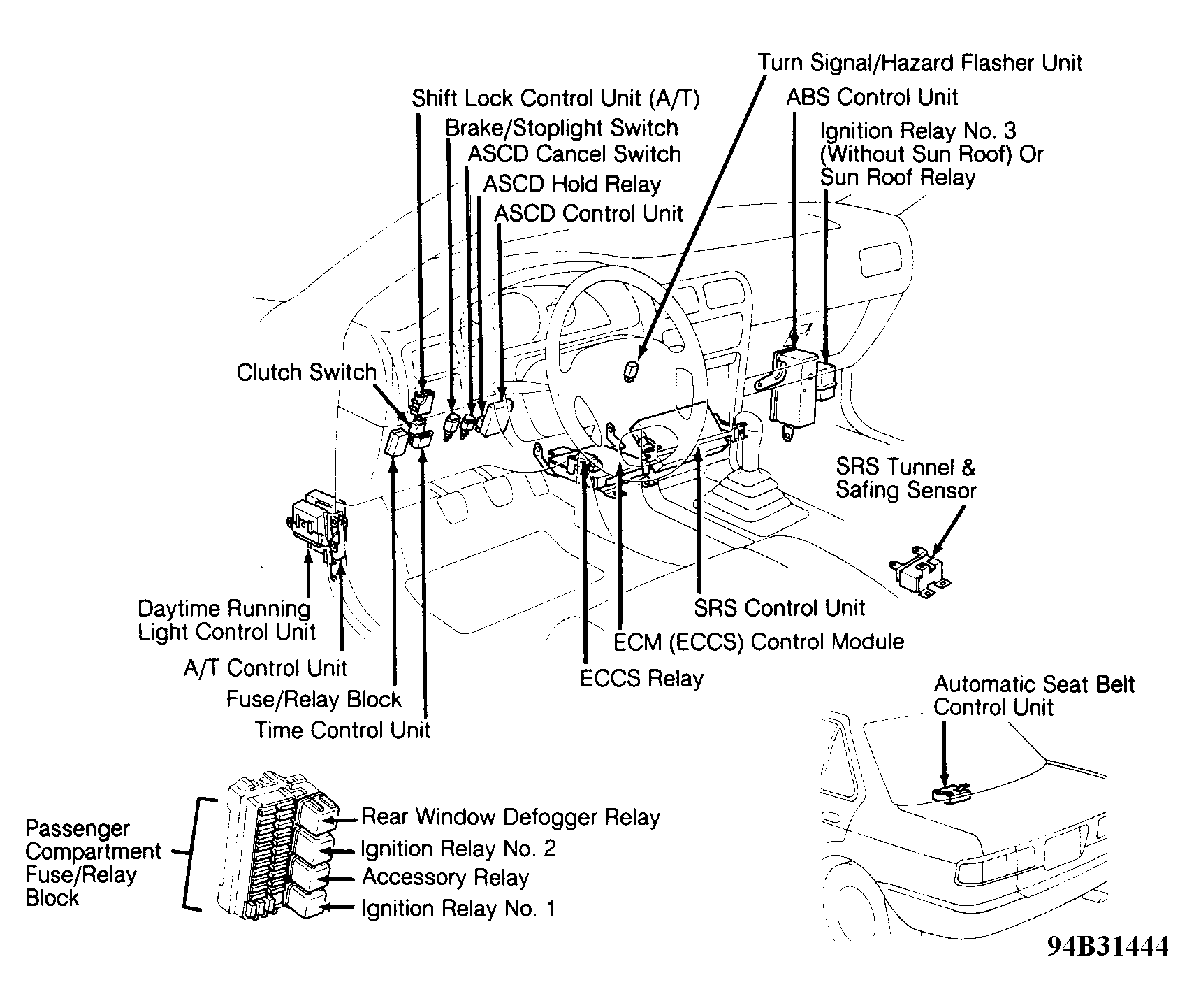
CONTROL UNITS LOCATION

Component Location
ABS Control Unit Under right side of dash. See Figure .
ASCD Control Unit Behind left side of dash. See Figure .
A/T Control Unit Behind left kick panel. See Figure .
Automatic Seat Belt Control Unit Under center of rear package tray. See Figure .
Daytime Running Light Control Unit Behind left kick panel. See Figure .
ECM (ECCS) Control Module Under center of dash. See Figure .
Shift Lock Control Unit (A/T) Behind left side of dash, above clutch pedal. See Figure .
SRS Control Unit Under center of dash. See Figure .
Time Control Unit Behind left side of dash. See Figure .