lemon-mirror:
Home >> Nissan-Datsun >> 2002 >> Sentra SE-R, Automatic >> Repair and Diagnosis >> External Pages >> Different car >> Section 1054 (Rear Window Defogger) >> Rear Window Defogger >> Filament Check

Filament Check

WARNING: This page is about a different car, the 2004 Nissan Quest. However, it is still accessible from the selected car via links, so may be relevant.
  1. When measuring voltage, wrap tin foil around the top of the negative probe. Then press the foil against the wire with your finger.
    Fig 1: Pressing Foil Against Wire
    G03500238Courtesy of NISSAN MOTOR CO., U.S.A.
  2. Attach probe circuit tester (in Volt range) to middle portion of each filament.
    Fig 2: Attaching Probe Circuit Tester To Middle Portion Of Each Filament
    G03500239Courtesy of NISSAN MOTOR CO., U.S.A.
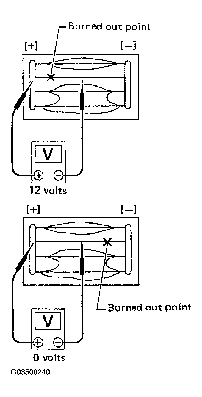
  3. If a filament is burned out, circuit tester registers 0 or battery voltage.
  4. To locate burned out point, move probe to left and right along filament. Test needle will swing abruptly when probe passes the point.
Fig 3: Checking Filament
G03500240Courtesy of NISSAN MOTOR CO., U.S.A.