lemon-mirror:
Home >> Nissan-Datsun >> 2002 >> Sentra SE-R, Automatic >> Repair and Diagnosis >> External Pages >> Different car >> Section 1253 (Brake Control System) >> VDC/TCS/Abs >> System Description >> System Components

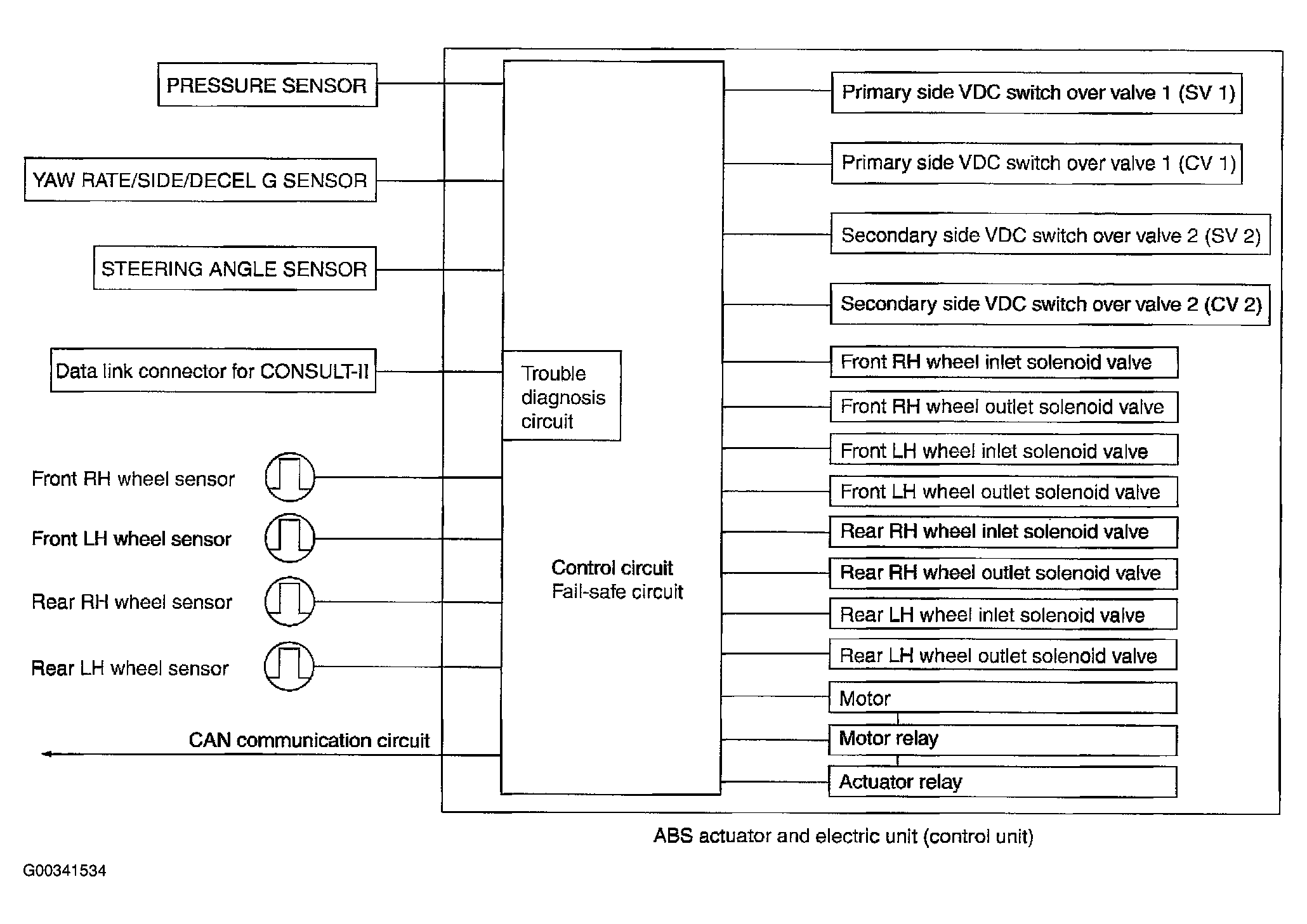
System Components

WARNING: This page is about a different car, the 2004 Nissan Maxima. However, it is still accessible from the selected car via links, so may be relevant.
Fig 1: Identifying System Components
G00341534Courtesy of NISSAN MOTOR CO., U.S.A.