lemon-mirror:
Home >> Nissan-Datsun >> 2002 >> Sentra SE-R, Automatic >> Repair and Diagnosis >> External Pages >> Different car >> Section 1436 (Engine Cooling System) >> Cooling System >> System Chart

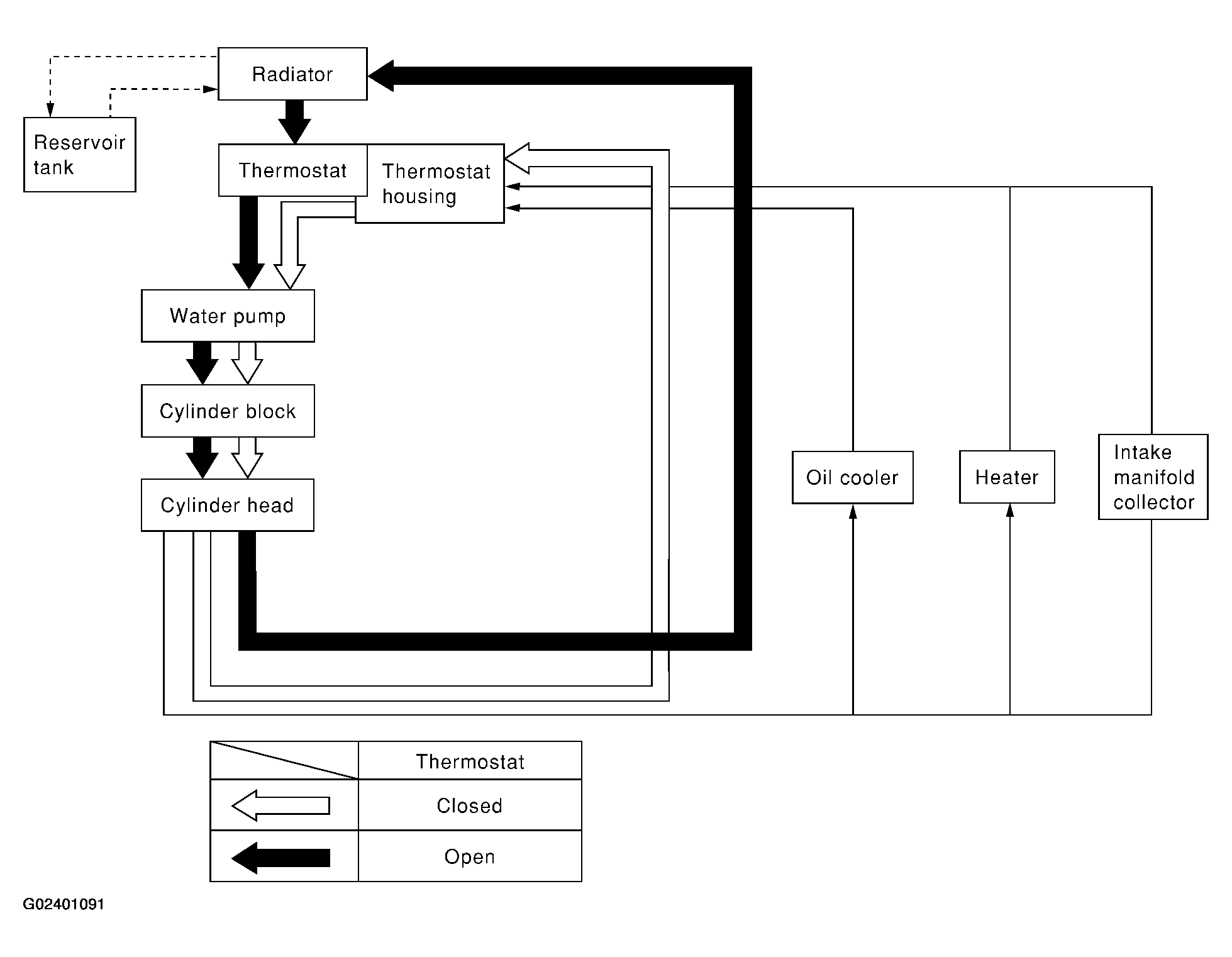
System Chart

WARNING: This page is about a different car, the 2005 Nissan 350Z. However, it is still accessible from the selected car via links, so may be relevant.
Fig 1: Cooling System Chart
G02401091Courtesy of NISSAN MOTOR CO., U.S.A.