lemon-mirror:
Home >> Nissan-Datsun >> 2002 >> Sentra SE-R, Automatic >> Repair and Diagnosis >> External Pages >> Different car >> Section 1863 (Engine Lubrication System) >> Lubrication System >> System Chart

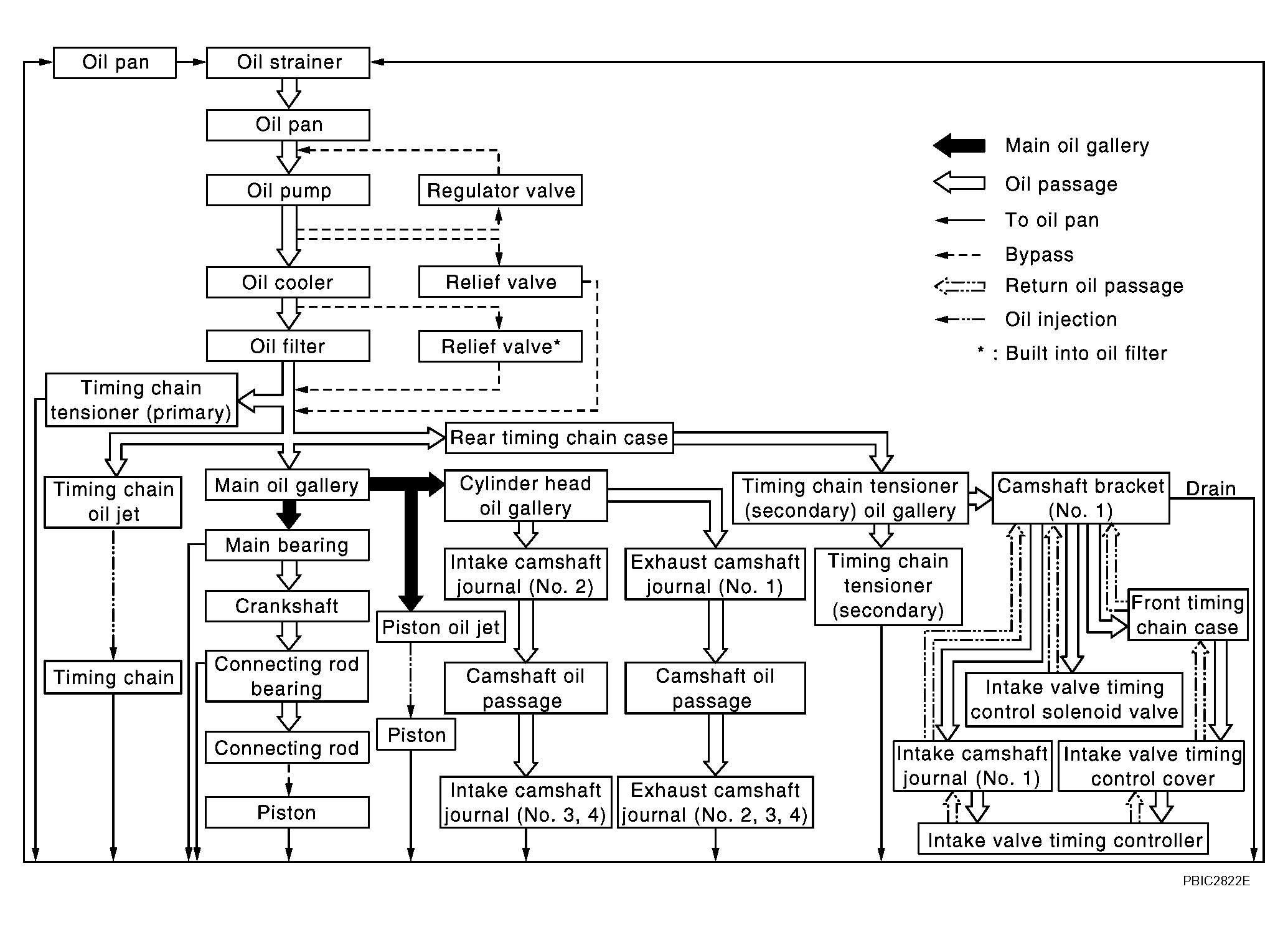
System Chart

WARNING: This page is about a different car, the 2006 Nissan Xterra. However, it is still accessible from the selected car via links, so may be relevant.
Fig 1: System Chart
G04202418Courtesy of NISSAN MOTOR CO., U.S.A.