lemon-mirror:
Home >> Nissan-Datsun >> 2002 >> Sentra SE-R, Automatic >> Repair and Diagnosis >> External Pages >> Different car >> Section 366 (Transfer Case) >> 4WD System >> System Diagram

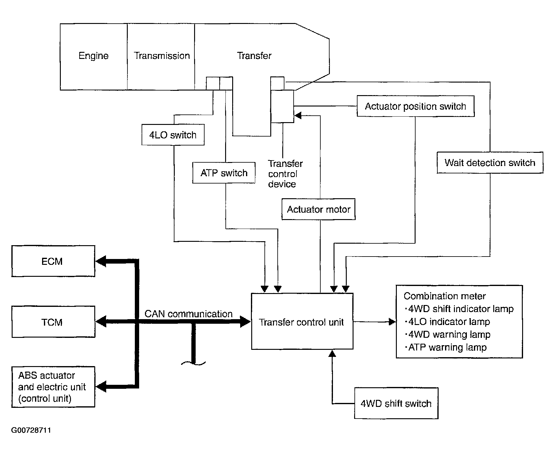
System Diagram

WARNING: This page is about a different car, the 2004 Nissan Titan. However, it is still accessible from the selected car via links, so may be relevant.
Fig 1: 4WD System Diagram
G00728711Courtesy of NISSAN MOTOR CO., U.S.A.