lemon-mirror:
Home >> Nissan-Datsun >> 2002 >> Sentra SE-R, Automatic >> Repair and Diagnosis >> External Pages >> Different car >> Section 706 (Body Control Module - Coupe) >> BCM (Body Control Module) >> System Description >> Combination Switch Reading Function

Combination Switch Reading Function

WARNING: This page is about a different car, the 2003 Infiniti G35. However, it is still accessible from the selected car via links, so may be relevant.
  1. Description:
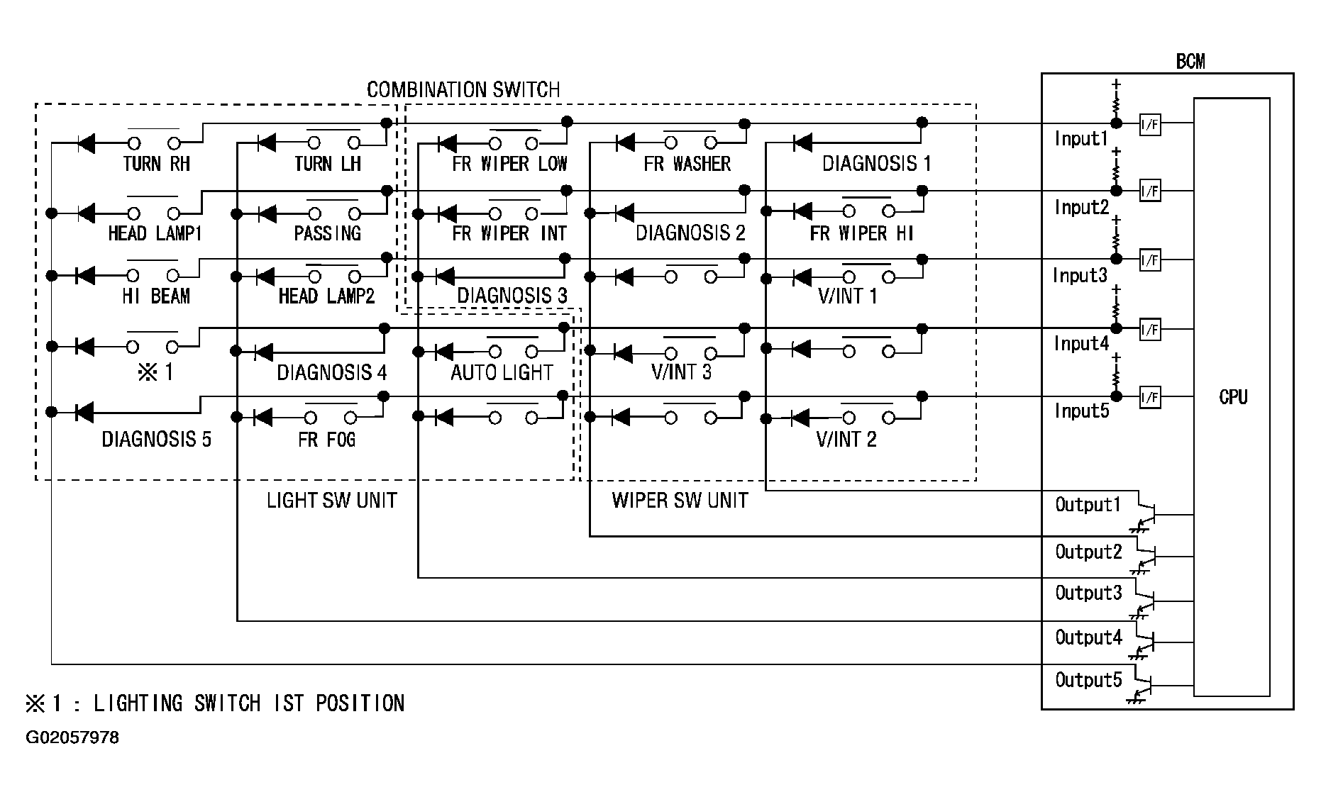
    • BCM reads combination switch (light, wiper washer, turn signal) status, and controls various electrical components according to the results.
    • BCM reads information of 20 switches and 5 diagnostic results by combining five output terminals (OUTPUT 1-5) and five input terminals (INPUT 1 - 5).
  2. Operation:
    • BCM outputs battery voltage from input terminals (INPUT 1 - 5) all the time. At the same time output terminals (OUTPUT 1 - 5) activate transistors in turn, and allow current to flow. At this time, if any (1 or more) of the switches are ON, the input terminals corresponding to these switches detect current flow, and the interface of BCM detects the condition. Then BCM judges switches are ON.
      Fig 1: Identifying Combination Switch Circuit Diagram
      G02057978Courtesy of NISSAN MOTOR CO., U.S.A.
  3. BCM - Operation table of combination switches
    • BCM reads operation status of combination switches by the combination shown in the table.
      Fig 2: Identifying Combination Switches Operation Status Table
      G02057979Courtesy of NISSAN MOTOR CO., U.S.A.
    NOTE: Dual switches are set for head lamps.
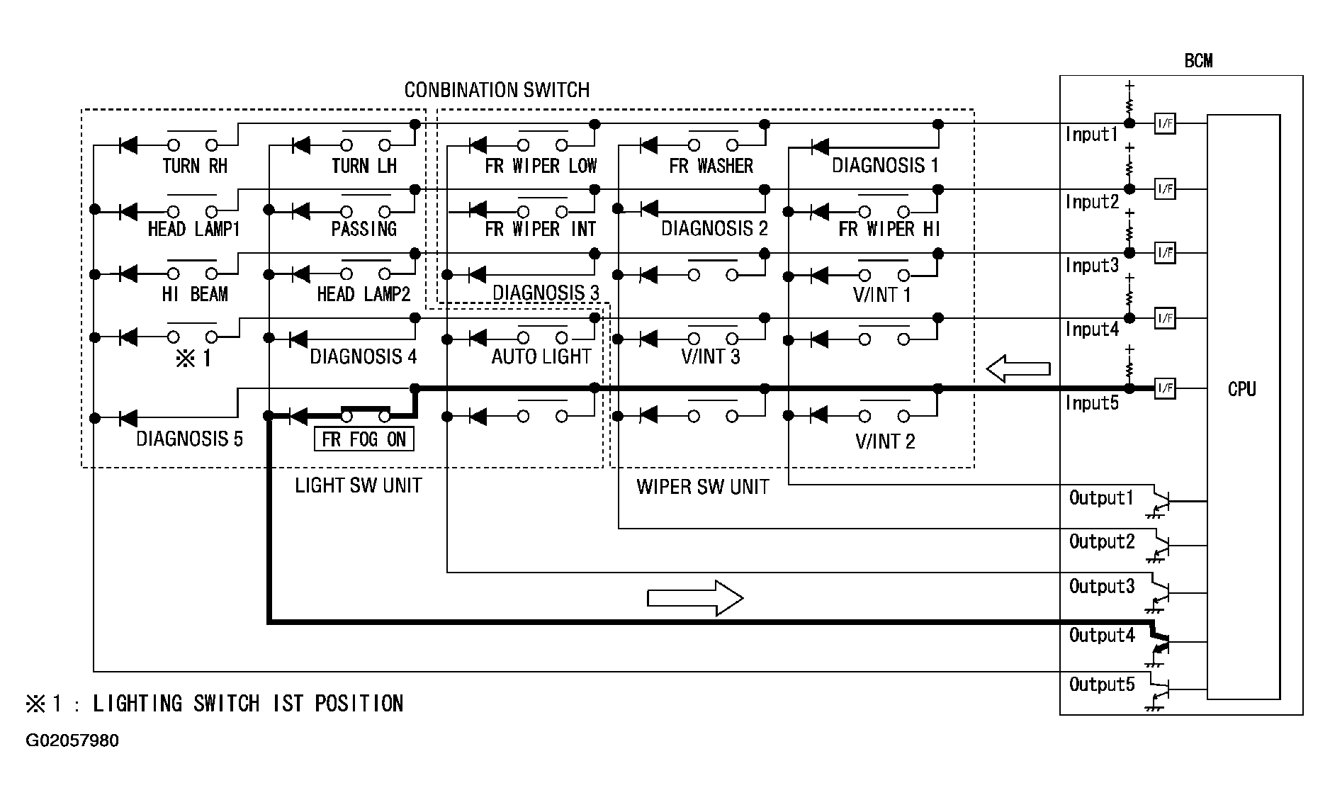
  4. Example (When fog lamp switch is turned ON)
    • When fog lamp switch is turned ON, contact in combination switch turns ON. At this time if OUTPUT 4 transistor is activated, BCM detects current flow in INPUT 5.
    • When OUTPUT 4 transistor is ON, BCM detects current flow in INPUT 5, and judges fog lamp switch is ON. Then BCM sends fog lamp ON signal to IPDM E/R using CAN communication.
    • When OUTPUT 4 transistor is activated again, BCM detects current flow in INPUT 5, and confirms fog lamp switch is continuously ON.
      Fig 3: Identifying Combination Switch Circuit Diagram - Fog Lamp Switch On
      G02057980Courtesy of NISSAN MOTOR CO., U.S.A.
    NOTE: Each OUTPUT terminal transistor is activated at 10 ms intervals. Therefore, after a switch is turned ON, the electrical loads are activated with a time delay, but this time delay is so short that it cannot be noticed.
  5. Operation mode:
    • Combination switch reading function has operation modes shown below.
      1. Normal mode:
        • When BCM is not in sleep mode, each OUTPUT (1 - 5) terminal turns ON-OFF at 10 ms intervals.
      2. Sleep mode:
        • When BCM is in sleep mode, transistors of OUTPUT 1 and 2 stop the output, and BCM enters low-current-consumption mode. OUTPUTS (3 - 5) turn ON-OFF at 60 ms intervals, and receive lighting switch input only.
        Fig 4: Identifying Operation Modes
        G02057981Courtesy of NISSAN MOTOR CO., U.S.A.