lemon-mirror:
Home >> Nissan-Datsun >> 2003 >> Altima SE, Standard >> Repair and Diagnosis >> Engine Performance >> Testing & Diagnosis >> Accelerator Control System >> Accelerator Control System >> Removal And Installation

Removal And Installation

  1. Disconnect the accelerator position sensor electrical connector.
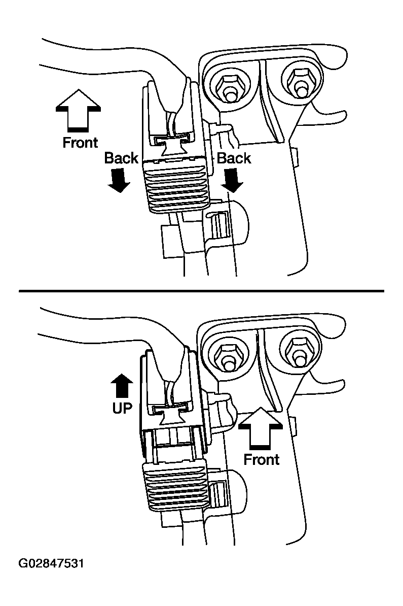
    1. Pull the connector lock back to unlock the connector from the accelerator pedal position sensor as shown.
    2. Pull up on the connector to disconnect it from the accelerator pedal position sensor as shown.
      Fig 1: Pulling Connector Lock Back To Unlock Connector From Accelerator Pedal
      G02847531Courtesy of NISSAN MOTOR CO., U.S.A.
  2. Remove the upper and lower accelerator pedal nuts.
    Fig 2: Removing Upper And Lower Accelerator Pedal Nuts
    G02847532Courtesy of NISSAN MOTOR CO., U.S.A.
  3. Remove the accelerator pedal and accelerator position sensor assembly.
    • For electrical inspection of the accelerator pedal position sensor. Refer to ACCELERATOR PEDAL POSITION SENSOR .
      CAUTION:
      • Do not disassemble the pedal assembly. Do not remove the accelerator pedal position sensor from the pedal assembly.
      • Avoid impact from dropping during handling.
      • Keep the pedal assembly away from water.
  4. Installation should be performed in the reverse procedure of removal.
    • Check the accelerator pedal for smooth operation. There should be no binding or sticking when applying or releasing the accelerator pedal.
      Fig 3: Installing Upper And Lower Accelerator Pedal Nuts
      G02847533Courtesy of NISSAN MOTOR CO., U.S.A.
    • Check that the accelerator pedal moves through the full specified distance of pedal travel.

      Pedal travel A: 52.6 - 58.2 mm (2.07 - 2.29 in) 

      Fig 4: Identifying Pedal Moves Specified Distance Of Pedal Travel
      G02847534Courtesy of NISSAN MOTOR CO., U.S.A.
      CAUTION: When the harness connector of the accelerator pedal position sensor is disconnected, perform the "Accelerator pedal released position learning". Refer to ACCELERATOR PEDAL RELEASED POSITION LEARNING .