lemon-mirror:
Home >> Nissan-Datsun >> 2003 >> Sentra SE-R, Automatic >> Repair and Diagnosis >> External Pages >> Different car >> Section 1112 (Brake Control System) >> VCD/TCS/Abs >> System Description >> System Diagram

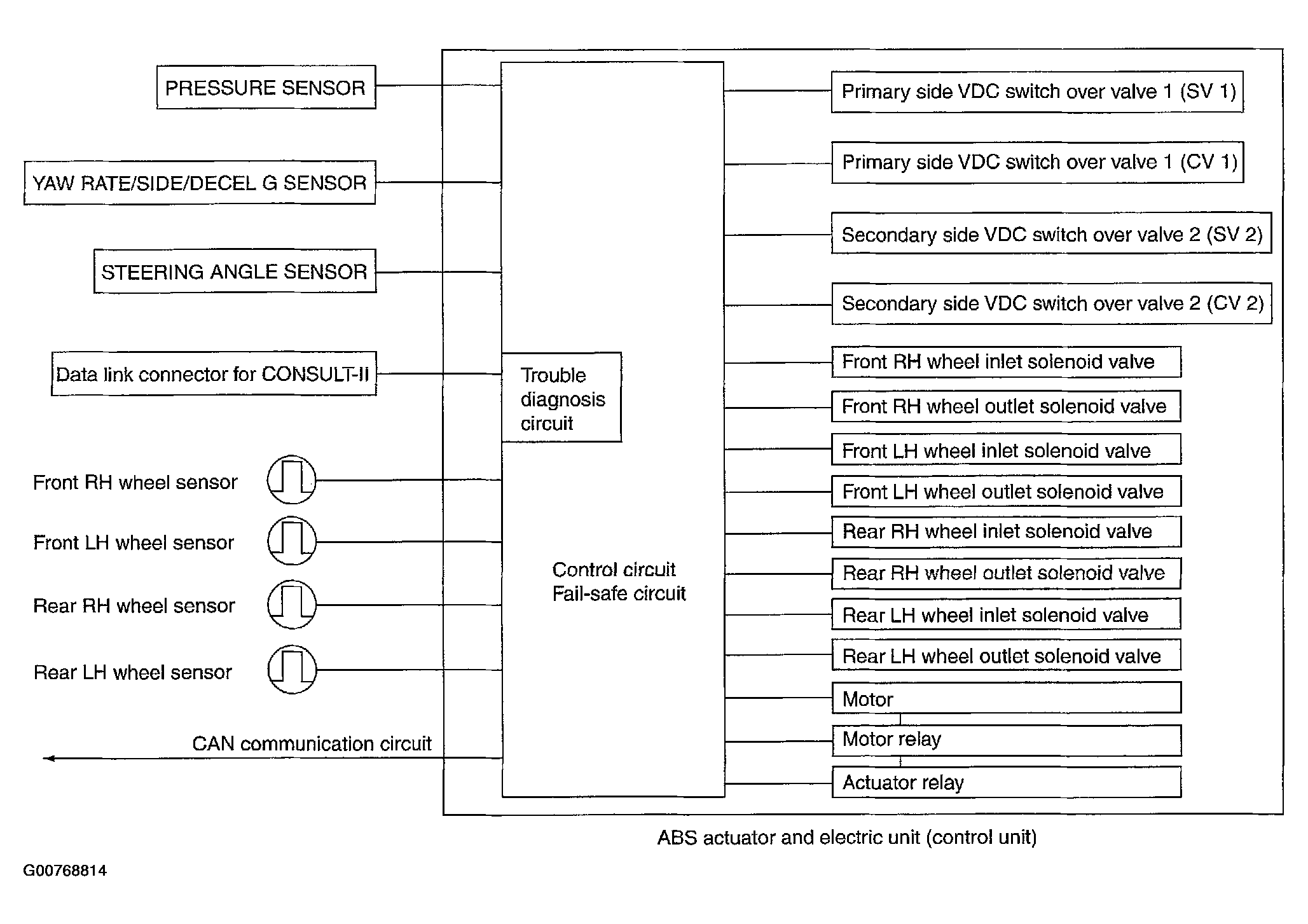
System Diagram

WARNING: This page is about a different car, the 2004 Nissan Murano. However, it is still accessible from the selected car via links, so may be relevant.
Fig 1: System Diagram
G00768814Courtesy of NISSAN MOTOR CO., U.S.A.